TOP
|
特許
|
意匠
|
商標
特許ウォッチ
Twitter
他の特許を見る
公開番号
2025159944
公報種別
公開特許公報(A)
公開日
2025-10-22
出願番号
2024062832
出願日
2024-04-09
発明の名称
移動式什器
出願人
株式会社オカムラ
代理人
個人
主分類
E04B
2/74 20060101AFI20251015BHJP(建築物)
要約
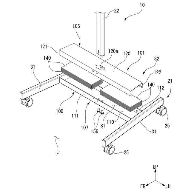
【課題】外観の体裁を維持した上で、箱部材の組付性を向上させることができる移動式什器を提供する。
【解決手段】本発明の一態様に係る移動式什器は、キャスタを介して床面上を走行可能な箱部材と、箱部材の内部空間に収容された錘と、を備えている。箱部材は、上方を向く載置面が形成された底壁を有する底部材と、載置面を上方から覆うとともに、底壁との間に内部空間を形成する天壁、及び天壁に接続された状態で、天壁から内部空間内を下方に向けて延びる接続部を有する蓋部材と、底壁及び天壁の少なくとも一方に形成されて内部空間の側方を仕切る側壁と、底壁を上下方向に貫通するとともに、接続部に固定された固定部材と、を備えている。
【選択図】図6
特許請求の範囲
【請求項1】
キャスタを介して床面上を走行可能な箱部材と、
前記箱部材の内部空間に収容された錘と、を備え、
前記箱部材は、
上方を向く載置面が形成された底壁を有する底部材と、
前記載置面を上方から覆うとともに、前記底壁との間に前記内部空間を形成する天壁、及び前記天壁に接続された状態で、前記天壁から前記内部空間内を下方に向けて延びる接続部を有する蓋部材と、
前記底壁及び前記天壁の少なくとも一方に形成されて前記内部空間の側方を仕切る側壁と、
前記底壁を上下方向に貫通するとともに、前記接続部に固定された固定部材と、を備えている移動式什器。
続きを表示(約 700 文字)
【請求項2】
前記接続部は、上方に開口する収容部を備え、
前記蓋部材には、前記天壁を上下方向に貫通するとともに、前記収容部内に連通する貫通孔が形成され、
前記貫通孔を通じて前記箱部材内に挿入されるとともに、前記箱部材から上方に延びる支柱を備え、
前記支柱は、前記固定部材によって前記接続部とともに前記底壁に固定されている請求項1に記載の移動式什器。
【請求項3】
前記固定部材は、ねじであり、
前記固定部材は、前記底壁及び前記接続部を貫通した状態で前記支柱の下端部に締め付けられている請求項2に記載の移動式什器。
【請求項4】
前記底部材は、前記底壁のうち、少なくとも上下方向に交差する第1方向の両端縁から上方に延びる前記側壁としての一対の底側壁を備え、
前記蓋部材は、前記天壁における前記第1方向の両端縁から下方に延びるとともに、対応する前記底側壁に前記第1方向の内側同士又は外側同士で向かい合う前記側壁としての蓋側壁と、を備えている請求項1から請求項3の何れか1項に記載の移動式什器。
【請求項5】
複数のパネルを有し、複数の前記パネルのうち隣り合う前記パネル同士が上下方向に沿う軸線回りに互いに回転可能に連結されたパネルモジュールを備え、
前記パネルモジュールは、隣り合う前記パネルのパネル面同士を向かい合わせた折り畳み状態、及び前記折り畳み状態に対して前記パネル面同士のなす角度が拡大した展開状態の間を切替可能に前記箱部材に設けられている請求項1から請求項3の何れか1項に記載の移動式什器。
発明の詳細な説明
【技術分野】
【0001】
本発明は、移動式什器に関する。
続きを表示(約 1,800 文字)
【背景技術】
【0002】
パーティション等、床面上を走行可能な移動式什器においては、キャスタが取り付けられる脚部に錘が内蔵された構成が開示されている(例えば、下記特許文献1参照)。
【先行技術文献】
【特許文献】
【0003】
特表2013-525638号公報
【発明の概要】
【発明が解決しようとする課題】
【0004】
しかしながら、従来技術にあっては、脚部の外観の体裁を維持した上で、脚部の内部に錘を収容した状態での脚部の組付性について、未だ改善の余地があった。
【0005】
本発明は、外観の体裁を維持した上で、箱部材の組付性を向上させることができる移動式什器を提供する。
【課題を解決するための手段】
【0006】
上記課題を解決するために、本発明は以下の態様を採用した。
(1)本発明の一態様に係る移動式什器は、キャスタを介して床面上を走行可能な箱部材と、前記箱部材の内部空間に収容された錘と、を備え、前記箱部材は、上方を向く載置面が形成された底壁を有する底部材と、前記載置面を上方から覆うとともに、前記底壁との間に前記内部空間を形成する天壁、及び前記天壁に接続された状態で、前記天壁から前記内部空間内を下方に向けて延びる接続部を有する蓋部材と、前記底壁及び前記天壁の少なくとも一方に形成されて前記内部空間の側方を仕切る側壁と、前記底壁を上下方向に貫通するとともに、前記接続部に固定された固定部材と、を備えている。
【0007】
本態様によれば、錘が箱部材内において底壁、天壁及び側壁によって囲まれるため、箱部材内で錘が安定して保持される。この場合、底部材が蓋部材によって上方から覆われているので、移動式什器が横転した際等であっても、錘が箱部材から脱落することを抑制できる。
特に、底壁を上下方向に貫通する固定部材によって、天壁から下方に延びる接続部と底壁とを固定するため、箱部材の上面や側面に底壁及び天壁を固定するための固定部材が露出することを抑制できる。これにより、箱部材としての外観の体裁を維持した上で、底部材及び蓋部材同士を安定して組み付けることができる。
【0008】
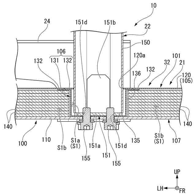
(2)上記(1)の態様に係る移動式什器において、前記接続部は、上方に開口する収容部を備え、前記蓋部材には、前記天壁を上下方向に貫通するとともに、前記収容部内に連通する貫通孔が形成され、前記貫通孔を通じて前記箱部材内に挿入されるとともに、前記箱部材から上方に延びる支柱を備え、前記支柱は、前記固定部材によって前記接続部とともに前記底壁に固定されていることが好ましい。
本態様によれば、固定部材によって支柱が接続部及び底壁に固定されることで、支柱を箱部材に固定するにあたって、固定部材とは別の部材を用いる必要がない。これにより、支柱及び箱部材同士、並びに底部材及び蓋部材同士を同一の固定部材によって固定することができるので、部品点数の削減や組付性の向上を図ることができる。また、箱部材の外面に露出する固定部材の数を低減できるので、外観の体裁を向上させることができる。
【0009】
(3)上記(2)の態様に係る移動式什器において、前記固定部材は、ねじであり、前記固定部材は、前記底壁及び前記接続部を貫通した状態で前記支柱の下端部に締め付けられていることが好ましい。
本態様によれば、安価な構成で、底壁及び接続部とともに支柱を固定できる。
【0010】
(4)上記(1)から(3)の何れかの態様に係る移動式什器において、前記底部材は、前記底壁のうち、少なくとも上下方向に交差する第1方向の両端縁から上方に延びる前記側壁としての一対の底側壁を備え、前記蓋部材は、前記天壁における前記第1方向の両端縁から下方に延びるとともに、対応する前記底側壁に前記第1方向の内側同士又は外側同士で向かい合う前記側壁としての蓋側壁と、を備えていることが好ましい。
本態様によれば、底側壁が対応する蓋側壁に対して前後方向の外側又は内側から向かい合う。この場合、対応する底側壁及び蓋側壁同士が前後方向に接触することで、底部材及び蓋部材の第1方向における相対移動を規制できる。これにより、組付性の更なる向上を図ることが可能となる。
(【0011】以降は省略されています)
この特許をJ-PlatPat(特許庁公式サイト)で参照する
関連特許
株式会社オカムラ
椅子
8日前
株式会社オカムラ
椅子
8日前
株式会社オカムラ
移動式什器
1か月前
株式会社オカムラ
什器、什器システム
8日前
株式会社オカムラ
作業用什器および什器システム
8日前
株式会社オカムラ
椅子用荷重支持部材、及び、椅子
8日前
株式会社オカムラ
什器システム
1日前
個人
接合構造
2か月前
個人
屋台
2か月前
個人
タッチミー
2か月前
個人
転落防止用手摺
3か月前
個人
安心補助てすり
1か月前
個人
筋交自動設定装置
2か月前
積水樹脂株式会社
柵体
3か月前
個人
ベンリナアングル
2か月前
個人
免震建築構造
7日前
個人
防災建築物
1か月前
株式会社フジタ
合成床
7日前
個人
住宅の省エネ方法
3日前
株式会社シンケン
住宅
1か月前
個人
身体用シェルター
2か月前
個人
身体用シェルター
2か月前
株式会社大林組
接合構造
1か月前
株式会社熊谷組
木質材料
2か月前
株式会社熊谷組
床構成材
2か月前
個人
可搬型供養墓
2か月前
三協立山株式会社
構造体
2か月前
三協立山株式会社
構造体
1か月前
三協立山株式会社
構造体
1か月前
三協立山株式会社
構造体
2か月前
三協立山株式会社
構造体
1か月前
三協立山株式会社
構造体
2か月前
三協立山株式会社
構造体
2か月前
三協立山株式会社
構造体
2か月前
イワブチ株式会社
組立柱
3か月前
三協立山株式会社
構造体
2か月前
続きを見る
他の特許を見る