TOP
|
特許
|
意匠
|
商標
特許ウォッチ
Twitter
他の特許を見る
10個以上の画像は省略されています。
公開番号
2025176634
公報種別
公開特許公報(A)
公開日
2025-12-04
出願番号
2024082918
出願日
2024-05-21
発明の名称
作業用什器および什器システム
出願人
株式会社オカムラ
代理人
個人
主分類
A47B
83/02 20060101AFI20251127BHJP(家具;家庭用品または家庭用設備;コーヒーひき;香辛料ひき;真空掃除機一般)
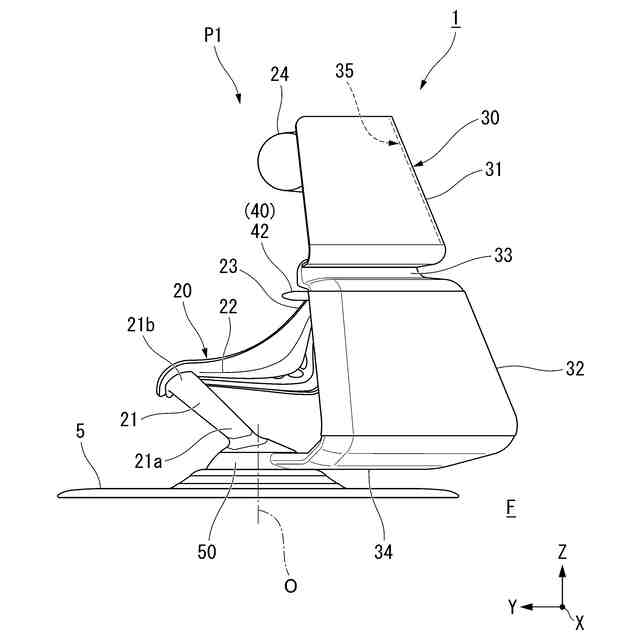
要約
【課題】隣接する人とのコミュニケーションを好適に行うことができ、作業用什器としての使い勝手を良好にできる作業用什器および什器システムを提供する。
【解決手段】回動可能な椅子20と、椅子20の周囲の一部に形成され、椅子20の周囲を回動可能な遮蔽部材30と、遮蔽部材30と椅子20との間にあり、遮蔽部材30と共に移動可能な天板40(作業領域R)と、を備え、遮蔽部材30は、椅子20の回動中心を中心として回動可能に設けられ、天板40は、遮蔽部材30に設けられる。
【選択図】図1
特許請求の範囲
【請求項1】
回動可能な椅子と、
前記椅子の周囲の一部に形成され、前記椅子の周囲を回動可能な遮蔽部材と、
前記遮蔽部材と前記椅子との間にあり、前記遮蔽部材と共に移動可能な作業領域と、
を備える作業用什器。
続きを表示(約 750 文字)
【請求項2】
前記遮蔽部材は、前記椅子の回動中心を中心として回動可能に設けられる、請求項1に記載の作業用什器。
【請求項3】
前記作業領域は、前記遮蔽部材に設けられる、請求項1に記載の作業用什器。
【請求項4】
前記椅子は、リクライニング可能であり、
前記遮蔽部材は、前記椅子のリクライニングに連動して傾斜する、請求項1に記載の作業用什器。
【請求項5】
前記椅子は、前記椅子が前記遮蔽部材に対して正対するときにリクライニングする、請求項4に記載の作業用什器。
【請求項6】
前記作業領域には、前記遮蔽部材に固定され、前記椅子に座る利用者が視認可能な表示装置が設けられる、請求項1乃至5のいずれか1項に記載の作業用什器。
【請求項7】
前記作業領域は、什器または作業の操作を行うための第1天板と、前記第1天板と高さの異なる作業用を行うための第2天板と、を備える、請求項1乃至5のいずれか1項に記載の作業用什器。
【請求項8】
前記椅子及び前記遮蔽部材は、床面に設置されるベース部材に支持部を介して鉛直軸回りに回転可能に支持され、
前記支持部は、
前記ベース部材と前記椅子とを支持する第1回動支持部と、
前記ベース部材と前記遮蔽部材とを支持する第2回動支持部と、を備え、
前記第2回動支持部は、前記第1回動支持部の外周側に設けられる、請求項1乃至5のいずれか1項に記載の作業用什器。
【請求項9】
請求項1に記載の前記作業用什器を複数配置した什器システムであって、
複数の前記作業用什器の前記椅子の回転中心が同一円上に配置される什器システム。
発明の詳細な説明
【技術分野】
【0001】
本発明は、作業用什器および什器システムに関するものである。
続きを表示(約 1,500 文字)
【背景技術】
【0002】
従来から、オフィスや公共施設、研究施設 等における室内空間において、例えば、湾曲パネルに覆われた空間内に、天板、ディスプレイ等を備える作業部位と回転可能な椅子とを備えた作業用什器が知られている(例えば、特許文献1参照)。
【先行技術文献】
【特許文献】
【0003】
特開2002-320525号公報
【発明の概要】
【発明が解決しようとする課題】
【0004】
しかしながら、上記の特許文献1に示すような従来の作業用什器では、利用者が一人で集中して作業を行うことには適しているものの、隣接した場所に居る人との間での会話がし難いという問題があった。そのため、隣接した場所に居る人と簡単な打合せを行う場合には作業用什器から離れる必要があり、天板上の資料、ディスプレイに表示した資料などをすぐに参照することが困難になる等、作業用什器としての使い勝手が悪くなることから、その点で改善の余地があった。
【0005】
そこで、本発明は、上記事情に鑑みてなされたものであり、隣接する人とのコミュニケーションを好適に行うことができ、作業用什器としての使い勝手を良好にできる作業用什器および什器システムを提供する。
【課題を解決するための手段】
【0006】
上記目的を達成するために、本発明は以下の手段を採用している。
(1)本発明に係る作業用什器の態様1は、回動可能な椅子と、前記椅子の周囲の一部に形成され、前記椅子の周囲を回動可能な遮蔽部材と、前記遮蔽部材と前記椅子との間にあり、前記遮蔽部材と共に移動可能な作業領域と、を備えることを特徴としている。
【0007】
本発明に係る作業用什器では、椅子と、作業領域を有する遮蔽部材とをそれぞれ個別に回動させることができる。そのため、利用者が隣接した場所に居る人と会話したい場合は、遮蔽部材又は椅子を回動させて遮蔽部材が形成されていない方向を相手の人の方向に合わせるとともに、椅子を相手の人の方に向くように配置することで、容易に会話することができる。このとき、椅子を回動させて遮蔽部材に設けられる作業領域側を向く動作だけで、例えば作業領域にある資料等を容易に参照することができる。例えば、椅子から離れて相手の居る位置に移動したりする手間がなくなり、作業効率を向上させることができる。また、本発明では、遮蔽部材又は椅子を回動させて椅子を遮蔽部材が形成されている方向に向けることで、遮蔽部材により視界が遮られるため、作業に集中しやすくなる。
このように、本発明では、隣接する人とのコミュニケーションを好適に行うことができ、作業用什器としての使い勝手を良好なものとすることができる。
【0008】
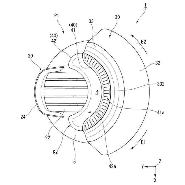
(2)本発明の態様2は、態様1の作業用什器において、前記遮蔽部材は、前記椅子の回動中心を中心として回動可能に設けられることが好ましい。
【0009】
このように構成された作業用什器では、椅子と遮蔽部材とが共通の回動中心回りに周回するので、それぞれの回動支持部を同軸上で共通する部位に設けることができる。そのため、遮蔽部材と椅子が同心円上で周回することから、周回させたときに互いの干渉を避けることができ、コンパクトな構成を実現できる。また、回動支持部を簡単な構成にすることがき、作業用什器として良好な使い勝手となる。
【0010】
(3)本発明の態様3は、態様1又は態様2の作業用什器において、前記作業領域は、前記遮蔽部材に設けられることが好ましい。
(【0011】以降は省略されています)
この特許をJ-PlatPat(特許庁公式サイト)で参照する
関連特許
株式会社オカムラ
椅子
4か月前
株式会社オカムラ
椅子
5か月前
株式会社オカムラ
椅子
4か月前
株式会社オカムラ
椅子
今日
株式会社オカムラ
椅子
今日
株式会社オカムラ
台車
3か月前
株式会社オカムラ
台車
3か月前
株式会社オカムラ
什器
5か月前
株式会社オカムラ
台車
3か月前
株式会社オカムラ
収納装置
2か月前
株式会社オカムラ
収納装置
2か月前
株式会社オカムラ
収納装置
2か月前
株式会社オカムラ
収納装置
2か月前
株式会社オカムラ
天板付什器
2か月前
株式会社オカムラ
防水板装置
2か月前
株式会社オカムラ
天板付什器
3か月前
株式会社オカムラ
天板付什器
3か月前
株式会社オカムラ
天板付什器
2か月前
株式会社オカムラ
移動式什器
1か月前
株式会社オカムラ
什器システム
2か月前
株式会社オカムラ
収納ボックス
2か月前
株式会社オカムラ
管理システム
3か月前
株式会社オカムラ
ショーケース
3か月前
株式会社オカムラ
天板昇降式什器
3か月前
株式会社オカムラ
空間形成用什器
2か月前
株式会社オカムラ
天板昇降式什器
2か月前
株式会社オカムラ
天板昇降式什器
2か月前
株式会社オカムラ
移動間仕切装置
2か月前
株式会社オカムラ
パーティション
1か月前
株式会社オカムラ
パーティション
1か月前
株式会社オカムラ
移動間仕切装置
2か月前
株式会社オカムラ
モバイルバッテリ
2か月前
株式会社オカムラ
故障予知システム
2か月前
株式会社オカムラ
オフィス収納装置
2か月前
株式会社オカムラ
電力供給システム
1か月前
株式会社オカムラ
間仕切パネル装置
2か月前
続きを見る
他の特許を見る