TOP
|
特許
|
意匠
|
商標
特許ウォッチ
Twitter
他の特許を見る
10個以上の画像は省略されています。
公開番号
2025139954
公報種別
公開特許公報(A)
公開日
2025-09-29
出願番号
2024039064
出願日
2024-03-13
発明の名称
天板付什器
出願人
株式会社オカムラ
代理人
個人
主分類
A47B
13/08 20060101AFI20250919BHJP(家具;家庭用品または家庭用設備;コーヒーひき;香辛料ひき;真空掃除機一般)
要約
【課題】要望に応じて天板の態様を簡易な方法で変更できる天板付什器を提供する。
【解決手段】本発明の一態様に係る天板付什器は、上方を向く支持面、支持面から上方に立ち上がる位置決め面を有する第1作業面が形成されたベース天板と、第1作業面に対して材料、色及び質感の少なくとも一つが異なるとともに、上方を向く第2作業面を有するオプション天板と、を備えている。オプション天板がベース天板から取り外された第1態様と、オプション天板が第1作業面上に載置された第2態様と、に切替可能である。第2態様において、オプション天板は、位置決め面に当接することで、ベース天板に対する移動が規制される。
【選択図】図1
特許請求の範囲
【請求項1】
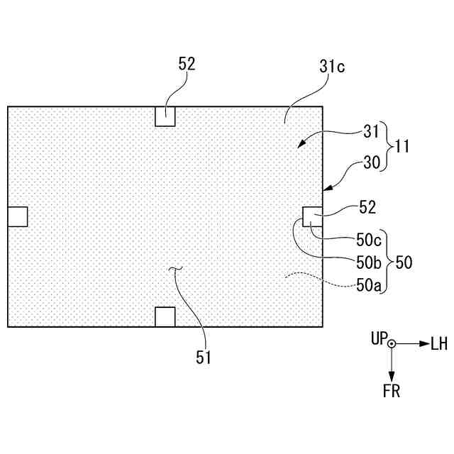
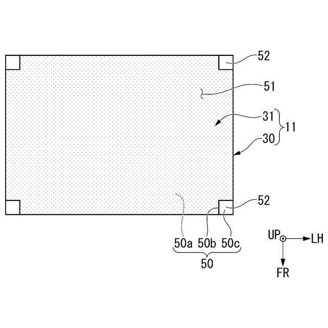
上方を向く支持面、前記支持面から上方に立ち上がる位置決め面を有する第1作業面が形成されたベース天板と、
前記第1作業面に対して材料、色及び質感の少なくとも一つが異なるとともに、上方を向く第2作業面を有するオプション天板と、を備え、
前記オプション天板が前記ベース天板から取り外された第1態様と、
前記オプション天板の下面のうち少なくとも一部が前記支持面に支持された状態で、前記オプション天板が前記第1作業面上に載置された第2態様と、に切替可能であり、
前記第2態様において、前記オプション天板は、上下方向に交差する交差方向で前記位置決め面に当接することで、前記ベース天板に対する前記交差方向の移動が規制される天板付什器。
続きを表示(約 560 文字)
【請求項2】
材料、色及び質感の少なくとも一つが互いに異なる複数の前記オプション天板を備え、
前記第2態様では、複数の前記オプション天板の中から、少なくとも一つの前記オプション天板が選択的に前記第1作業面上に載置可能である請求項1に記載の天板付什器。
【請求項3】
前記位置決め面は、前記支持面の外周縁全周から上方に立ち上がっている請求項1又は請求項2に記載の天板付什器。
【請求項4】
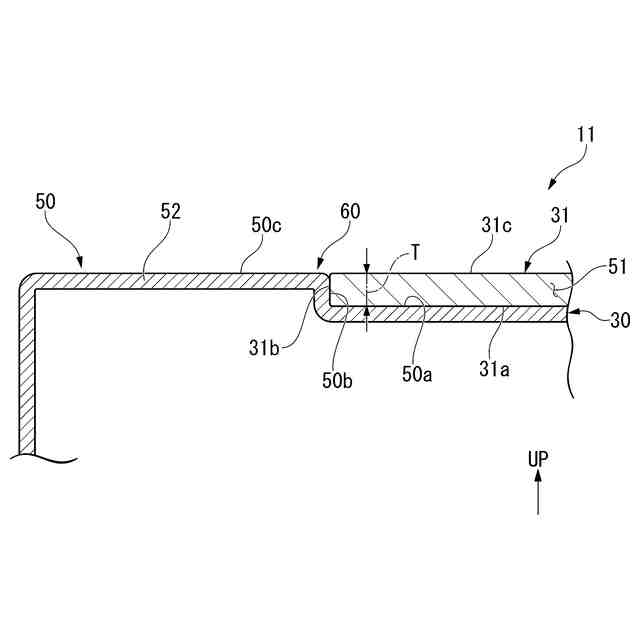
前記第1作業面は、前記位置決め面の上端から前記支持面と離れる向きに延びるとともに、上方を向く膨出面を備えている請求項1又は請求項2に記載の天板付什器。
【請求項5】
前記位置決め面は、前記支持面の外周縁全周から上方に立ち上がり、
前記膨出面は、前記位置決め面の全周に連なるとともに、上下方向から見て前記支持面の周囲を取り囲む枠状に形成されている請求項4に記載の天板付什器。
【請求項6】
前記第2態様において、前記第2作業面と前記膨出面とが同じ高さに配置される請求項4に記載の天板付什器。
【請求項7】
前記第2態様において、前記オプション天板の下面全体は、前記支持面に下方から支持されている請求項1又は請求項2に記載の天板付什器。
発明の詳細な説明
【技術分野】
【0001】
本発明は、天板付什器に関する。
続きを表示(約 2,000 文字)
【背景技術】
【0002】
オフィスや公共施設等の各種施設には、使用者に作業面を提供するための天板付什器が設けられている(例えば、下記特許文献1参照)。天板付什器は、床面上に接地する支持構造体と、上方を向く作業面を有し、支持構造体に下方から支持された天板と、を備えている。
【先行技術文献】
【特許文献】
【0003】
特許第7272929号
【発明の概要】
【発明が解決しようとする課題】
【0004】
ところで、天板付什器にあっては、作業用途や施設環境、使用者の気分等に合わせて天板の態様を変更したいという要望がある。
しかしながら、従来の天板付什器において、天板の態様を変更するには、天板自体を丸ごと変更する必要があり、製造コストの増加に繋がるという課題があった。また、天板は支持構造体に対してねじ留めや溶接等の手段によって固定されていることから、使用途中に天板を交換することは、交換作業の煩雑さ等から難しかった。
【0005】
本発明は、要望に応じて天板の態様を簡易な方法で変更できる天板付什器を提供する。
【課題を解決するための手段】
【0006】
上記課題を解決するために、本発明は以下の態様を採用した。
(1)本発明の一態様に係る天板付什器は、上方を向く支持面、前記支持面から上方に立ち上がる位置決め面を有する第1作業面が形成されたベース天板と、前記第1作業面に対して材料、色及び質感の少なくとも一つが異なるとともに、上方を向く第2作業面を有するオプション天板と、を備え、前記オプション天板が前記ベース天板から取り外された第1態様と、前記オプション天板の下面のうち少なくとも一部が前記支持面に支持された状態で、前記オプション天板が前記第1作業面上に載置された第2態様と、に切替可能であり、前記第2態様において、前記オプション天板は、上下方向に交差する交差方向で前記位置決め面に当接することで、前記ベース天板に対する前記交差方向の移動が規制される。
【0007】
本態様によれば、ベース天板の第1作業面上に、材料、色及び質感の少なくとも一つをベース天板(第1作業面)と異ならせたオプション天板を載置することで、使用者の要望に応じた作業面を有する天板付什器を提供できる。この場合、天板全体を変更することなく、簡便な作業によって天板の態様を変更することができる。また、ベース天板及び支持構造体自体を共通部材として用いつつ、オプション天板のみの変更によって天板付什器の態様を変更できるので、環境貢献に配慮した製品を低コストで提供することができる。
特に、オプション天板は、上下方向に交差する交差方向で位置決め面に当接することで、ベース天板に対する移動が規制されるため、第2態様において、ベース天板に対するオプション天板の位置ずれを抑制できる。これにより、第2態様におけるオプション天板の使い勝手を向上させることができる。
【0008】
(2)上記(1)の態様に係る天板付什器において、材料、色及び質感の少なくとも一つが互いに異なる複数の前記オプション天板を備え、前記第2態様では、複数の前記オプション天板の中から、少なくとも一つの前記オプション天板が選択的に前記第1作業面上に載置可能であることが好ましい。
本態様によれば、第2態様において、複数種類のオプション天板の中から選択したオプション天板を第1作業面上に載置できるので、使用者の要望をより適切に反映し易い。また、使用者側で複数種類のオプション天板を確保している場合には、例えばその日の気分や施設内のレイアウト変更等に応じて適宜オプション天板を手軽に交換することも可能である。
【0009】
(3)上記(1)又は(2)の態様に係る天板付什器において、前記位置決め面は、前記支持面の外周縁全周から上方に立ち上がっていることが好ましい。
本態様によれば、ベース天板に対するオプション天板の位置決めを前後方向及び左右方向の双方向で行うことができる。これにより、オプション天板の位置ずれを抑制し、使い勝手を向上させることができる。
【0010】
(4)上記(1)から(3)の何れかの態様に係る天板付什器において、前記第1作業面は、前記位置決め面の上端から前記支持面と離れる向きに延びるとともに、上方を向く膨出面を備えていることが好ましい。
本態様によれば、例えば第2態様で天板付什器を使用する際に、膨出面と第2作業面を共用作業面として膨出面及び第2作業面全体を作業に使用することが可能である。また、共用作業面のうち、膨出面で行う作業と、第2作業面で行う作業と、を作業用途等に応じて異ならせることができる。その結果、使い勝手を向上させることができる。
(【0011】以降は省略されています)
この特許をJ-PlatPat(特許庁公式サイト)で参照する
関連特許
株式会社オカムラ
収納装置
23日前
株式会社オカムラ
収納装置
23日前
株式会社オカムラ
収納装置
23日前
株式会社オカムラ
収納装置
23日前
株式会社オカムラ
防水板装置
24日前
株式会社オカムラ
天板付什器
13日前
株式会社オカムラ
天板付什器
13日前
株式会社オカムラ
什器システム
23日前
株式会社オカムラ
収納ボックス
23日前
株式会社オカムラ
空間形成用什器
25日前
株式会社オカムラ
天板昇降式什器
23日前
株式会社オカムラ
天板昇降式什器
23日前
株式会社オカムラ
天板昇降式什器
1か月前
株式会社オカムラ
移動間仕切装置
16日前
株式会社オカムラ
移動間仕切装置
16日前
株式会社オカムラ
モバイルバッテリ
13日前
株式会社オカムラ
オフィス収納装置
23日前
株式会社オカムラ
故障予知システム
17日前
株式会社オカムラ
電力供給システム
2日前
株式会社オカムラ
間仕切パネル装置
17日前
株式会社オカムラ
天板付什器、什器システム
13日前
株式会社オカムラ
天板付什器、什器システム
13日前
株式会社オカムラ
什器ユニットおよび天板付什器
13日前
株式会社オカムラ
天板付き什器、及び、什器ユニット
13日前
株式会社オカムラ
空間形成什器ユニット、及び、空間形成什器
1か月前
株式会社オカムラ
制御装置、収納システム、端末装置及びプログラム
23日前
株式会社オカムラ
制御装置、収納システム、端末装置及びプログラム
23日前
株式会社オカムラ
椅子
6日前
株式会社オカムラ
椅子
1か月前
株式会社オカムラ
ブース
12日前
株式会社オカムラ
ブース
12日前
株式会社オカムラ
ブースおよびブース組立方法
5日前
個人
椅子
1か月前
個人
家具
3か月前
個人
自助箸
5か月前
個人
掃除機
7か月前
続きを見る
他の特許を見る