TOP
|
特許
|
意匠
|
商標
特許ウォッチ
Twitter
他の特許を見る
公開番号
2025152785
公報種別
公開特許公報(A)
公開日
2025-10-10
出願番号
2024054858
出願日
2024-03-28
発明の名称
電力供給システム
出願人
株式会社オカムラ
代理人
個人
主分類
G06Q
50/06 20240101AFI20251002BHJP(計算;計数)
要約
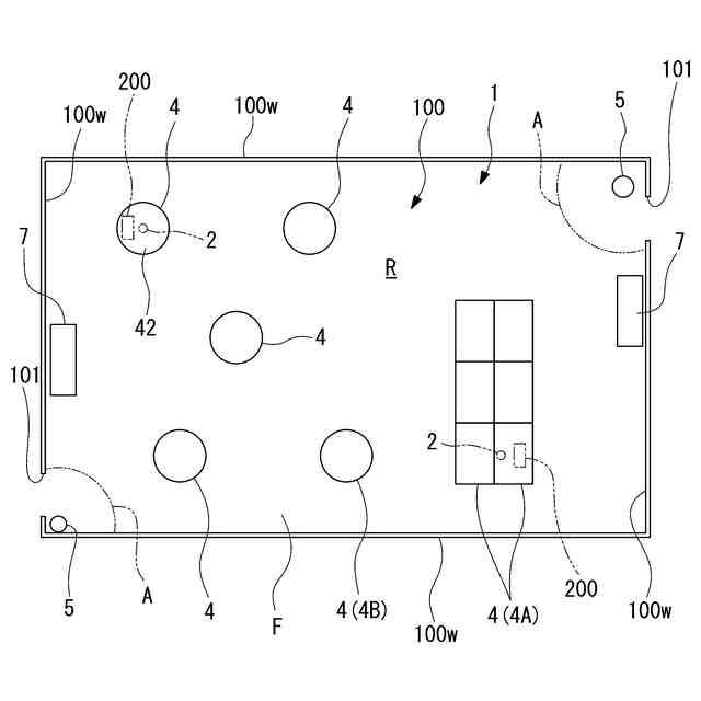
【課題】可搬式蓄電装置が外部に持ち出されてしまうのを抑えることができる電力供給システムを提供する。
【解決手段】電力供給システムは、施設内に設定された管理区域内に配置され、管理区域内で利用される電気機器に対して電力供給可能な2次電池を備えた、可搬性を有する蓄電装置と、蓄電装置に装着され、外部に無線通信により信号を出力可能な無線通信ユニットと、管理区域の出入口近傍に設けられ、無線通信可能な範囲内で無線通信ユニットからの信号を受信した場合、信号を受信したことを示す情報を出力するゲート装置と、管理区域内で、ゲート装置の無線通信可能な範囲外に配置され、蓄電装置の2次電池を充電可能な充電装置と、を備える。
【選択図】図1
特許請求の範囲
【請求項1】
施設内に設定された管理区域内に配置され、前記管理区域内で利用される電気機器に対して電力供給可能な2次電池を備えた、可搬性を有する蓄電装置と、
前記蓄電装置に装着され、外部に無線通信により信号を出力可能な無線通信ユニットと、
前記管理区域の出入口近傍に設けられ、無線通信可能な範囲内で前記無線通信ユニットからの前記信号を受信した場合、前記信号を受信したことを示す情報を出力するゲート装置と、
前記管理区域内で、前記ゲート装置の無線通信可能な前記範囲外に配置され、前記蓄電装置の前記2次電池を充電可能な充電装置と、を備える
電力供給システム。
続きを表示(約 890 文字)
【請求項2】
前記管理区域内で、前記ゲート装置の無線通信可能な前記範囲外に配置され、前記蓄電装置、および前記電気機器を利用可能な利用什器、をさらに備える
請求項1に記載の電力供給システム。
【請求項3】
前記ゲート装置は、
前記出入口近傍の床面上に載置される
請求項1または2に記載の電力供給システム。
【請求項4】
前記ゲート装置は、
前記床面上に設置されるベース部と、
前記ベース部から上方に離間した位置に配置され、前記無線通信ユニットと無線通信可能なアンテナ部と、を備える
請求項3に記載の電力供給システム。
【請求項5】
前記ゲート装置は、前記範囲内に所定の検出信号を無線通信により発信し、
前記無線通信ユニットは、前記検出信号を受信した場合に、前記信号を出力する
請求項1または2に記載の電力供給システム。
【請求項6】
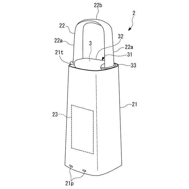
前記蓄電装置は、
前記2次電池を内蔵した本体部と、
前記本体部から外方に突出するように設けられた把手部と、を備え、
前記無線通信ユニットは、前記把手部に機械的に接続されている
請求項1または2に記載の電力供給システム。
【請求項7】
前記無線通信ユニットは、前記本体部の外表面のうち、前記把手部に囲われた部分に配置されている
請求項6に記載の電力供給システム。
【請求項8】
前記蓄電装置は、前記管理区域内のみで利用可能である
請求項1または2に記載の電力供給システム。
【請求項9】
前記電気機器は、利用者が前記管理区域の外部から前記管理区域内に持ち込んで前記管理区域内で利用するものである
請求項1または2に記載の電力供給システム。
【請求項10】
前記電気機器は、前記蓄電装置から供給される電力によって充電可能な機器蓄電池を備えている
請求項9に記載の電力供給システム。
発明の詳細な説明
【技術分野】
【0001】
本発明は、電力供給システムに関する。
続きを表示(約 2,500 文字)
【背景技術】
【0002】
近年、オフィスや研究施設、病院、学校、図書館、商業施設等の施設の室内空間では、ノート型パーソナルコンピュータ(以下、ノートパソコンという)、タブレット端末あるいはスマートフォン等の携帯可能な電気機器や、照明やスピーカ等の電力を利用する電気機器の利用が一般的となっている。このような電気機器を利用するには、電気機器に電力を供給する必要がある。
【0003】
特許文献1には、電気機器を可搬式蓄電装置に接続し、可搬式蓄電装置から電気機器に電力を供給する構成が開示されている。このような可搬式蓄電装置には、利用者自らが所有しているものではなく、施設の利用空間に備えられている場合がある。この場合、利用者は、利用空間に配置されたデスク、テーブル等の什器で電気機器を利用する際、利用空間に備えられた可搬式蓄電装置を用い、電気機器への電力供給を行う。
【先行技術文献】
【特許文献】
【0004】
特開2023-46139号公報
【発明の概要】
【発明が解決しようとする課題】
【0005】
しかしながら、上記したような可搬式蓄電装置は、利用空間に備えられているものであるにも関わらず、故意または不注意等により、可搬式蓄電装置が利用空間から外部に持ち出されてしまうことがある。
本発明は、可搬式蓄電装置が外部に持ち出されてしまうのを抑えることができる電力供給システムを提供することを目的とする。
【課題を解決するための手段】
【0006】
上記課題を解決するために、本発明は以下の態様を採用した。
(1)本発明の一態様に係る電力供給システムは、施設内に設定された管理区域内に配置され、前記管理区域内で利用される電気機器に対して電力供給可能な2次電池を備えた、可搬性を有する蓄電装置と、前記蓄電装置に装着され、外部に無線通信により信号を出力可能な無線通信ユニットと、前記管理区域の出入口近傍に設けられ、無線通信可能な範囲内で前記無線通信ユニットからの前記信号を受信した場合、前記信号を受信したことを示す情報を出力するゲート装置と、前記管理区域内で、前記ゲート装置の無線通信可能な前記範囲外に配置され、前記蓄電装置の前記2次電池を充電可能な充電装置と、を備える。
本態様によれば、蓄電装置は、施設内に設定された管理区域内に配置されており、管理区域内で利用される電気機器に対して電力供給可能である。このため、利用者は、管理区域内で利用する電気機器の電力供給を受けることができ、コンセントへの電源コードの接続や、自らが携帯するモバイルバッテリー等を利用する必要が無い。このため、利用者にとっての利便性が高められる。管理区域の出入口近傍に設けられたゲート装置は、蓄電装置に装着された無線通信ユニットからの信号を受信した場合、信号を受信したことを示す情報を出力する。これにより、蓄電装置が、管理区域から持ち出されるのを抑えることができる。
また、蓄電装置の2次電池は、管理区域内に設けられた充電装置で充電できる。充電装置は、ゲート装置の無線通信可能な範囲外に配置されているので、充電装置で蓄電装置の2次電池を充電する際に、ゲート装置で無線通信からの信号が受信されることがない。
【0007】
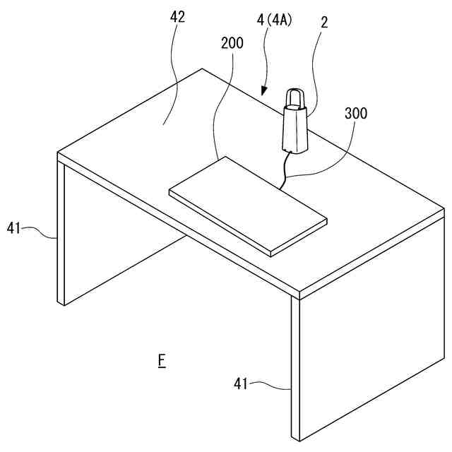
(2)上記(1)の態様に係る電力供給システムにおいて、前記管理区域内で、前記ゲート装置の無線通信可能な前記範囲外に配置され、前記蓄電装置、および前記電気機器を利用可能な利用什器、をさらに備えることが好ましい。
本態様によれば、利用什器を管理区域内に備えることで、利用者は、蓄電装置からの電力供給を受けながら、利用什器で電気機器を利用して各種の作業を行うことができる。
【0008】
(3)上記(1)から(2)の何れかの態様に係る電力供給システムにおいて、前記ゲート装置は、前記出入口近傍の床面上に載置されることが好ましい。
本態様によれば、ゲート装置が、管理区域の出入口近傍の床面上に設置されているので、ゲート装置を管理区域の床、壁、天井等に設置するための工事が不要となる。このため、電力供給システムの導入に要するコストを抑えることができる。
【0009】
(4)上記(3)の態様に係る電力供給システムにおいて、前記ゲート装置は、前記床面上に設置されるベース部と、前記ベース部から上方に離間した位置に配置され、前記無線通信ユニットと無線通信可能なアンテナ部と、を備えることが好ましい。
本態様によれば、アンテナ部が、床面上に設置されるベース部から上方に離間した位置に配置されている。蓄電装置が管理区域の出入口を通して持ち出される際、利用者は蓄電装置を手で持っている可能性が高い。このため、アンテナ部を床面から上方に離間した位置に配置することで、蓄電装置に装着された無線通信ユニットと、アンテナ部との間で、無線通信を良好に行うことができる。これにより、蓄電装置の管理区域からの持ち出しを有効に抑制できる。また、アンテナ部と無線通信ユニットとの間で無線通信可能な範囲を狭めることができ、アンテナ部や無線通信ユニットの出力を抑えて、消費電力を抑えることができる。
【0010】
(5)上記(1)から(4)の何れかの態様に係る電力供給システムにおいて、前記ゲート装置は、前記範囲内に所定の検出信号を無線通信により発信し、前記無線通信ユニットは、前記検出信号を受信した場合に、前記信号を出力することが好ましい。
本態様によれば、無線通信ユニットは、ゲート装置からの検出信号を受信した場合に、信号を出力する。これにより、無線通信ユニット側から、常時信号を出力する必要が無く、無線通信ユニットにおける消費電力を抑えることができる。
(【0011】以降は省略されています)
この特許をJ-PlatPat(特許庁公式サイト)で参照する
関連特許
株式会社オカムラ
収納装置
1か月前
株式会社オカムラ
収納装置
1か月前
株式会社オカムラ
収納装置
1か月前
株式会社オカムラ
収納装置
1か月前
株式会社オカムラ
移動式什器
11日前
株式会社オカムラ
天板付什器
1か月前
株式会社オカムラ
防水板装置
1か月前
株式会社オカムラ
天板付什器
1か月前
株式会社オカムラ
収納ボックス
1か月前
株式会社オカムラ
什器システム
1か月前
株式会社オカムラ
空間形成用什器
1か月前
株式会社オカムラ
天板昇降式什器
1か月前
株式会社オカムラ
天板昇降式什器
1か月前
株式会社オカムラ
パーティション
11日前
株式会社オカムラ
移動間仕切装置
1か月前
株式会社オカムラ
移動間仕切装置
1か月前
株式会社オカムラ
パーティション
11日前
株式会社オカムラ
オフィス収納装置
1か月前
株式会社オカムラ
故障予知システム
1か月前
株式会社オカムラ
間仕切パネル装置
1か月前
株式会社オカムラ
電力供給システム
23日前
株式会社オカムラ
モバイルバッテリ
1か月前
株式会社オカムラ
天板付什器、什器システム
1か月前
株式会社オカムラ
天板付什器、什器システム
1か月前
株式会社オカムラ
什器ユニットおよび天板付什器
1か月前
株式会社オカムラ
天板付き什器、及び、什器ユニット
1か月前
株式会社オカムラ
制御装置、収納システム、端末装置及びプログラム
1か月前
株式会社オカムラ
制御装置、収納システム、端末装置及びプログラム
1か月前
株式会社オカムラ
椅子
27日前
株式会社オカムラ
椅子
1か月前
株式会社オカムラ
ブース
1か月前
株式会社オカムラ
ブース
1か月前
株式会社オカムラ
ブースおよびブース組立方法
26日前
コクヨ株式会社
ブース
18日前
個人
詐欺保険
19日前
個人
縁伊達ポイン
19日前
続きを見る
他の特許を見る