TOP
|
特許
|
意匠
|
商標
特許ウォッチ
Twitter
他の特許を見る
10個以上の画像は省略されています。
公開番号
2025147181
公報種別
公開特許公報(A)
公開日
2025-10-06
出願番号
2025131434,2021181144
出願日
2025-08-06,2021-11-05
発明の名称
椅子
出願人
株式会社オカムラ
代理人
個人
主分類
A47C
1/024 20060101AFI20250926BHJP(家具;家庭用品または家庭用設備;コーヒーひき;香辛料ひき;真空掃除機一般)
要約
【課題】倒伏状態にある背凭れ等の荷重受け機能部を起立させて容易に使用可能な状態にすることができる椅子を提供する。
【解決手段】椅子は、支持構造体と、倒伏状態と起立状態とに切り換え可能な荷重受け機能部とを備える。荷重受け機能部は、荷重受け本体部、軸部、被係止部を備える。支持構造体は、ストッパ部を備える。ストッパ部は、被係止部が倒伏対応位置にあるときに、被係止部の倒伏対応位置から起立対応位置への変位を許容する第1位置と、被係止部が起立対応位置にあるときに、被係止部の回動軌道上に位置して、被係止部の起立対応位置から倒伏対応位置への変位を規制する第2位置と、の間で変位可能とされている。ストッパ部は、第1位置にある状態において、第2位置方向に付勢されるとともに、被係止部によって第2位置への変位を規制され、被係止部の起立対応位置への回動変位によって第2位置への変位規制を解除される。
【選択図】図6
特許請求の範囲
【請求項1】
支持構造体と、
前記支持構造体に回動可能に支持され、倒伏状態と起立状態とに切り換え可能な荷重受け機能部と、を備え、
前記荷重受け機能部は、
着座者の荷重を受け止める荷重受け本体部と、
前記荷重受け本体部と一体に回動し前記支持構造体に回動可能に支持される軸部と、 前記軸部と一体に回動する被係止部と、を備え、
前記支持構造体は、前記荷重受け本体部が前記倒伏状態のときの前記被係止部の回動位置を倒伏対応位置とし、前記荷重受け本体部が前記起立状態のときの前記被係止部の回動位置を起立対応位置とした場合に、前記被係止部が前記倒伏対応位置にあるときに、前記被係止部の前記倒伏対応位置から前記起立対応位置への変位を許容する第1位置と、前記被係止部が前記起立対応位置にあるときに、前記被係止部の回動軌道上に位置して、前記被係止部の前記起立対応位置から前記倒伏対応位置への変位を規制する第2位置と、の間で変位可能に設けられたストッパ部を備え、
前記ストッパ部は、前記第1位置にある状態において、前記第2位置方向に付勢されるとともに、前記被係止部によって前記第2位置への変位を規制され、前記被係止部の前記起立対応位置への回動変位によって前記第2位置への変位規制を解除されることを特徴とする椅子。
続きを表示(約 360 文字)
【請求項2】
前記ストッパ部は、前記支持構造体に回動可能に支持されるとともに、前記第1位置にある状態において、自重による回動付勢力が機能する傾斜姿勢で前記被係止部に当接して、前記第2位置への回動変位を規制され、前記被係止部の前記起立対応位置への回動変位によって前記第2位置への変位規制を解除されることを特徴とする請求項1に記載の椅子。
【請求項3】
前記荷重受け機能部は、着座者の背部を支える背凭れであり、
前記支持構造体には、前記背凭れに作用する後方荷重を受け止めるクッションユニットが支持され、
前記被係止部は、前記第2位置を超えて前記第1位置から離反する方向に変位するときに、前記クッションユニットに荷重伝達可能に係合することを特徴とする請求項1または2に記載の椅子。
発明の詳細な説明
【技術分野】
【0001】
本発明は、椅子に関するものである。
続きを表示(約 2,200 文字)
【背景技術】
【0002】
事務用等として用いられる椅子として、座体の下方に取り付けられる支基に背凭れの下端が回動可能に支持されるものがある。この種の椅子は、背凭れが座体の後部から上方に起立するため、店舗や工場の保管庫に収納する際や搬送時等に全体が嵩張り、収納効率が悪化し易い。
【0003】
この対策として、ユーザーが実際に使用する前の保管時や搬送時等に、背凭れ(荷重受け機能部)を倒伏状態(例えば、背凭れを座面に近接するように倒した状態)にできるようにした椅子が案出されている(特許文献1参照)。
【0004】
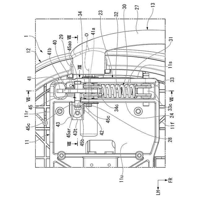
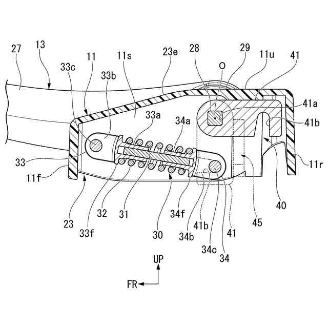
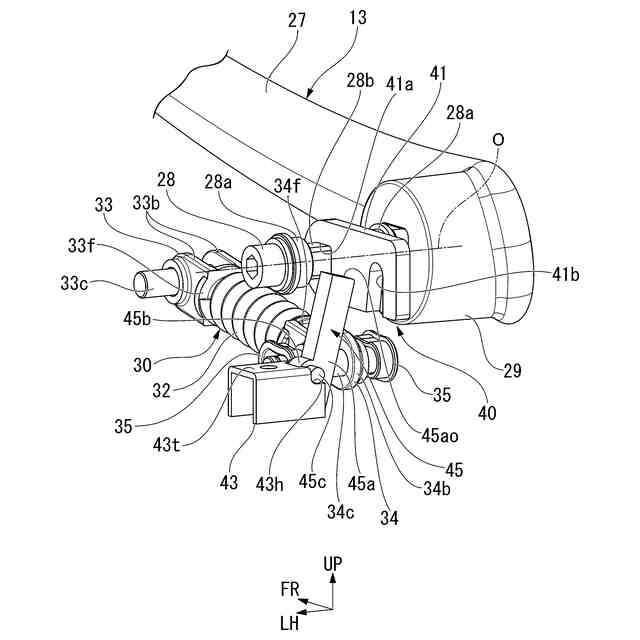
特許文献1に記載の椅子は、背凭れの下端の軸部が座体の下方の支基に回動可能に支持されている。背凭れは、背凭れ本体部(着座者の背部が当接する部分)が座体の座面に近接するように倒伏する倒伏状態と、背凭れ本体部が座面の後部から上方に起立する起立状態とに切り換え可能とされている。背凭れの下端の軸部には、当該軸部と一体回転可能に被係止部が設けられ、支基内には、被係止部と当接可能なストッパ部材が設けられている。ストッパ部材は、背凭れ側の被係止部の回動軌道と交わる位置と、被係止部の回動軌道から退避する位置との間で変位可能とされている。また、ストッパ部材は、被係止部の回動軌道と交わる位置において、ねじによって位置固定可能とされている。
【0005】
この特許文献1に記載の椅子は、保管時や搬送時等には、背凭れが倒伏状態にされ、かつ、その状態でストッパ部材が被係止部の回動軌道から退避する位置に配置されている。そして、ユーザーが実際に椅子を組み立てて使用する場合には、背凭れを倒伏状態から起立状態に操作する。このとき、ストッパ部材は、背凭れの被係止部の回動軌道から退避する位置に配置されているため、背凭れの起立動作が可能になる。ユーザーは、この状態においてストッパ部材を被係止部の回動軌道と交わる位置まで変位させてねじ固定する。これにより、背凭れの倒伏方向の回動変位がストッパ部材によって規制され、背凭れが起立状態に維持される。
【先行技術文献】
【特許文献】
【0006】
特開2007-275363号公報
【発明の概要】
【発明が解決しようとする課題】
【0007】
しかし、特許文献1に記載の椅子は、組み立て時に、背凭れを倒伏状態から起立状態に切り換えた後に人がストッパ部材を被係止部の回動軌道と交わる位置まで変位させ、その状態でストッパ部材をねじによって位置固定する必要がある。このため、背凭れを使用可能な状態にするための作業が煩雑になり、この点の改善が望まれている。
【0008】
そこで本発明は、倒伏状態にある背凭れ等の荷重受け機能部を起立させて容易に使用可能な状態にすることができる椅子を提供しようとするものである。
【課題を解決するための手段】
【0009】
本発明に係る椅子は、上記課題を解決するために、以下の構成を採用した。
即ち、本発明に係る椅子は、支持構造体と、前記支持構造体に回動可能に支持され、倒伏状態と起立状態とに切り換え可能な荷重受け機能部と、を備え、前記荷重受け機能部は、着座者の荷重を受け止める荷重受け本体部と、前記荷重受け本体部と一体に回動し前記支持構造体に回動可能に支持される軸部と、前記軸部と一体に回動する被係止部と、を備え、前記支持構造体は、前記荷重受け本体部が前記倒伏状態のときの前記被係止部の回動位置を倒伏対応位置とし、前記荷重受け本体部が前記起立状態のときの前記被係止部の回動位置を起立対応位置とした場合に、前記被係止部が前記倒伏対応位置にあるときに、前記被係止部の前記倒伏対応位置から前記起立対応位置への変位を許容する第1位置と、前記被係止部が前記起立対応位置にあるときに、前記被係止部の回動軌道上に位置して、前記被係止部の前記起立対応位置から前記倒伏対応位置への変位を規制する第2位置と、の間で変位可能に設けられたストッパ部を備え、前記ストッパ部は、前記第1位置にある状態において、前記第2位置方向に付勢されるとともに、前記被係止部によって前記第2位置への変位を規制され、前記被係止部の前記起立対応位置への回動変位によって前記第2位置への変位規制を解除されることを特徴とする。
【0010】
上記の構成により、荷重受け機能部が倒伏状態であるときには、荷重受け機能部の被係止部は倒伏対応位置に位置されている。このとき、支持構造体側のストッパ部は、第1位置にあり、第2位置方向に付勢された状態で被係止部によって第2位置への変位を規制されている。この状態から荷重受け機能部が起立状態にされると、荷重受け機能部の被係止部が起立対応位置まで回動変位する。これにより、被係止部によるストッパ部の第2位置への変位規制が解除される。この結果、ストッパ部が当該ストッパ部に作用する付勢力によって第2位置まで変位し、被係止部の倒伏対応位置方向への変位(荷重受け機能部の倒伏方向への変位)をストッパ部が規制するようなる。
したがって、本構成を採用する椅子では、倒伏状態にある荷重受け機能部を起立方向に回動操作されるだけで、作業者が他の特別な操作を行うことなく荷重受け機能部を起立状態に維持することが可能になる。
(【0011】以降は省略されています)
この特許をJ-PlatPat(特許庁公式サイト)で参照する
関連特許
株式会社オカムラ
移動式什器
7日前
株式会社オカムラ
パーティション
7日前
株式会社オカムラ
パーティション
7日前
コクヨ株式会社
ブース
14日前
個人
箸
15日前
個人
椅子
2か月前
個人
家具
3か月前
個人
自助箸
6か月前
個人
掃除機
8か月前
個人
屋外用箒
6か月前
個人
枕
4か月前
個人
掃除用具
3か月前
個人
体洗い具
9か月前
個人
掃除道具
8か月前
個人
枕
8か月前
個人
ハンガー
6か月前
個人
多用途紐
12日前
個人
ソファー
1か月前
個人
耳拭き棒
10か月前
個人
エコ掃除機
11か月前
個人
省煙消臭器
8か月前
個人
掃除シート
8か月前
個人
開閉トング
5か月前
個人
組立式棚板
6か月前
個人
物品
2か月前
個人
片手代替具
10か月前
個人
バターナイフ
15日前
個人
受け皿
5か月前
個人
ゴミ袋保持枠
6か月前
個人
紙コップ 蓋
1か月前
個人
洗面台
10か月前
個人
シャワー装置
5か月前
個人
靴ベラ
1か月前
個人
中身のない枕
6か月前
個人
転倒防止装置
4か月前
個人
経典表示装置
4か月前
続きを見る
他の特許を見る