TOP
|
特許
|
意匠
|
商標
特許ウォッチ
Twitter
他の特許を見る
10個以上の画像は省略されています。
公開番号
2025159941
公報種別
公開特許公報(A)
公開日
2025-10-22
出願番号
2024062828
出願日
2024-04-09
発明の名称
パーティション
出願人
株式会社オカムラ
代理人
個人
主分類
E04B
2/74 20060101AFI20251015BHJP(建築物)
要約
【課題】清掃性と耐久性との双方の向上を図ることができるパーティションを提供する。
【解決手段】本発明の一態様に係るパーティションは、第1パネル本体及び第1側端部を有する第1パネルと、第2パネル本体第2側端部を有する第2パネルと、第1パネル及び第2パネル同士を回転可能に連結するヒンジと、を備えている。第1側端部の厚さ方向の寸法は、第1対向面において第1連結部よりも大きく、かつ第1方向において第1対向面から離れるに従い漸次大きくなっている。第2側端部の厚さ方向の寸法は、第2対向面において第2連結部よりも大きく、かつ第2方向において第2対向面から離れるに従い漸次大きくなっている。
【選択図】図10
特許請求の範囲
【請求項1】
厚さ方向を向く第1パネル面が形成された第1パネル本体、及び上下方向から見て前記厚さ方向に交差する第1方向に向けて前記第1パネル本体から突出する第1側端部を有する第1パネルと、
厚さ方向を向く第2パネル面が形成された第2パネル本体、及び上下方向から見て前記厚さ方向に交差する第2方向に向けて前記第2パネル本体から突出する第2側端部を有する第2パネルと、
前記第1パネル面及び前記第2パネル面同士が向かい合う折り畳み状態と、前記第1パネル面及び前記第2パネル面同士のなす角度が前記折り畳み状態よりも大きい展開状態と、の間で前記第1パネル及び前記第2パネル同士を回転可能に連結するヒンジと、を備え、
前記ヒンジは、
前記第1側端部が上下方向に沿う第1軸線回りに回転可能に連結された第1連結部と、
前記第2側端部が上下方向に沿う第2軸線回りに回転可能に連結された第2連結部と、
前記第1連結部及び前記第2連結部同士を接続する接続片と、を備え、
前記第1側端部は、
前記厚さ方向を向く一対の第1側面と、
前記第1方向において前記第1連結部に向かい合う第1対向面と、を備え、
前記第2側端部は、
前記厚さ方向を向く一対の第2側面と、
前記第2方向において前記第2連結部に向かい合う第2対向面と、を備え、
前記第1側端部の前記厚さ方向の寸法は、前記第1対向面において前記第1連結部よりも大きく、かつ前記第1方向において前記第1対向面から離れるに従い漸次大きくなっており、
前記第2側端部の前記厚さ方向の寸法は、前記第2対向面において前記第2連結部よりも大きく、かつ前記第2方向において前記第2対向面から離れるに従い漸次大きくなっているパーティション。
続きを表示(約 1,000 文字)
【請求項2】
前記第1側端部は、
前記第1側面及び前記第1対向面を有し、前記第1連結部に前記第1方向で向かい合う第1縦フレームと、
前記第1縦フレームに着脱可能に取り付けられるとともに、前記第1縦フレームの上下両端部から平面視で前記第1連結部と重なり合う位置まで前記第1方向に突出することで、第1軸部を介して前記第1連結部に連結され、前記厚さ方向の寸法が前記第1縦フレームよりも大きい第1突出部と、を備え、
前記第2側端部は、
前記第2側面及び前記第2対向面を有し、前記第2連結部に前記第2方向で向かい合う第2縦フレームと、
前記第2縦フレームに着脱可能に取り付けられるとともに、前記第2縦フレームの上下両端部から平面視で前記第2連結部と重なり合う位置まで前記第2方向に突出することで、第2軸部を介して前記第2連結部に連結され、前記厚さ方向の寸法が前記第2縦フレームよりも大きい第2突出部と、を備えている請求項1に記載のパーティション。
【請求項3】
前記第1パネルは、前記第1パネル本体の上端縁及び下端縁にそれぞれに沿って設けられた一対の第1横フレームを備え、
前記第2パネルは、前記第2パネル本体の上端縁及び下端縁にそれぞれに沿って設けられた一対の第2横フレームを備え、
前記第1横フレームのうち、前記第1パネル本体に対して前記第1方向に突出した部分が前記第1突出部を構成し、
前記第2横フレームのうち、前記第2パネル本体に対して前記第2方向に突出した部分が前記第2突出部を構成している請求項2に記載のパーティション。
【請求項4】
前記第1パネル本体における前記厚さ方向の寸法は、前記第1側端部の前記厚さ方向の寸法よりも小さく、
前記第2パネル本体における前記厚さ方向の寸法は、前記第2側端部の前記厚さ方向の寸法よりも小さい請求項1から請求項3の何れか1項に記載のパーティション。
【請求項5】
前記第1側端部において、前記第1側面と前記第1対向面とがなす角部は、上下方向から見て前記第1方向に向けて凸の円弧状に形成され、
前記第2側端部において、前記第2側面と前記第2対向面とがなす角部は、上下方向から見て前記第2方向に向けて凸の円弧状に形成されている請求項1から請求項3の何れか1項に記載のパーティション。
発明の詳細な説明
【技術分野】
【0001】
本発明は、パーティションに関する。
続きを表示(約 3,100 文字)
【背景技術】
【0002】
パーティションとして、複数のパネルのパネル面同士が向かい合う折り畳み状態と、パネル面同士のなす角度が折り畳み状態よりも大きい展開状態と、の間で切替可能な構成が知られている。例えば下記特許文献1に記載のパーティションにおいて、隣り合うパネルの側端部同士は、ヒンジを介して連結されている。ヒンジは、各パネルの側端部が、それぞれ枢軸を介して連結される一対の嵌合筒と、一対の嵌合筒同士を連結する板状の接続片と、を備えている。各パネルの側端部は、嵌合筒の外周面に倣って延びる湾曲面と、湾曲面の両端縁に接続された一対の側面と、を備えている。
【先行技術文献】
【特許文献】
【0003】
特開平10―212780号公報
【発明の概要】
【発明が解決しようとする課題】
【0004】
しかしながら、上述した従来技術のように、一対の嵌合筒が接続片で連結された構成のヒンジを用いる場合には、嵌合部と接続片で囲まれた凹部内に塵埃等が溜まり易かった。
一方、凹部内の清掃性(メンテナンス性)を向上させるために、例えば接続片の長さを確保し、凹部の開口部を拡大させることも考えられる。しかしながら、接続片の長さを確保すると、パネルの側端部における側面と湾曲面とのなす角部が接続片に接触し易くなる。その結果、側端部や接続片の損傷等に繋がる可能性があった。
【0005】
本発明は、清掃性と耐久性との双方の向上を図ることができるパーティションを提供する。
【課題を解決するための手段】
【0006】
上記課題を解決するために、本発明は以下の態様を採用した。
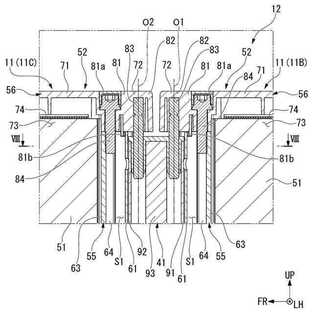
(1)本発明の一態様に係るパーティションは、厚さ方向を向く第1パネル面が形成された第1パネル本体、及び上下方向から見て前記厚さ方向に交差する第1方向に向けて前記第1パネル本体から突出する第1側端部を有する第1パネルと、厚さ方向を向く第2パネル面が形成された第2パネル本体、及び上下方向から見て前記厚さ方向に交差する第2方向に向けて前記第2パネル本体から突出する第2側端部を有する第2パネルと、前記第1パネル面及び前記第2パネル面同士が向かい合う折り畳み状態と、前記第1パネル面及び前記第2パネル面同士のなす角度が前記折り畳み状態よりも大きい展開状態と、の間で前記第1パネル及び前記第2パネル同士を回転可能に連結するヒンジと、を備え、前記ヒンジは、前記第1側端部が上下方向に沿う第1軸線回りに回転可能に連結された第1連結部と、前記第2側端部が上下方向に沿う第2軸線回りに回転可能に連結された第2連結部と、前記第1連結部及び前記第2連結部同士を接続する接続片と、を備え、前記第1側端部は、前記厚さ方向を向く一対の第1側面と、前記第1方向において前記第1連結部に向かい合う第1対向面と、を備え、前記第2側端部は、前記厚さ方向を向く一対の第2側面と、前記第2方向において前記第2連結部に向かい合う第2対向面と、を備え、前記第1側端部の前記厚さ方向の寸法は、前記第1対向面において前記第1連結部よりも大きく、かつ前記第1方向において前記第1対向面から離れるに従い漸次大きくなっており、前記第2側端部の前記厚さ方向の寸法は、前記第2対向面において前記第2連結部よりも大きく、かつ前記第2方向において前記第2対向面から離れるに従い漸次大きくなっている。
【0007】
本態様によれば、各側端部における厚さ方向の寸法が、対向面において各連結部よりも大きくなっているので、展開状態において、対向面と側面とのなす角部よりも先に第1パネル及び第2パネルの側面同士が接触し易くなる。これにより、角部が接続片に接触することを抑制でき、耐久性の向上を図ることができる。また、接続片の長さを確保できるため、各連結片と接続片とで囲まれた凹部の広さを確保でき、凹部内(接続片)の清掃性を向上させることができる。
しかも、本態様では、第1側端部及び第2側端部における厚さ方向の寸法が対応する対向面から離れるに従い漸次大きくなっている。そのため、側端部について、側面が第1方向や第2方向に直線状に延びている場合に比べ、対向面と側面とのなす角部の角度を大きくすることができる。これにより、対向面と側面とのなす角部が接続片に接触したとしても、接続片と角部との間に作用する衝撃を緩和し易い。その結果、耐久性の向上を図ることができる。
【0008】
(2)上記(1)の態様に係るパーティションにおいて、前記第1側端部は、前記第1側面及び前記第1対向面を有し、前記第1連結部に前記第1方向で向かい合う第1縦フレームと、前記第1縦フレームに着脱可能に取り付けられるとともに、前記第1縦フレームの上下両端部から平面視で前記第1連結部と重なり合う位置まで前記第1方向に突出することで、第1軸部を介して前記第1連結部に連結され、前記厚さ方向の寸法が前記第1縦フレームよりも大きい第1突出部と、を備え、前記第2側端部は、前記第2側面及び前記第2対向面を有し、前記第2連結部に前記第2方向で向かい合う第2縦フレームと、前記第2縦フレームに着脱可能に取り付けられるとともに、前記第2縦フレームの上下両端部から平面視で前記第2連結部と重なり合う位置まで前記第2方向に突出することで、第2軸部を介して前記第2連結部に連結され、前記厚さ方向の寸法が前記第2縦フレームよりも大きい第2突出部と、を備えていることが好ましい。
本態様によれば、折り畳み状態において、第1パネル及び第2パネルの突出部同士が接触し易い。この場合、突出部は縦フレームの上下両端部において縦フレームに対して着脱可能に設けられていることから、仮に突出部が損傷したとしても、交換を容易に行うことができる。
【0009】
(3)上記(2)の態様に係るパーティションにおいて、前記第1パネルは、前記第1パネル本体の上端縁及び下端縁にそれぞれに沿って設けられた一対の第1横フレームを備え、前記第2パネルは、前記第2パネル本体の上端縁及び下端縁にそれぞれに沿って設けられた一対の第2横フレームを備え、前記第1横フレームのうち、前記第1パネル本体に対して前記第1方向に突出した部分が前記第1突出部を構成し、前記第2横フレームのうち、前記第2パネル本体に対して前記第2方向に突出した部分が前記第2突出部を構成していることが好ましい。
本態様によれば、横フレームがパネル本体の保持と、パネル及びヒンジ間の連結と、の双方の機能を有しているため、横フレームを組み付けるだけで、パネルの組み付け及びパネルとヒンジとの連結を完了することができる。これにより、組付性を向上させることができる。
【0010】
(4)上記(1)から(3)の何れかの態様に係るパーティションにおいて、前記第1パネル本体における前記厚さ方向の寸法は、前記第1側端部の前記厚さ方向の寸法よりも小さく、前記第2パネル本体における前記厚さ方向の寸法は、前記第2側端部の前記厚さ方向の寸法よりも小さいことが好ましい。
本態様によれば、折り畳み状態において、第1パネル本体及び第2パネル本体同士が接触することを抑制できる。これにより、各パネル本体について、強度に関する懸念事項を軽減できるので、例えば低強度、かつ軽量のパネル本体を選択できる等、設計自由度の向上を図ることができる。
(【0011】以降は省略されています)
この特許をJ-PlatPat(特許庁公式サイト)で参照する
関連特許
株式会社オカムラ
椅子
7日前
株式会社オカムラ
椅子
7日前
株式会社オカムラ
移動式什器
1か月前
株式会社オカムラ
パーティション
1か月前
株式会社オカムラ
パーティション
1か月前
株式会社オカムラ
電力供給システム
2か月前
株式会社オカムラ
什器、什器システム
7日前
株式会社オカムラ
作業用什器および什器システム
7日前
株式会社オカムラ
椅子用荷重支持部材、及び、椅子
7日前
株式会社オカムラ
什器システム
今日
株式会社オカムラ
ブースおよびブース組立方法
2か月前
コクヨ株式会社
ブース
1か月前
個人
接合構造
2か月前
個人
屋台
2か月前
個人
タッチミー
2か月前
個人
野良猫ハウス
3か月前
個人
安心補助てすり
1か月前
個人
転落防止用手摺
3か月前
個人
フェンス
3か月前
積水樹脂株式会社
柵体
3か月前
個人
居住車両用駐車場
3か月前
個人
ベンリナアングル
2か月前
ニチハ株式会社
建築板
3か月前
個人
筋交自動設定装置
2か月前
個人
熱抵抗多層断熱建材
3か月前
個人
免震建築構造
6日前
個人
柵
4か月前
個人
補強部材
3か月前
株式会社フジタ
合成床
6日前
株式会社シンケン
住宅
1か月前
個人
身体用シェルター
2か月前
個人
防災建築物
1か月前
個人
身体用シェルター
2か月前
成友建設株式会社
建物
3か月前
鹿島建設株式会社
壁体
3か月前
個人
住宅の省エネ方法
2日前
続きを見る
他の特許を見る