TOP
|
特許
|
意匠
|
商標
特許ウォッチ
Twitter
他の特許を見る
10個以上の画像は省略されています。
公開番号
2025182025
公報種別
公開特許公報(A)
公開日
2025-12-11
出願番号
2025166124,2022040036
出願日
2025-10-02,2020-11-05
発明の名称
什器システム
出願人
株式会社オカムラ
代理人
個人
主分類
A47B
25/00 20060101AFI20251204BHJP(家具;家庭用品または家庭用設備;コーヒーひき;香辛料ひき;真空掃除機一般)
要約
【課題】入力情報に基づいて表示を行う什器を提供する。
【解決手段】什器システムであって、発光表示装置を内蔵する什器用板状部材を表部材として備える什器と、入力情報に基づいて上記発光表示装置を制御する制御装置とを備える。
【選択図】図10
特許請求の範囲
【請求項1】
発光表示装置を内蔵する什器用板状部材を表部材として備える什器と、
入力情報に基づいて前記発光表示装置を制御する制御装置と
を備えることを特徴とする什器システム。
続きを表示(約 410 文字)
【請求項2】
前記制御装置は、前記什器の使用者が操作するゲーム機から入力されるイベント情報に連動して前記発光表示装置を制御することを特徴とする請求項1記載の什器システム。
【請求項3】
前記制御装置は、前記什器の予約状況を管理する予約システムから入力される什器予約情報に基づいて前記発光表示装置を制御することを特徴とする請求項1記載の什器システム。
【請求項4】
前記制御装置は、前記什器の使用者の着座を検知する着座センサから入力される着座検知信号に基づいて前記発光表示装置を制御することを特徴とする請求項1記載の什器システム。
【請求項5】
前記什器は、天板を備える天板付什器であることを特徴とする請求項1~4のいずれか一項に記載の什器システム。
【請求項6】
前記什器は、椅子であることを特徴とする請求項1~4のいずれか一項に記載の什器システム。
発明の詳細な説明
【技術分野】
【0001】
本発明は、什器システムに関するものである。
続きを表示(約 1,000 文字)
【背景技術】
【0002】
例えば、特許文献1には、天板に対して表示装置が設置された表示装置付机が開示されている。このような表示装置付机では、表示装置にて表示を行うことによって、例えば天板上で作業を行っているユーザに対して情報を提供することが可能となる。
【先行技術文献】
【特許文献】
【0003】
特開2017-45362号公報
【発明の概要】
【発明が解決しようとする課題】
【0004】
ところで、特許文献1に開示された表示装置付机では、天板に表示装置の表示画面を視認するための大きな開口が設けられている。表示装置は、天板の中央に設けられた上記開口に嵌め込まれるようにして設置されている。このため、ユーザ等に対して情報を提供する必要がなく、表示装置にて表示を行っていない場合であっても、ユーザや周囲の者は、容易に表示装置を視認することができる。
【0005】
このような表示装置は、必ずしも机等の什器と一体感のあるデザインとはされるものではない。このため、特に表示装置で表示を行っていない場合において、表示装置が什器の外観デザインを損ねる恐れがある。
【0006】
本発明は、上述する問題点に鑑みてなされたもので、什器に用いられる什器用板状部材において、表示を行う場合に容易に表示内容を目視可能とし、表示が必要でない場合に表示面が外観デザインに影響を与えることを抑止することを目的とする。
【課題を解決するための手段】
【0007】
本発明は、上記課題を解決するための手段として、以下の構成を採用する。
【0008】
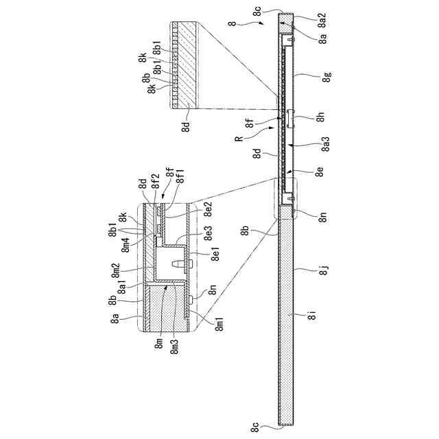
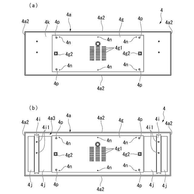
第1の発明は、什器システムであって、発光表示装置を内蔵する什器用板状部材を表部材として備える什器と、入力情報に基づいて上記発光表示装置を制御する制御装置とを備えるという構成を採用する。
【0009】
このような本発明によれば、発光表示装置を内蔵する什器用板状部材を表部材として備える什器に対して、入力情報に基づいて表示を行うことができる。
【0010】
第2の発明は、上記第1の発明において、上記制御装置が、上記什器の使用者が操作するゲーム機から入力されるイベント情報に連動して上記発光表示装置を制御するという構成を採用する。
(【0011】以降は省略されています)
この特許をJ-PlatPat(特許庁公式サイト)で参照する
関連特許
株式会社オカムラ
椅子
7日前
株式会社オカムラ
椅子
7日前
株式会社オカムラ
移動式什器
1か月前
株式会社オカムラ
パーティション
1か月前
株式会社オカムラ
パーティション
1か月前
株式会社オカムラ
電力供給システム
2か月前
株式会社オカムラ
什器、什器システム
7日前
株式会社オカムラ
作業用什器および什器システム
7日前
株式会社オカムラ
椅子用荷重支持部材、及び、椅子
7日前
株式会社オカムラ
椅子
2か月前
株式会社オカムラ
什器システム
今日
株式会社オカムラ
ブースおよびブース組立方法
2か月前
コクヨ株式会社
ブース
1か月前
個人
箸
1か月前
個人
家具
5か月前
個人
椅子
3か月前
個人
自助箸
7か月前
個人
掃除機
9か月前
個人
耳拭き棒
11か月前
個人
枕
9か月前
個人
掃除道具
9か月前
個人
ソファー
2か月前
個人
屋外用箒
8か月前
個人
多用途紐
1か月前
個人
ハンガー
7か月前
個人
枕
6か月前
個人
掃除用具
4か月前
個人
体洗い具
11か月前
個人
物品
3か月前
個人
片手代替具
12か月前
個人
組立式棚板
8か月前
個人
開閉トング
7か月前
個人
掃除シート
10か月前
個人
省煙消臭器
9か月前
個人
転倒防止装置
5か月前
個人
中身のない枕
8か月前
続きを見る
他の特許を見る