TOP
|
特許
|
意匠
|
商標
特許ウォッチ
Twitter
他の特許を見る
10個以上の画像は省略されています。
公開番号
2025159932
公報種別
公開特許公報(A)
公開日
2025-10-22
出願番号
2024062812
出願日
2024-04-09
発明の名称
パーティション
出願人
株式会社オカムラ
代理人
個人
主分類
E04B
2/74 20060101AFI20251015BHJP(建築物)
要約
【課題】安定性を向上させることができるパーティションを提供する。
【解決手段】本発明の一態様に係るパーティションは、複数のパネルを有し、隣り合うパネルのパネル面同士が前記パネルの厚さ方向で向かい合う折り畳み状態、及びパネル面同士のなす角度が折り畳み状態よりも大きい展開状態の間で回転可能に接続されたパネルモジュールと、複数のパネルのうち、パネルモジュールの端部を構成する端部パネルが水平面内を回転可能に接続されるとともに、床面上を走行可能なベース体と、を備えている。ベース体は、パネルモジュールのうち何れかのパネルに接触することで、ベース体に対するパネルモジュールの水平面内の回転を制限する回転制限部を備えている。
【選択図】図9
特許請求の範囲
【請求項1】
複数のパネルを有し、隣り合う前記パネルのパネル面同士が前記パネルの厚さ方向で向かい合う折り畳み状態、及び前記パネル面同士のなす角度が前記折り畳み状態よりも大きい展開状態の間で上下方向に直交する水平面内を回転可能に接続されたパネルモジュールと、
複数の前記パネルのうち、前記パネルモジュールの端部を構成する端部パネルが上下方向に直交する前記水平面内を回転可能に接続されるとともに、床面上を走行可能なベース体と、を備え、
前記ベース体は、前記パネルモジュールのうち何れかの前記パネルに接触することで、前記ベース体に対する前記パネルモジュールの前記水平面内での回転を制限する回転制限部を備えているパーティション。
続きを表示(約 940 文字)
【請求項2】
前記ベース体は、
キャスタが設けられた基台と、
前記基台から上方に延びるとともに、前記パネルモジュールを支持する支柱と、を備え、
前記折り畳み状態において前記端部パネルと前記支柱とが平面視で向かい合う方向を第1方向とすると、
前記支柱は、平面視で前記第1方向に交差する第2方向において前記基台の中央部に位置し、
前記回転制限部は、前記支柱に支持されている請求項1に記載のパーティション。
【請求項3】
前記ベース体は、前記支柱から前記第2方向の一方側に延びるとともに、前記支柱と前記端部パネルとの間を接続する接続ステーを備え、
前記回転制限部は、前記接続ステーに一体で設けられている請求項2に記載のパーティション。
【請求項4】
前記端部パネルは、前記接続ステーのうち前記第2方向の中途部に接続され、
前記接続ステーのうち、前記端部パネルとの接続部分よりも前記第2方向の他方側に位置する部分は、複数の前記パネルのうち少なくとも前記端部パネルに接触することで、少なくとも前記端部パネルの一方側への回転を規制する第1規制部を構成し、
前記接続ステーのうち、前記接続部分よりも前記第2方向の一方側に位置する部分は、複数の前記パネルのうち少なくとも前記端部パネルに接触することで、少なくとも前記端部パネルの他方側への回転を規制する第2規制部を構成している請求項3に記載のパーティション。
【請求項5】
前記基台は、
前記第2方向に間隔をあけた状態で、前記第1方向に延びる一対の第1延在部と、
一対の前記第1延在部における前記第1方向の中央部同士を前記第2方向に架け渡すとともに、前記支柱を支持する第2延在部と、を備えている請求項4に記載のパーティション。
【請求項6】
前記パネルは、
板状のパネル本体と、
前記パネル本体の外周部を保持する枠フレームと、を備え、
少なくとも前記端部パネルは、折り畳み状態において前記枠フレームを介して前記回転制限部に接触する請求項4又は請求項5に記載のパーティション。
発明の詳細な説明
【技術分野】
【0001】
本発明は、パーティションに関する。
続きを表示(約 2,300 文字)
【背景技術】
【0002】
パーティションとして、複数のパネルのうち隣り合うパネル同士が回転可能に連結されたパネルモジュールと、複数のパネルのうちパネルモジュールの端部に位置する連結パネルが回転可能に連結されたベースと、を備える構成が開示されている(例えば、下記特許文献1参照)。この種のパーティションにおいて、パネルモジュールは、隣り合うパネルのパネル面同士がパネルの厚さ方向で向かい合う折り畳み状態、及びパネル面同士のなす角度が折り畳み状態よりも大きい展開状態の間で回転可能に構成されている。
【先行技術文献】
【特許文献】
【0003】
特開2022‐044691号公報
【発明の概要】
【発明が解決しようとする課題】
【0004】
上述した従来技術において、展開状態のパネルモジュールは、平面視で上下方向に交差する第1方向に直線状に延びている。この状態を中立展開状態とすると、中立展開状態のパネルモジュールは、連結パネルとベースとの接続部分を起点にして、上下方向に沿う軸線回りの両側に回転可能に構成されている。
しかしながら、パネルモジュールにおける軸線回りの回転範囲が大き過ぎると、ベースによってパネルモジュールを安定して支持することが難しくなる可能性があった。
【0005】
本発明は、安定性を向上させることができるパーティションを提供する。
【課題を解決するための手段】
【0006】
上記課題を解決するために、本発明は以下の態様を採用した。
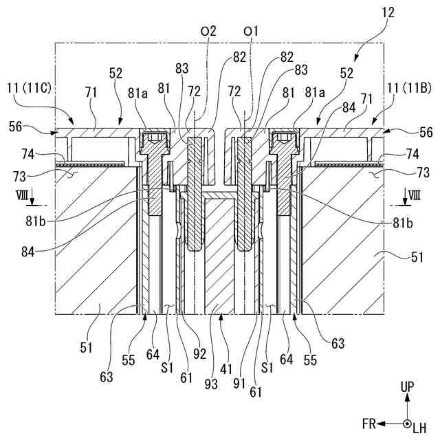
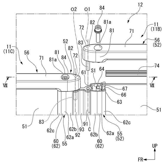
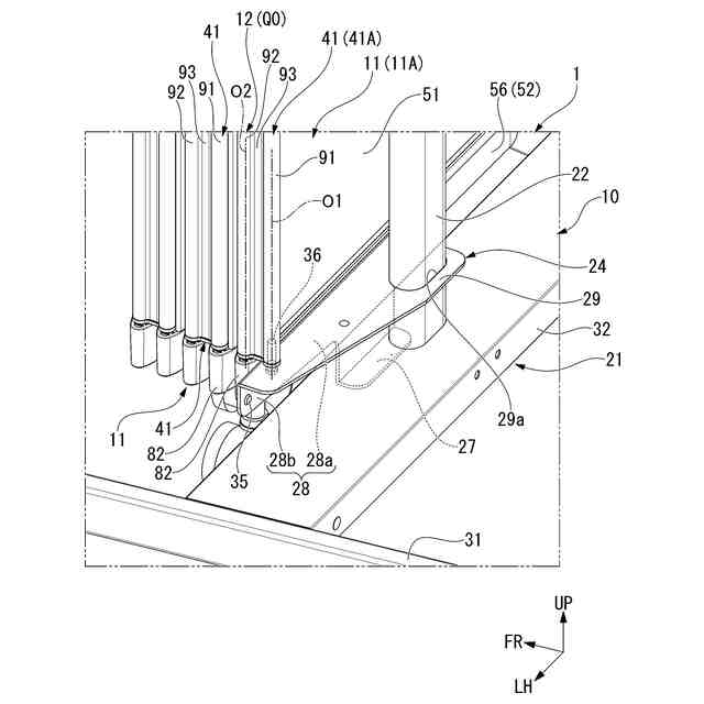
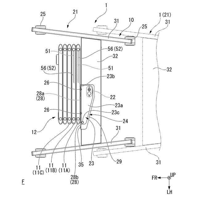
(1)本発明の一態様に係るパーティションは、複数のパネルを有し、隣り合う前記パネルのパネル面同士が前記パネルの厚さ方向で向かい合う折り畳み状態、及び前記パネル面同士のなす角度が前記折り畳み状態よりも大きい展開状態の間で上下方向に直交する水平面内を回転可能に接続されたパネルモジュールと、複数の前記パネルのうち、前記パネルモジュールの端部を構成する端部パネルが上下方向に直交する前記水平面内を回転可能に接続されるとともに、床面上を走行可能なベース体と、を備え、前記ベース体は、前記パネルモジュールのうち何れかの前記パネルに接触することで、前記ベース体に対する前記パネルモジュールの前記水平面内での回転を制限する回転制限部を備えている。
【0007】
本態様によれば、パネルモジュールが回転制限部に接触することで、パネルモジュールの回転が所定の範囲に制限される。これにより、パネルモジュールが予期せぬ位置まで回転して、パーティションのバランスが崩れることを抑制し、パーティションの安定性を向上させることができる。
【0008】
(2)上記(1)の態様に係るパーティションにおいて、前記ベース体は、キャスタが設けられた基台と、前記基台から上方に延びるとともに、前記パネルモジュールを支持する支柱と、を備え、前記折り畳み状態において前記端部パネルと前記支柱とが平面視で向かい合う方向を第1方向とすると、前記支柱は、平面視で前記第1方向に交差する第2方向において前記基台の中央部に位置し、前記回転制限部は、前記支柱に支持されていることが好ましい。
本態様によれば、回転制限部が支柱に支持されているので、回転制限部が支柱と別体の部材に支持される場合に比べ、回転制限部の追加に伴う外観の体裁の低下や設計変更を抑制できる。
【0009】
(3)上記(2)の態様に係るパーティションにおいて、前記ベース体は、前記支柱から前記第2方向の一方側に延びるとともに、前記支柱と前記端部パネルとの間を接続する接続ステーを備え、前記回転制限部は、前記接続ステーに一体で設けられていることが好ましい。
本態様によれば、回転制限部と接続ステーとを別体で設ける場合に比べて、部品点数の増加を抑制できる。
【0010】
(4)上記(3)の態様に係るパーティションにおいて、前記端部パネルは、前記接続ステーのうち前記第2方向の中途部に接続され、前記接続ステーのうち、前記端部パネルとの接続部分よりも前記第2方向の他方側に位置する部分は、複数の前記パネルのうち少なくとも前記端部パネルに接触することで、少なくとも前記端部パネルの一方側への回転を規制する第1規制部を構成し、前記接続ステーのうち、前記接続部分よりも前記第2方向の一方側に位置する部分は、複数の前記パネルのうち少なくとも前記端部パネルに接触することで、少なくとも前記端部パネルの他方側への回転を規制する第2規制部を構成していることが好ましい。
本態様によれば、折り畳み状態において、端部パネルと第1規制部との接触により、端部パネルとベース体との位置決めが行われるため、折り畳み状態でのパネルモジュールの位置ずれを抑制し易い。
また、少なくとも端部パネルが第2規制部に接触することで、端部パネルの他方側への回転が規制される。これにより、例えば端部パネルが第2規制部に接触した状態で、端部パネルと端部パネルに隣り合うパネルとの境界部分を起点にしてパネルモジュールが回転したとしても、端部パネルを含めたパネルモジュール全体が回転する場合に比べ、パネルモジュールの回転に伴う平面視でのパネルモジュールの重心移動が少ない。その結果、パーティションの安定性を維持し易い。
(【0011】以降は省略されています)
この特許をJ-PlatPat(特許庁公式サイト)で参照する
関連特許
株式会社オカムラ
移動式什器
27日前
株式会社オカムラ
パーティション
27日前
株式会社オカムラ
パーティション
27日前
株式会社オカムラ
電力供給システム
1か月前
株式会社オカムラ
ブースおよびブース組立方法
1か月前
コクヨ株式会社
ブース
1か月前
個人
接合構造
1か月前
個人
屋台
2か月前
個人
タッチミー
1か月前
個人
野良猫ハウス
2か月前
個人
フェンス
3か月前
個人
転落防止用手摺
2か月前
個人
安心補助てすり
26日前
積水樹脂株式会社
柵体
2か月前
個人
地下型マンション
4か月前
ニチハ株式会社
建築板
2か月前
個人
居住車両用駐車場
2か月前
個人
筋交自動設定装置
1か月前
個人
ベンリナアングル
1か月前
個人
熱抵抗多層断熱建材
2か月前
個人
鋼管結合資材
4か月前
個人
柵
3か月前
個人
補強部材
2か月前
株式会社シンケン
住宅
27日前
鹿島建設株式会社
壁体
2か月前
個人
防災建築物
1か月前
個人
身体用シェルター
1か月前
個人
循環流水式屋根融雪装置
4か月前
個人
身体用シェルター
1か月前
成友建設株式会社
建物
2か月前
三協立山株式会社
構造体
1か月前
三協立山株式会社
構造体
1か月前
三協立山株式会社
構造体
1か月前
三協立山株式会社
構造体
1か月前
三協立山株式会社
構造体
1か月前
三協立山株式会社
構造体
11日前
続きを見る
他の特許を見る