TOP
|
特許
|
意匠
|
商標
特許ウォッチ
Twitter
他の特許を見る
公開番号
2025176563
公報種別
公開特許公報(A)
公開日
2025-12-04
出願番号
2024082803
出願日
2024-05-21
発明の名称
椅子
出願人
株式会社オカムラ
代理人
個人
主分類
A47C
3/24 20060101AFI20251127BHJP(家具;家庭用品または家庭用設備;コーヒーひき;香辛料ひき;真空掃除機一般)
要約
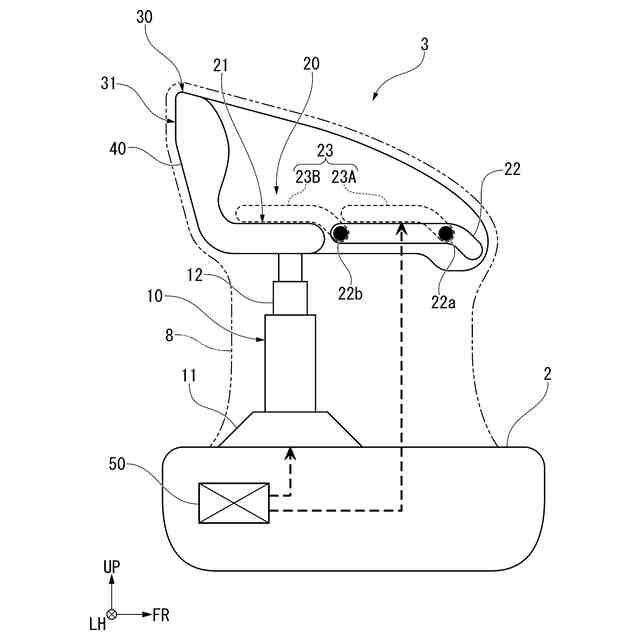
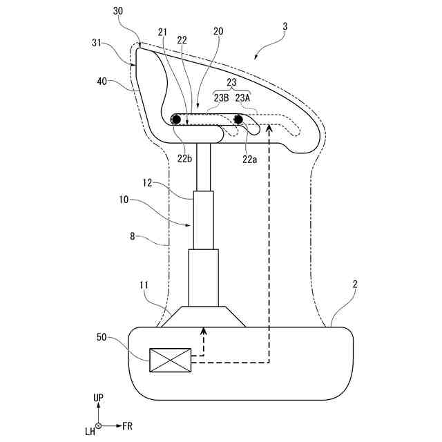
【課題】座が高い位置にある状態において、安全性を損なうことなく簡単に立位状態に移行できる椅子の提供。
【解決手段】椅子3は、上下方向に伸縮可能な伸縮脚10と、伸縮脚10に支持され、伸縮脚10が高くなるに従って着座可能な奥行きが小さくなり、伸縮脚10が低くなるに従って着座可能な奥行きが大きくなる座20と、を備える。
【選択図】図3
特許請求の範囲
【請求項1】
上下方向に伸縮可能な伸縮脚と、
前記伸縮脚に支持され、前記伸縮脚が高くなるに従って着座可能な奥行きが小さくなり、前記伸縮脚が低くなるに従って着座可能な奥行きが大きくなる座と、を備える、
椅子。
続きを表示(約 370 文字)
【請求項2】
前記座は、
前記伸縮脚に固定された固定座部と、
前記固定座部に対して前後方向に移動可能な可動座部と、
前記可動座部を前記固定座部に対して前後方向に移動させる駆動部と、を備え、
前記伸縮脚の高さに基づいて、前記駆動部を制御する制御装置を備える、
請求項1に記載の椅子。
【請求項3】
少なくとも前記伸縮脚を覆い、前記伸縮脚と共に上下方向に伸縮可能なカバー部材を備える、
請求項1または2に記載の椅子。
【請求項4】
前記カバー部材は、さらに前記座を覆い、前記座と共に前後方向に伸縮可能である、
請求項3に記載の椅子。
【請求項5】
前記座の後方に起立する起立壁を備える、
請求項1または2に記載の椅子。
発明の詳細な説明
【技術分野】
【0001】
本発明は、椅子に関するものである。
続きを表示(約 1,400 文字)
【背景技術】
【0002】
下記特許文献1には、座台等の上下台の高さを調整して最適な高さに停止できる上下機構が開示されている。この上下機構は、上下に延びる姿勢で自立する支柱と、この支柱に上下に移動できるように連結しているスライド台と、このスライド台にカム軸を介して水平姿勢から折畳姿勢に傾動できるように連結している上下台と、を備えている。
【先行技術文献】
【特許文献】
【0003】
特許第5511164号公報
【発明の概要】
【発明が解決しようとする課題】
【0004】
近年では、ミーティングスペースの縮小や、ミーティングの効率化等の観点から、立位状態で会議や打ち合わせを行うスタンディングミーティングを導入する企業が増えてきている。このため、座を低くし深く座って作業する座位状態から、座を高くし座に浅く座って、簡単に立位状態に移行できるような、高さの切り替えができる椅子の需要がある。
【0005】
特許文献1に開示された構成においては、支柱が後方に向けて傾斜しており、上下台の位置が高くなるほど、上下台は後方に移動する。しかしながら、上下台の着座可能な奥行きは変わらないため、立位状態に簡単に移行するためには、着座者が浅く座るように臀部の位置を調整しなければならない。また、この状態では、上下台の先端部に荷重がかかるため、場合によっては上下機構の安定性が損なわれる可能性がある。
【0006】
本発明は、上記事情に鑑みてなされたものであり、座が高い位置にある状態において、安全性を損なうことなく簡単に立位状態に移行できる椅子の提供を目的とする。
【課題を解決するための手段】
【0007】
上記課題を解決するために、本発明は以下の態様を採用した。
(1)本発明の一態様に係る椅子は、上下方向に伸縮可能な伸縮脚と、前記伸縮脚に支持され、前記伸縮脚が高くなるに従って着座可能な奥行きが小さくなり、前記伸縮脚が低くなるに従って着座可能な奥行きが大きくなる座と、を備える。
【0008】
本態様によれば、座の位置が高くなればなるほど座の奥行きが小さくなるので、着座者が簡単に立位状態に移行できる。また、座の奥行きが小さくなることで、座の位置が高い状態で、座に臀部を乗せた場合であっても、座の先端部に荷重が偏ることがないため、座の破損や椅子の転倒を防止できる。
【0009】
(2)上記(1)の態様に係る椅子において、前記座は、前記伸縮脚に固定された固定座部と、前記固定座部に対して前後方向に移動可能な可動座部と、前記可動座部を前記固定座部に対して前後方向に移動させる駆動部と、を備え、前記伸縮脚の高さに基づいて、前記駆動部を制御する制御装置を備えてもよい。
本態様によれば、電子制御によって、伸縮脚の高さに応じて座の奥行きの大きさを自動で調整できる。
【0010】
(3)上記(1)または(2)の態様に係る椅子において、少なくとも前記伸縮脚を覆い、前記伸縮脚と共に上下方向に伸縮可能なカバー部材を備えてもよい。
本態様によれば、伸縮脚を伸縮可能なカバー部材によって遮蔽することにより、椅子の外観体裁、および安全性が向上する。
(【0011】以降は省略されています)
この特許をJ-PlatPat(特許庁公式サイト)で参照する
関連特許
株式会社オカムラ
椅子
4か月前
株式会社オカムラ
台車
3か月前
株式会社オカムラ
台車
3か月前
株式会社オカムラ
椅子
今日
株式会社オカムラ
椅子
4か月前
株式会社オカムラ
椅子
5か月前
株式会社オカムラ
什器
5か月前
株式会社オカムラ
台車
3か月前
株式会社オカムラ
椅子
今日
株式会社オカムラ
収納装置
2か月前
株式会社オカムラ
収納装置
2か月前
株式会社オカムラ
収納装置
2か月前
株式会社オカムラ
収納装置
2か月前
株式会社オカムラ
天板付什器
3か月前
株式会社オカムラ
空間構造体
6か月前
株式会社オカムラ
空間構造体
6か月前
株式会社オカムラ
移動式什器
1か月前
株式会社オカムラ
防水板装置
2か月前
株式会社オカムラ
天板付什器
2か月前
株式会社オカムラ
天板付什器
2か月前
株式会社オカムラ
天板付什器
3か月前
株式会社オカムラ
什器システム
2か月前
株式会社オカムラ
収納ボックス
2か月前
株式会社オカムラ
ショーケース
3か月前
株式会社オカムラ
管理システム
3か月前
株式会社オカムラ
コンベヤ装置
6か月前
株式会社オカムラ
コンベヤ装置
6か月前
株式会社オカムラ
パネル構造体
6か月前
株式会社オカムラ
閉断面構造体
6か月前
株式会社オカムラ
背凭れ及び椅子
6か月前
株式会社オカムラ
背凭れ及び椅子
6か月前
株式会社オカムラ
肘掛け及び椅子
6か月前
株式会社オカムラ
背凭れ及び椅子
6か月前
株式会社オカムラ
天板昇降式什器
3か月前
株式会社オカムラ
空間形成用什器
2か月前
株式会社オカムラ
肘掛け及び椅子
6か月前
続きを見る
他の特許を見る