TOP
|
特許
|
意匠
|
商標
特許ウォッチ
Twitter
他の特許を見る
公開番号
2025076638
公報種別
公開特許公報(A)
公開日
2025-05-16
出願番号
2023188356
出願日
2023-11-02
発明の名称
空間構造体
出願人
株式会社オカムラ
代理人
個人
,
個人
,
個人
,
個人
主分類
E04B
2/74 20060101AFI20250509BHJP(建築物)
要約
【課題】強度を大として間仕切パネル等のオプション材を安定的に支持することができるとともに、オプション材の下端部の支持強度や施工性を高めることができるようにした空間構造体を提供する。
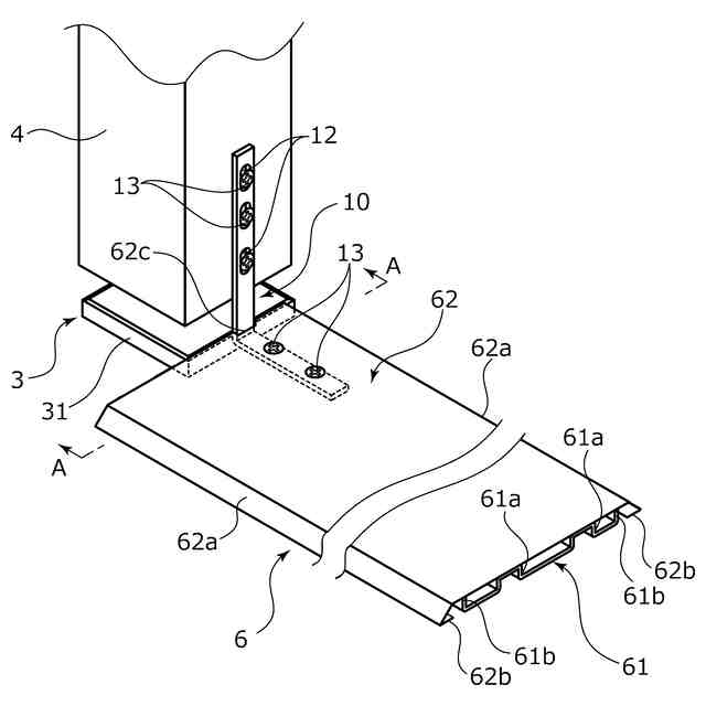
【解決手段】高さ調整手段3を介して下端部が床面に支持された複数の支柱4と、隣り合う支柱4、4の上端部同士を連結するビーム5とを備える空間構造体1であって、隣り合う支柱4、4における高さ調整手段3間の床面Fに平板状のベース部材6を渡設し、ベース部材6の長手方向の両側端部を固定手段10により隣り合う支柱4、4の内側面に固定した。
【選択図】図3
特許請求の範囲
【請求項1】
高さ調整手段を介して下端部が床面に支持された複数の支柱を備える空間構造体であって、
隣り合う前記支柱における前記高さ調整手段間の床面に平板状のベース部材を渡設し、該ベース部材の長手方向の両側端部を固定手段により隣り合う前記支柱の内側面に固定したことを特徴とする空間構造体。
続きを表示(約 460 文字)
【請求項2】
前記高さ調整手段は、前記床面に載置される多角形の台座を有し、該台座の内側辺に前記ベース部材の長手方向の側端を当接させたことを特徴とする請求項1に記載の空間構造体。
【請求項3】
隣り合う前記支柱の内側面と前記ベース部材の両側端部は、内向き水平部と起立部とからなる前記固定手段であるL字状の固定金具により固定されていることを特徴とする請求項1に記載の空間構造体。
【請求項4】
前記ベース部材の側端部には前記固定金具の前記起立部の下端部が嵌合可能な凹溝が形成されていることを特徴とする請求項3に記載の空間構造体。
【請求項5】
前記支柱の内側面と前記台座の内側辺は同一面に整合していることを特徴とする請求項4に記載の空間構造体。
【請求項6】
前記固定金具の起立部と前記支柱の内側面とのいずれか一方には、前記支柱の内側面に前記起立部を固定するためのねじが挿入される上下方向の長孔が形成されていることを特徴とする請求項3に記載の空間構造体。
発明の詳細な説明
【技術分野】
【0001】
本発明は、床面に自立可能に設置され、オフィスや展示場等の室内空間を所定の大きさに区画する空間構造体に関する。
続きを表示(約 1,600 文字)
【背景技術】
【0002】
このような従来の空間構造体としては、例えば特許文献1に記載されているものがある。この従来の空間構造体は、アジャスタを介して床面により支持された前後左右に離間する4本の支柱と、対向する支柱の上端部同士を連結する4本の連結杆と、互いに対向するビームの中間部の対向面同士を連結する十字状の連結杆とを備え、対向する支柱間には複数の間仕切パネルが取り付けられている。
【先行技術文献】
【特許文献】
【0003】
特開2017-89242号公報(第4頁、第1図)
【発明の概要】
【発明が解決しようとする課題】
【0004】
特許文献1に記載されている空間構造体においては、各支柱の下端部がアジャスタを介して床面に支持されているのみであるので、空間構造体の強度は比較的小さく、地震等の発生時に空間構造体全体が揺れ動くことが予想される。このようになると、連結杆と隣り合う支柱間に取り付けられる間仕切パネル等のオプション材を安定的に支持することができず、例えばオプション材をガラスパネルとした際に該ガラスパネルが損傷したりするおそれがある。
【0005】
また、間仕切パネル等のオプション材の下端部の支持強度を高めることができないだけでなく、オプション材取付け時の施工性も悪い。また、オプション材の下端部を床面により支持しようとすると、オプション材の荷重により床面に傷を付ける虞もある。
【0006】
本発明は、このような問題点に着目してなされたもので、強度を大として間仕切パネル等のオプション材を安定的に支持することができるとともに、オプション材の下端部の支持強度や施工性を高めることができるようにした空間構造体を提供することを目的とする。
【課題を解決するための手段】
【0007】
前記課題を解決するために、本発明の空間構造体は、
高さ調整手段を介して下端部が床面に支持された複数の支柱を備える空間構造体であって、
隣り合う前記支柱における前記高さ調整手段間の床面に平板状のベース部材を渡設し、該ベース部材の長手方向の両側端部を固定手段により隣り合う前記支柱の内側面に固定したことを特徴としている。
この特徴によれば、隣り合う支柱の内側面に床面に接するベース部材の両側端部を固定することにより、隣り合う支柱とビームとベース部材とにより強固な枠状フレームが形成されるため、空間構造体の強度が大となる。その結果、隣り合う支柱とビームとベース部材との間に間仕切パネル等のオプション材を安定的に支持することができる。また、ベース部材により間仕切パネル等のオプション材の下端部を支持することができるので、オプション材の下端部の支持強度やオプション材取り付け時の施工性が高まる。
【0008】
前記高さ調整手段は、前記床面に載置される多角形の台座を有し、該台座の内側辺に前記ベース部材の長手方向の側端を当接させたことを特徴としている。
この特徴によれば、台座がベース部材に当接して回り止めされるので、高さ調整後において支柱の高さが変わるのを防止することができる。
【0009】
隣り合う前記支柱の内側面と前記ベース部材の両側端部は、内向き水平部と起立部とからなる前記固定手段であるL字状の固定金具により固定されていることを特徴としている。
この特徴によれば、隣り合う支柱の内側面にベース部材の両側端部を容易に、かつ強固に連結することができる。
【0010】
前記ベース部材の側端部には前記固定金具の前記起立部の下端部が嵌合可能な凹溝が形成されていることを特徴としている。
この特徴によれば、台座の内側辺にベース部材の側端を当接させた状態で、支柱の内側面にベース部材の側端部を固定金具により固定することができる。
(【0011】以降は省略されています)
この特許をJ-PlatPat(特許庁公式サイト)で参照する
関連特許
株式会社オカムラ
椅子
今日
株式会社オカムラ
椅子
今日
株式会社オカムラ
収納装置
2か月前
株式会社オカムラ
収納装置
2か月前
株式会社オカムラ
収納装置
2か月前
株式会社オカムラ
収納装置
2か月前
株式会社オカムラ
天板付什器
2か月前
株式会社オカムラ
天板付什器
2か月前
株式会社オカムラ
移動式什器
1か月前
株式会社オカムラ
什器システム
2か月前
株式会社オカムラ
収納ボックス
2か月前
株式会社オカムラ
パーティション
1か月前
株式会社オカムラ
移動間仕切装置
2か月前
株式会社オカムラ
パーティション
1か月前
株式会社オカムラ
移動間仕切装置
2か月前
株式会社オカムラ
電力供給システム
1か月前
株式会社オカムラ
間仕切パネル装置
2か月前
株式会社オカムラ
故障予知システム
2か月前
株式会社オカムラ
モバイルバッテリ
2か月前
株式会社オカムラ
オフィス収納装置
2か月前
株式会社オカムラ
什器、什器システム
今日
株式会社オカムラ
天板付什器、什器システム
2か月前
株式会社オカムラ
天板付什器、什器システム
2か月前
株式会社オカムラ
什器ユニットおよび天板付什器
2か月前
株式会社オカムラ
作業用什器および什器システム
今日
株式会社オカムラ
椅子用荷重支持部材、及び、椅子
今日
株式会社オカムラ
天板付き什器、及び、什器ユニット
2か月前
株式会社オカムラ
制御装置、収納システム、端末装置及びプログラム
2か月前
株式会社オカムラ
椅子
1か月前
株式会社オカムラ
ブース
2か月前
株式会社オカムラ
ブース
2か月前
株式会社オカムラ
ブースおよびブース組立方法
1か月前
コクヨ株式会社
ブース
1か月前
個人
接合構造
1か月前
個人
屋台
2か月前
個人
タッチミー
1か月前
続きを見る
他の特許を見る