TOP
|
特許
|
意匠
|
商標
特許ウォッチ
Twitter
他の特許を見る
公開番号
2025108859
公報種別
公開特許公報(A)
公開日
2025-07-24
出願番号
2024002323
出願日
2024-01-11
発明の名称
溝形鋼
出願人
株式会社山水
代理人
個人
,
個人
主分類
E04C
3/07 20060101AFI20250716BHJP(建築物)
要約
【課題】支え得る荷重の低下を抑えつつさらなる軽量化を図り得ること。
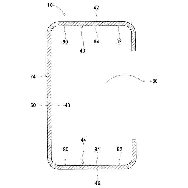
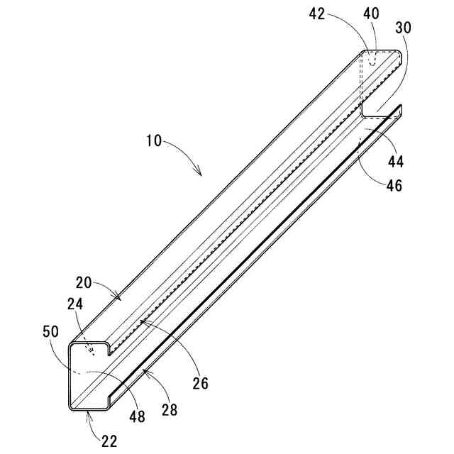
【解決手段】溝形鋼10は、互いに沿うように延びる一方フランジ20および他方フランジ22と、ウェブ24とを備える。ウェブ24は、一方フランジ20の一端と他方フランジ22の一端とに連なることで一方フランジ20および他方フランジ22と共に内側空間30を形成する。ウェブ24は、一方フランジ20および他方フランジ22に沿う。一方対向面40および他方対向面44のいずれかに、限界向上区域が設けられている。一方対向面40は、一方フランジ20のうち内側空間30に対向する範囲である。他方対向面44は、他方フランジ22のうち内側空間30に対向する範囲である。限界向上区域は、一方フランジ20および他方フランジ22のうち限界向上区域の裏側にあたる区域に比べて弾性限界が大きい区域である。
【選択図】図1
特許請求の範囲
【請求項1】
互いに沿うように延びるフランジの対と、
ウェブとを備え、
前記ウェブは、前記フランジの対の一方の一端と前記フランジの対の他方の一端とに連なることで前記フランジの対と共に内側空間を形成し、かつ、前記フランジの対に沿い、
前記フランジの対の一方のうち前記内側空間に対向する一方対向面、および、前記フランジの対の他方のうち前記内側空間に対向する他方対向面のいずれかに、限界向上区域が設けられており、
前記限界向上区域が、前記限界向上区域が設けられている前記フランジのうち前記限界向上区域の裏側にあたる区域に比べて弾性限界が大きい区域であることを特徴とする溝形鋼。
続きを表示(約 140 文字)
【請求項2】
前記限界向上区域のいずれかが前記フランジと前記ウェブとが連なる箇所に接するように配置されていることを特徴とする請求項1に記載の溝形鋼。
【請求項3】
前記限界向上区域のいずれかにおける残留応力が圧縮応力であることを特徴とする請求項1に記載の溝形鋼。
発明の詳細な説明
【技術分野】
【0001】
本発明は、溝形鋼に関する。
続きを表示(約 1,300 文字)
【背景技術】
【0002】
特許文献1は溝形鋼を開示する。この溝形鋼は、ヘミング折り返し成形加工が施されることによりフランジ部が2重、3重あるいはそれ以上の重なりを持った断面形状とされているものである。
【0003】
特許文献1に開示されている溝形鋼は、同じ重量および同じ外形寸法であっても断面二次モーメント等を大きくできる。
【先行技術文献】
【特許文献】
【0004】
特開2011-125894号公報
【発明の概要】
【発明が解決しようとする課題】
【0005】
しかしながら、特許文献1に開示された溝形鋼には、さらなる軽量化が困難という問題点がある。
【0006】
本発明は、このような問題を解消するものである。その目的は、支え得る荷重の低下を抑えつつさらなる軽量化を図り得る溝形鋼を提供することにある。
【課題を解決するための手段】
【0007】
図面を参照して本発明の溝形鋼を説明する。なお、この欄で図中の符号を使用したのは、発明の内容の理解を助けるためであって、内容を図示した範囲に限定する意図ではない。
【0008】
上述された課題を解決するために、本発明のある局面に従うと、溝形鋼10は、互いに沿うように延びるフランジ20,22の対と、ウェブ24とを備える。ウェブ24は、フランジ20,22の対の一方の一端とフランジ20,22の対の他方の一端とに連なることでフランジ20,22の対と共に内側空間30を形成する。ウェブ24は、フランジ20,22の対に沿う。一方対向面40および他方対向面44のいずれかに、限界向上区域60,62,80,82が設けられている。一方対向面40は、フランジ20,22の対の一方のうち内側空間30に対向する。他方対向面44は、フランジ20,22の対の他方のうち内側空間30に対向する。限界向上区域60,62,80,82は、限界向上区域60,62,80,82が設けられているフランジ20,22のうち限界向上区域60,62,80,82の裏側にあたる区域に比べて弾性限界が大きい区域である。
【0009】
フランジ20,22のうち内側空間30に対向する部分に限界向上区域60,62,80,82が設けられることは、その限界向上区域60,62,80,82が設けられる箇所の厚さが厚い場合と同様に、弾性限界の低下を抑えることにつながる。このようにして弾性限界の低下が抑えられることは、支え得る荷重の低下を抑えつつフランジ20,22の厚さを薄くし得ることを意味する。厚さを薄くし得ることは、支え得る荷重の低下を抑えつつさらなる軽量化を図り得ることを意味する。これにより、フランジ20,22のうち内側空間30に対向する部分に限界向上区域60,62,80,82が設けられると、支え得る荷重の低下を抑えつつさらなる軽量化を図り得ることとなる。
【0010】
また、上述された限界向上区域60,62,80,82のいずれかがフランジ20,22とウェブ24とが連なる箇所に接するように配置されていることが望ましい。
(【0011】以降は省略されています)
この特許をJ-PlatPat(特許庁公式サイト)で参照する
関連特許
株式会社山水
溝形鋼
2か月前
個人
接合構造
7日前
個人
タッチミー
6日前
個人
屋台
24日前
個人
野良猫ハウス
1か月前
個人
キャチクランプ
4か月前
個人
転落防止用手摺
1か月前
個人
フェンス
1か月前
個人
地下型マンション
3か月前
個人
居住車両用駐車場
1か月前
ニチハ株式会社
建築板
1か月前
個人
水害と共にある家
5か月前
積水樹脂株式会社
柵体
1か月前
個人
筋交自動設定装置
14日前
個人
ベンリナアングル
6日前
株式会社タナクロ
テント
3か月前
個人
熱抵抗多層断熱建材
1か月前
個人
壁断熱パネル
4か月前
個人
津波と共にある漁港
5か月前
個人
鋼管結合資材
3か月前
個人
補強部材
1か月前
個人
地滑りと共にある山荘
5か月前
個人
柵
2か月前
個人
パーティション
5か月前
鹿島建設株式会社
壁体
1か月前
成友建設株式会社
建物
1か月前
個人
循環流水式屋根融雪装置
3か月前
個人
身体用シェルター
14日前
個人
身体用シェルター
14日前
イワブチ株式会社
組立柱
1か月前
三協立山株式会社
構造体
14日前
株式会社熊谷組
床構成材
4日前
三協立山株式会社
構造体
3か月前
三協立山株式会社
構造体
4か月前
三協立山株式会社
構造体
14日前
インターマン株式会社
天井構造
2か月前
続きを見る
他の特許を見る