TOP
|
特許
|
意匠
|
商標
特許ウォッチ
Twitter
他の特許を見る
10個以上の画像は省略されています。
公開番号
2025070416
公報種別
公開特許公報(A)
公開日
2025-05-02
出願番号
2023180714
出願日
2023-10-20
発明の名称
フェンス
出願人
積水樹脂株式会社
代理人
主分類
E04H
17/06 20060101AFI20250424BHJP(建築物)
要約
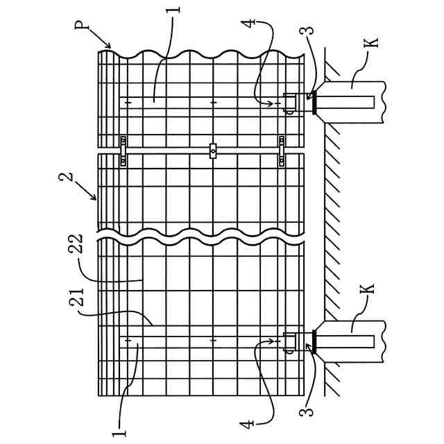
【課題】フェンスの支柱に人や車両が衝突した場合に、支柱から離れても、その反動で、支柱が人や車両に当たるおそれが少ないフェンスを提供する。
【解決手段】ベースプレート3上に支柱1を立設し、支柱1間にパネル体2を取付けたフェンスPであって、ベースプレート3を、支柱1の左右に相対向して立設された一対の立上り部32と、支柱1の前方に立設された支持部33と、支柱1の後方に立設された受け部34とから構成し、支柱1の下部11を立上り部32間に後傾可能に支持し、支柱1の下部11と支持部34との間に支柱1の下部11を後方へ付勢する弾性部材5を配置し、
そして受け部33によって支柱1の前傾を阻止するようにフェンスPを構成する。
【選択図】 図1
特許請求の範囲
【請求項1】
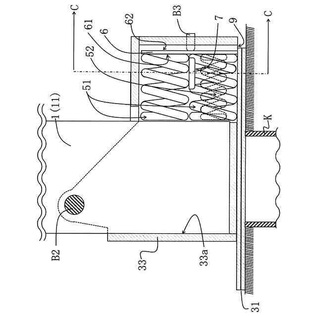
間隔をおいて設置されたベースプレートに支柱がそれぞれ設けられ、前記支柱間にパネル体が取付けられたフェンスであって、前記ベースプレートは、支柱の左右に相対向して立設された一対の立上り部と、支柱の前方に立設された支持部と、支柱の後方に立設された受け部とを備え、前記支柱の下部が前記立上り部間に後傾可能に支持されると共に、前記受け部は、支柱の前傾を阻止するようになされ、かつ前記支柱の下部と支持部との間には該支柱の下部を後方へ付勢する弾性部材が配置され、前記弾性部材は上下に複数配置されたコイルバネを有することを特徴とするフェンス。
続きを表示(約 140 文字)
【請求項2】
前記上下のコイルバネの間に、スぺ-サを配置したことを特徴とする、請求項1記載のフェンス。
【請求項3】
前記弾性部材は、少なくとも下方向のコイルバネの内側にバネ定数の異なるコイルバネを配したことを特徴とする請求項1又は2記載のフェンス。
発明の詳細な説明
【技術分野】
【0001】
本発明は、住宅、工場、公園等の敷地境界部や隣地境界部に沿って取付けられるフェンスに関し、特にフェンスの支柱がベースプレートを介して立設されたフェンスに関するものである。
続きを表示(約 1,300 文字)
【背景技術】
【0002】
一般に、住宅、駐車場等の敷地境界部や隣地境界部に沿って取付けられるフェンスにおいて、そのフェンス用支柱を設置する場合は、支柱下部にコンクリート基礎部を設けてこの基礎部を土中に埋設する方法が用いられている。
【0003】
これらの方法により設置されたフェンスでは、フェンス本体、あるいは支柱に自動車等の車輌が衝突すると、支柱が変形するばかりでなく、衝突した車輌に対しても変形等の不具合が生じるおそれがある。
【0004】
例えば、特許文献1には、下端部に弾性体を介して傾動可能に植立された複数本の支柱と、その支柱間に配置された柵体と、その柵体と支柱の間を連結している連結体とからなり、その連結体がゴム様弾性体内に弛緩状態で抗張体を埋設された可動性防護柵が提案されている。
【先行技術文献】
【特許文献】
【0005】
実用登録新案第2560885号公報
特開2011-094340号公報
【発明の概要】
【発明が解決しようとする課題】
【0006】
しかしながら、前記の可動性防護柵は、人が支柱に寄りかかったり、車両が支柱に衝突したりすれば、支柱が傾くと共にゴム様弾性体に弾性エネルギーとして吸収されるため、人や車両が支柱から離れると、弾性エネルギーが解放され、その反動で支柱が元の位置を超えて反対側に大きく傾いて、人や車両に当たるおそれがあり、その点が問題であった。
【0007】
特許文献2では、その問題を解決するために、受け部と板バネを使用することで、支柱の前傾を阻止しているが、所定の反力を得るため、板バネのサイズを大きくし、更に、支柱の前傾方向に複数個配置する必要があり、板バネを収めるベースプレートのサイズも大きなものであった。そのため、設置時に広いスペースを必要とし、フェンスとベースプレート間を狭くした場合、ベースプレート部分で人が躓いたり、車体に接触したりするなど、設置性や安全性に問題があった。
【0008】
本発明は、前記の如き問題点を解消し、フェンスの支柱に人や車両が衝突した場合に、支柱から離れても、その反動で、支柱が人や車両にあたるおそれが少ないフェンスを提供せんとするものである。
【課題を解決するための手段】
【0009】
上記目的を達成するために、本発明は次のような構成としている。
【0010】
すなわちこの発明に係るフェンスは、間隔をおいて設置されたベースプレートに支柱がそれぞれ設けられ、前記支柱間にパネル体が取付けられたフェンスであって、前記ベースプレートは支柱の左右に相対向して立設された一対の立上り部と、支柱の前方に立設された支持部と、支柱の後方に立設された受け部とを備え、前記支柱の下部が前記立上り部間に後傾可能に支持されると共に、前記受け部は、支柱の前傾を阻止するようになされ、かつ前記支柱の下部と支持部との間には該支柱の下部を後方へ付勢する弾性部材が配置され、前記弾性部材は上下に複数配置されたコイルバネを有することを特徴とするものである。
【発明の効果】
(【0011】以降は省略されています)
この特許をJ-PlatPat(特許庁公式サイト)で参照する
関連特許
積水樹脂株式会社
柵体
1か月前
積水樹脂株式会社
吸音シート
11日前
積水樹脂株式会社
フェンス、フェンスの施工方法、外構製品、及び外構製品の施工方法
今日
個人
接合構造
8日前
個人
タッチミー
7日前
個人
屋台
25日前
個人
野良猫ハウス
1か月前
個人
キャチクランプ
4か月前
個人
転落防止用手摺
1か月前
個人
フェンス
1か月前
ニチハ株式会社
建築板
1か月前
個人
居住車両用駐車場
1か月前
個人
ベンリナアングル
7日前
積水樹脂株式会社
柵体
1か月前
個人
地下型マンション
3か月前
個人
筋交自動設定装置
15日前
個人
鋼管結合資材
3か月前
個人
壁断熱パネル
4か月前
株式会社タナクロ
テント
3か月前
個人
熱抵抗多層断熱建材
1か月前
個人
柵
2か月前
個人
補強部材
1か月前
個人
身体用シェルター
15日前
成友建設株式会社
建物
1か月前
鹿島建設株式会社
壁体
1か月前
個人
循環流水式屋根融雪装置
3か月前
個人
身体用シェルター
15日前
三協立山株式会社
構造体
3か月前
株式会社熊谷組
床構成材
5日前
株式会社熊谷組
木質材料
25日前
三協立山株式会社
構造体
15日前
株式会社熊谷組
吊り治具
12日前
三協立山株式会社
構造体
15日前
三協立山株式会社
構造体
15日前
イワブチ株式会社
組立柱
1か月前
三協立山株式会社
構造体
15日前
続きを見る
他の特許を見る