TOP
|
特許
|
意匠
|
商標
特許ウォッチ
Twitter
他の特許を見る
10個以上の画像は省略されています。
公開番号
2025076615
公報種別
公開特許公報(A)
公開日
2025-05-16
出願番号
2023188287
出願日
2023-11-02
発明の名称
肘掛け及び椅子
出願人
株式会社オカムラ
代理人
個人
主分類
A47C
7/54 20060101AFI20250509BHJP(家具;家庭用品または家庭用設備;コーヒーひき;香辛料ひき;真空掃除機一般)
要約
【課題】締結部材が挿通される部分を閉塞しつつ、外観が損なわれるのを抑えることができる肘掛け及び椅子を提供する。
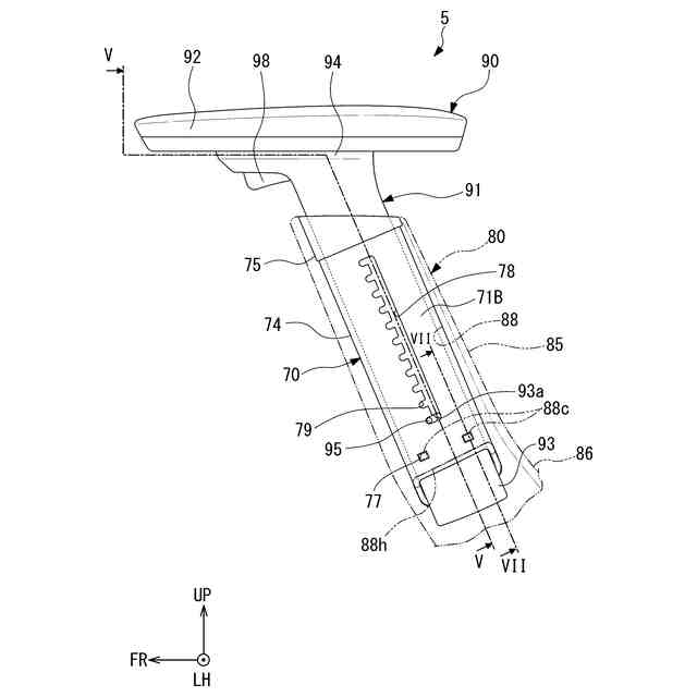
【解決手段】肘掛け5は、上下方向に貫通する支柱挿入孔88が形成され、椅子本体1Aに取り付けられる肘掛け支持部材80と、支柱挿入孔88内に挿入される肘掛け支柱93を有し、肘掛け支持部材80に対して上下動可能に支持された肘掛け本体90と、を備えている。肘掛け支持部材80には、支柱挿入孔88の内周面に開口する挿通孔開口部86kを有し、肘掛け支持部材80を椅子本体1Aに固定するためのボルト61が挿入可能とされた締結部材挿通孔86hが形成されている。支柱挿入孔88内には、挿通孔開口部86kを遮蔽するスリーブ部材70が設けられている。
【選択図】図3
特許請求の範囲
【請求項1】
上下方向に貫通する支柱挿入孔が形成され、椅子本体に取り付けられる外筒部材と、
前記支柱挿入孔内に挿入される肘掛け支柱を有し、前記外筒部材に対して上下動可能に支持された肘掛け本体と、を備え、
前記外筒部材には、前記支柱挿入孔の内周面に開口する挿通孔開口部を有し、前記外筒部材を前記椅子本体に固定するための締結部材が挿入可能とされた締結部材挿通孔が形成され、
前記支柱挿入孔内には、前記挿通孔開口部を遮蔽する遮蔽部材が設けられている
肘掛け。
続きを表示(約 500 文字)
【請求項2】
前記遮蔽部材は、前記支柱挿入孔内で前記肘掛け支柱の周囲を取り囲んで前記肘掛け支柱を上下動可能に支持するとともに、前記外筒部材に対して上下動不能に設けられたスリーブ部材である
請求項1に記載の肘掛け。
【請求項3】
前記外筒部材の下端面は、上下方向に交差する第一方向のうち前記椅子本体の中心に近づく第一側に向かうに従い下方に延びるとともに、前記支柱挿入孔の下端開口部が開口する外筒傾斜面を備え、
前記挿通孔開口部は、前記下端開口部を通して作業者がアクセス可能となる位置に設けられている
請求項1又は2に記載の肘掛け。
【請求項4】
前記挿通孔開口部は、前記下端開口部を通して左右方向外側から視認可能に設けられている
請求項3に記載の肘掛け。
【請求項5】
前記締結部材挿通孔には、左右方向内側からボルトが挿入され、前記挿通孔開口部には、前記ボルトに締結されるナットが収容されている
請求項1又は2に記載の肘掛け。
【請求項6】
請求項1又は請求項2に記載の肘掛けを備えている椅子。
発明の詳細な説明
【技術分野】
【0001】
本発明は、肘掛け及び椅子に関する。
続きを表示(約 2,300 文字)
【背景技術】
【0002】
例えば、特許文献1には、椅子の背凭れを構成する枠部材の下部の左右方向両側に、肘掛けが締結部材(ボルト)を介して取り付けられた構成が開示されている。この構成において、肘掛けの左右方向の外側には、締結部材を挿通させる貫通孔が形成された凹部が設けられている。この凹部の開口は、肘掛けの左右方向の外側に取り付けられたカバープレートにより閉塞されている。
【先行技術文献】
【特許文献】
【0003】
特許第6765182号公報
【発明の概要】
【発明が解決しようとする課題】
【0004】
しかしながら、特許文献1に開示されたような構成では、肘掛けの左右方向の外側に、凹部の開口を閉塞するためのカバープレートが露呈しており、椅子の外観が損なわれてしまう虞がある。
本発明は、締結部材が挿通される部分を閉塞しつつ、外観が損なわれるのを抑えることができる肘掛け及び椅子を提供することを目的とする。
【課題を解決するための手段】
【0005】
上記課題を解決するために、本発明は以下の態様を採用した。
(1)本発明の一態様に係る肘掛けは、上下方向に貫通する支柱挿入孔が形成され、椅子本体に取り付けられる外筒部材と、前記支柱挿入孔内に挿入される肘掛け支柱を有し、前記外筒部材に対して上下動可能に支持された肘掛け本体と、を備え、前記外筒部材には、前記支柱挿入孔の内周面に開口する挿通孔開口部を有し、前記外筒部材を前記椅子本体に固定するための締結部材が挿入可能とされた締結部材挿通孔が形成され、前記支柱挿入孔内には、前記挿通孔開口部を遮蔽する遮蔽部材が設けられている。
本態様によれば、支柱挿入孔の内周面に挿通孔開口部が形成されていることで、従来のように、肘掛けの外側面上に凹部が露出する構成と異なり、肘掛けの外側面上にカバープレートを設ける必要がない。その上で、挿通孔開口部が支柱挿入孔内において遮蔽部材によって遮蔽されているため、肘掛け支持部材に対して肘掛け本体が上下動する構成において、肘掛け本体の高さに関わらず、挿通孔開口部が外部に露呈することを抑制できる。その結果、肘掛けの外観の体裁を向上させることができる。
【0006】
(2)上記(1)の態様に係る肘掛けにおいて、前記遮蔽部材は、前記支柱挿入孔内で前記肘掛け支柱の周囲を取り囲んで前記肘掛け支柱を上下動可能に支持するとともに、前記外筒部材に対して上下動不能に設けられたスリーブ部材であることが好ましい。
本態様によれば、肘掛け本体を上下動可能に支持するスリーブ部材を遮蔽部材として用いることで、遮蔽部材として専用のものを用意する必要が無く(遮蔽部材とスリーブ部材とを別体で用意する必要がない)。そのため、部品点数を削減して、肘掛けのコスト低減、組立工数の低減に寄与できる。
【0007】
(3)上記(2)の態様に係る肘掛けにおいて、前記外筒部材の下端面は、上下方向に交差する第一方向のうち前記椅子本体の中心に近づく第一側に向かうに従い下方に延びるとともに、前記支柱挿入孔の下端開口部が開口する外筒傾斜面を備え、前記挿通孔開口部は、前記下端開口部を通して作業者がアクセス可能となる位置に設けられていることが好ましい。
本態様によれば、挿通孔開口部が、外筒部材の下端面に形成された外筒傾斜面に設けられた下端開口部を通して、作業者がアクセス可能な構成とした。これにより、作業者は、締結部材挿通孔に挿通された締結部材に対し、挿通孔開口部から手指や工具等で容易にアクセスすることができ、作業性が向上する。
【0008】
(4)上記(3)の態様に係る肘掛けにおいて、前記挿通孔開口部は、前記下端開口部を通して左右方向外側から視認可能に設けられていることが好ましい。
本態様によれば、挿通孔開口部が、下端開口部を通して左右方向外側から視認可能に設けられている構成とした。これにより、作業者が挿通孔開口部にアクセスする際、挿通孔開口部を視認しやすく、作業性が向上する。一方、下端開口部は、外筒部材の下端面において、上下方向に交差する第一方向のうち前記椅子本体の中心に近づく第一側に向かうに従い下方に延びる外筒傾斜面に形成されている。このため、斜め上方から見た際には、下端開口部を通して、挿通孔開口部や、挿通孔開口部を閉塞する遮蔽部材が視認しにくく、外観が損なわれるのを抑えることができる。
【0009】
(5)上記(1)から(4)の何れかの態様に係る肘掛けにおいて、前記締結部材挿通孔には、左右方向内側からボルトが挿入され、前記挿通孔開口部には、前記ボルトに締結されるナットが収容されていることが好ましい。
本態様によれば、挿通孔開口部には、締結部材挿通孔に挿通されたボルトに締結されるナットが収容される構成とした。これにより、肘掛けを椅子本体に取り付ける際には、下端開口部を通して挿通孔開口部にナットを収容すれば良く、ナットよりも長いボルトを挿通孔開口部に収容する場合に比較し、作業しやすい。
【0010】
(6)本発明の一態様に係る椅子は、上記(1)から(5)の何れかの態様に係る態様に係る肘掛けを備えている。
本態様によれば、締結部材が挿通される部分を閉塞しつつ、外観が損なわれるのを抑えることができる肘掛けを備えた椅子を提供することが可能となる。
【発明の効果】
(【0011】以降は省略されています)
この特許をJ-PlatPat(特許庁公式サイト)で参照する
関連特許
株式会社オカムラ
椅子
今日
株式会社オカムラ
椅子
今日
株式会社オカムラ
収納装置
2か月前
株式会社オカムラ
収納装置
2か月前
株式会社オカムラ
収納装置
2か月前
株式会社オカムラ
収納装置
2か月前
株式会社オカムラ
天板付什器
2か月前
株式会社オカムラ
天板付什器
2か月前
株式会社オカムラ
移動式什器
1か月前
株式会社オカムラ
防水板装置
2か月前
株式会社オカムラ
什器システム
2か月前
株式会社オカムラ
収納ボックス
2か月前
株式会社オカムラ
天板昇降式什器
2か月前
株式会社オカムラ
天板昇降式什器
2か月前
株式会社オカムラ
空間形成用什器
2か月前
株式会社オカムラ
移動間仕切装置
2か月前
株式会社オカムラ
移動間仕切装置
2か月前
株式会社オカムラ
天板昇降式什器
3か月前
株式会社オカムラ
パーティション
1か月前
株式会社オカムラ
パーティション
1か月前
株式会社オカムラ
電力供給システム
1か月前
株式会社オカムラ
モバイルバッテリ
2か月前
株式会社オカムラ
故障予知システム
2か月前
株式会社オカムラ
間仕切パネル装置
2か月前
株式会社オカムラ
オフィス収納装置
2か月前
株式会社オカムラ
什器、什器システム
今日
株式会社オカムラ
天板付什器、什器システム
2か月前
株式会社オカムラ
天板付什器、什器システム
2か月前
株式会社オカムラ
什器ユニットおよび天板付什器
2か月前
株式会社オカムラ
作業用什器および什器システム
今日
株式会社オカムラ
椅子用荷重支持部材、及び、椅子
今日
株式会社オカムラ
天板付き什器、及び、什器ユニット
2か月前
株式会社オカムラ
空間形成什器ユニット、及び、空間形成什器
3か月前
株式会社オカムラ
制御装置、収納システム、端末装置及びプログラム
2か月前
株式会社オカムラ
制御装置、収納システム、端末装置及びプログラム
2か月前
株式会社オカムラ
椅子
1か月前
続きを見る
他の特許を見る