TOP
|
特許
|
意匠
|
商標
特許ウォッチ
Twitter
他の特許を見る
10個以上の画像は省略されています。
公開番号
2025138047
公報種別
公開特許公報(A)
公開日
2025-09-25
出願番号
2024036755
出願日
2024-03-11
発明の名称
間仕切パネル装置
出願人
株式会社オカムラ
代理人
個人
,
個人
,
個人
,
個人
主分類
E04B
2/72 20060101AFI20250917BHJP(建築物)
要約
【課題】ガラスパネル同士の相対位置を確実に保持できる間仕切パネル装置を提供する。
【解決手段】左右方向に連設される複数のガラスパネル4,4,…と、隣り合うガラスパネル4,4同士の間に配置され、ガラスパネル4,4同士を保持する保持体7,7,…と、を備える間仕切パネル装置1であって、保持体7は、隣り合うガラスパネル4,4の前面に亘って当接配置される前側保持部材71と、隣り合うガラスパネル4,4の背面に亘って当接配置される後側保持部材72と、前側保持部材71と後側保持部材71とを離脱不能に接続する接続手段73と、前側保持部材71と後側保持部材72との相対回動を規制する規制手段71b,72b,72bと、を備える
【選択図】図7
特許請求の範囲
【請求項1】
左右方向に連設される複数のガラスパネルと、隣り合う前記ガラスパネル同士の間に配置され、前記ガラスパネル同士を保持する保持体と、を備える間仕切パネル装置であって、
前記保持体は、隣り合う前記ガラスパネルの前面に亘って当接配置される前側保持部材と、
隣り合う前記ガラスパネルの背面に亘って当接配置される後側保持部材と、
前記前側保持部材と前記後側保持部材とを離脱不能に接続する接続手段と、
前記前側保持部材と前記後側保持部材との相対回動を規制する規制手段と、を備えることを特徴とする間仕切パネル装置。
続きを表示(約 510 文字)
【請求項2】
前記前側保持部材および前記後側保持部材は、略同一の正面視略矩形状をなしていることを特徴とする請求項1に記載の間仕切パネル装置。
【請求項3】
前記規制手段は、前記前側保持部材および前記後側保持部材から突出し、隣り合う前記ガラスパネルの隙間に挿入される挿入部をそれぞれ備え、
前記前側保持部材の挿入部と前記後側保持部材の挿入部とは、前記前側保持部材と前記後側保持部材との相対回動を規制するように嵌合されることを特徴とする請求項1に記載の間仕切パネル装置。
【請求項4】
一方の前記挿入部は、上下に離間する2つの片を有し、他方の前記挿入部は、前記2つの片の間に嵌合することを特徴とする請求項2に記載の間仕切パネル装置。
【請求項5】
前記接続手段はボルトであり、
前記前側保持部材および前記後側保持部材の一方には、前記ボルトが挿通可能な貫通孔が設けられ、前記前側保持部材および前記後側保持部材の他方における前記挿入部には、前記ボルトが螺合するネジ孔が設けられていることを特徴とする請求項1ないし4のいずれかに記載の間仕切パネル装置。
発明の詳細な説明
【技術分野】
【0001】
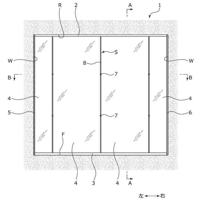
本発明は、ガラスパネルを左右に連設して空間を区画する間仕切パネル装置に関する。
続きを表示(約 1,900 文字)
【背景技術】
【0002】
建物内の部屋や空間を複数の区画に仕切って分割するために、天井から床面に亘って複数のパネルを取付けしてなる間仕切パネル装置が使用されている。このような間仕切パネル装置には、パネル体にガラスパネルを用い、空間を区画しながらも視認性を確保するようなものもある。
【0003】
例えば、特許文献1に示されるように、間仕切パネル装置は、複数枚のガラス板を左右方向に隣接して配置し、隣り合うガラス板の突き合わせ領域に反りを抑制するための矯正具が配置されている。矯正具は、隣り合うガラス板の一面にそれぞれ添接する第1の外装体と、隣り合うガラス板の他面にそれぞれ添接する第2の外装体と、第1の外装体と第2の外装体とを連結する連結体と、を備えている。
【0004】
連結体は、第1の外装体から突設される挿入板と、第2の外装体から突設され挿入板に設けられたねじ孔に螺着されるねじ軸とを備えている。第1の外装体の挿入板を隣り合うガラス板間の隙間に挿入した状態で第2の外装体のねじ軸を挿入板のねじ孔に螺着させることで隣り合うガラス板間に矯正具が配置されるようになっている。
【先行技術文献】
【特許文献】
【0005】
特開2021-120523号公報(第6頁、第4図)
【発明の概要】
【発明が解決しようとする課題】
【0006】
特許文献1の間仕切パネル装置における矯正具は、第1の外装体のネジ孔に対して第2の外装体およびねじ軸を回転させて螺着させることで簡便に取り付け作業を行うことができるようになっている。しかしながら、振動などによりネジ孔とねじ軸の螺合状態が緩む方向に第1の外装体と第2の外装体とが相対回動し、ガラス板と第1の外装体および第2の外装体との間に隙間が形成されることで、ガラス板の反りを抑制できなくなり、ガラス板同士の相対的な位置ずれが生じる虞があった。
【0007】
本発明は、このような問題点に着目してなされたもので、ガラスパネル同士の相対位置を確実に保持できる間仕切パネル装置を提供することを目的とする。
【課題を解決するための手段】
【0008】
前記課題を解決するために、本発明の間仕切パネル装置は、
左右方向に連設される複数のガラスパネルと、隣り合う前記ガラスパネル同士の間に配置され、前記ガラスパネル同士を保持する保持体と、を備える間仕切パネル装置であって、
前記保持体は、隣り合う前記ガラスパネルの前面に亘って当接配置される前側保持部材と、
隣り合う前記ガラスパネルの背面に亘って当接配置される後側保持部材と、
前記前側保持部材と前記後側保持部材とを離脱不能に接続する接続手段と、
前記前側保持部材と前記後側保持部材との相対回動を規制する規制手段と、を備えることを特徴としている。
この特徴によれば、規制手段により前側保持部材と後側保持部材との相対回動が規制されるので、前側保持部材と後側保持部材との相対回動に起因して接続手段による接続が緩むことを抑制でき、前側保持部材と後側保持部材とがガラスパネルから離れることを防止できる。
【0009】
前記前側保持部材および前記後側保持部材は、略同一の正面視略矩形状をなしていることを特徴としている。
この特徴によれば、前側保持部材および後側保持部材が正面視略矩形状をなすため、ガラスパネル間の隙間と略平行に前側保持部材および後側保持部材の側縁を揃えて配置でき、美観に優れる。また、規制手段により前側保持部材と後側保持部材との相対回動を規制した状態で接続手段により前側保持部材と後側保持部材とを接続できるため、前側保持部材および後側保持部材の回動角度を前後で簡便に合わせることができる。
【0010】
前記規制手段は、前記前側保持部材および前記後側保持部材から突出し、隣り合う前記ガラスパネルの隙間に挿入される挿入部をそれぞれ備え、
前記前側保持部材の挿入部と前記後側保持部材の挿入部とは、前記前側保持部材と前記後側保持部材との相対回動を規制するように嵌合されることを特徴としている。
この特徴によれば、前側保持部材の挿入部と後側保持部材の挿入部とが隣り合うガラスパネルの隙間に収まるように配置されるので挿入部が反対側の保持部材側に露見しにくくできる。
(【0011】以降は省略されています)
この特許をJ-PlatPat(特許庁公式サイト)で参照する
関連特許
株式会社オカムラ
収納装置
1か月前
株式会社オカムラ
収納装置
1か月前
株式会社オカムラ
収納装置
1か月前
株式会社オカムラ
収納装置
1か月前
株式会社オカムラ
防水板装置
1か月前
株式会社オカムラ
天板付什器
20日前
株式会社オカムラ
天板付什器
20日前
株式会社オカムラ
什器システム
1か月前
株式会社オカムラ
収納ボックス
1か月前
株式会社オカムラ
空間形成用什器
1か月前
株式会社オカムラ
天板昇降式什器
1か月前
株式会社オカムラ
天板昇降式什器
1か月前
株式会社オカムラ
移動間仕切装置
23日前
株式会社オカムラ
移動間仕切装置
23日前
株式会社オカムラ
オフィス収納装置
1か月前
株式会社オカムラ
故障予知システム
24日前
株式会社オカムラ
間仕切パネル装置
24日前
株式会社オカムラ
電力供給システム
9日前
株式会社オカムラ
モバイルバッテリ
20日前
株式会社オカムラ
天板付什器、什器システム
20日前
株式会社オカムラ
天板付什器、什器システム
20日前
株式会社オカムラ
什器ユニットおよび天板付什器
20日前
株式会社オカムラ
天板付き什器、及び、什器ユニット
20日前
株式会社オカムラ
制御装置、収納システム、端末装置及びプログラム
1か月前
株式会社オカムラ
制御装置、収納システム、端末装置及びプログラム
1か月前
株式会社オカムラ
椅子
13日前
株式会社オカムラ
ブース
19日前
株式会社オカムラ
ブース
19日前
株式会社オカムラ
ブースおよびブース組立方法
12日前
コクヨ株式会社
ブース
4日前
個人
接合構造
13日前
個人
タッチミー
12日前
個人
ベンリナアングル
12日前
個人
筋交自動設定装置
20日前
個人
身体用シェルター
20日前
個人
身体用シェルター
20日前
続きを見る
他の特許を見る