TOP
|
特許
|
意匠
|
商標
特許ウォッチ
Twitter
他の特許を見る
10個以上の画像は省略されています。
公開番号
2025141179
公報種別
公開特許公報(A)
公開日
2025-09-29
出願番号
2024040990
出願日
2024-03-15
発明の名称
天板付什器、什器システム
出願人
株式会社オカムラ
代理人
個人
主分類
A47B
13/02 20060101AFI20250919BHJP(家具;家庭用品または家庭用設備;コーヒーひき;香辛料ひき;真空掃除機一般)
要約
【課題】天板と対象物との間に隙間を形成しつつ、下部支持体と対象物との間に隙間が形成されるのを抑えることができる天板付什器を提供する。
【解決手段】天板付什器は、床面上に設けられる支持構造体と、支持構造体により下方から支持される天板と、を有する。支持構造体は、天板から下方に延びる上部支持体と、上部支持体の下端に接続され、床面に沿って延びる下部支持体と、を備える。下部支持体は、上方から見た際、天板に対して幅方向の外側に突出し、かつ前後方向に延びるとともに、当該天板付什器に隣接する対象物に当接可能な当接縁部を有する。
【選択図】図1
特許請求の範囲
【請求項1】
床面上に設けられる支持構造体と、
前記支持構造体により下方から支持される天板と、を有する天板付什器であって、
前記支持構造体は、
前記天板から下方に延びる上部支持体と、
前記上部支持体の下端に接続され、前記床面に沿って延びる下部支持体と、を備え、
前記下部支持体は、上方から見た際、前記天板に対して幅方向の外側に突出し、かつ水平面内で前記幅方向に交差する前後方向に延びるとともに、当該天板付什器に隣接する対象物に当接可能な当接縁部を有する
天板付什器。
続きを表示(約 940 文字)
【請求項2】
前記当接縁部は、前記天板の前記前後方向の長さに対し、1/2以上の長さを有する
請求項1に記載の天板付什器。
【請求項3】
前記当接縁部は、前記下部支持体の前記前後方向の長さの1/2以上にわたって延びている
請求項1に記載の天板付什器。
【請求項4】
前記当接縁部は、前記前後方向における前記下部支持体の全長にわたって延びている
請求項3に記載の天板付什器。
【請求項5】
前記当接縁部は、前記前後方向に、200mm以上連続して延びている
請求項1に記載の天板付什器。
【請求項6】
前記下部支持体は、
前記上部支持体の下端部に着脱可能に接続される接続部と、
前記接続部から前記前後方向の少なくとも一方に延び、前記当接縁部を有する下部延在部と、を一体に有する
請求項1又は2に記載の天板付什器。
【請求項7】
前記支持構造体は、前記幅方向に間隔をあけて一対設けられ、
前記支持構造体の各々の前記下部延在部における前記幅方向の内側の縁部は、前記接続部の前記幅方向の内側を向く内向面に対し、前記幅方向の外側に偏って配置されている
請求項6に記載の天板付什器。
【請求項8】
前記接続部は、前記当接縁部を前記幅方向の外側に向けた第一位置と、前記当接縁部を前記幅方向の内側に向けた第二位置との間で、前記上部支持体の下端部に対して切替可能とされている
請求項7に記載の天板付什器。
【請求項9】
前記支持構造体は、前記当接縁部を前記幅方向の外側に向けた第一位置と、前記当接縁部を前記幅方向の内側に向けた第二位置との間で、前記天板に対して切替可能とされている
請求項1又は2に記載の天板付什器。
【請求項10】
前記下部支持体は、上方から見た際、前記天板に対して前記前後方向の一方側に突出し、当該天板付什器に対して前記前後方向で向かい合う対象物に当接可能な他の当接縁部を有する
請求項1又は2に記載の天板付什器。
(【請求項11】以降は省略されています)
発明の詳細な説明
【技術分野】
【0001】
本発明は、天板付什器、什器システムに関する。
続きを表示(約 2,000 文字)
【背景技術】
【0002】
オフィスや公共施設等において、各種作業を行うことのできる作業面を有した天板を備えた天板付什器(例えば、デスクやテーブル等)が用いられている。このような天板付什器において、天板と、天板付什器と隣り合って配置された他の什器や壁等との間に、隙間をあけて配置することがある。このような場合、天板付什器の位置がずれると、天板と、他の什器や壁等との間の隙間が変動してしまう。
【0003】
このため、例えば、特許文献1には、天板付什器の脚体の下部支持体の下面に設けられ、下部支持体から側方に突出する位置決め部材を備える構成が開示されている。この構成において、下部支持体から側方に突出させた位置決め部材を、他の什器の下部支持体や壁等に突き当てることで、天板と、隣接する他の什器や壁等との間に隙間を形成しつつ、天板付什器と他の什器や壁等との位置関係がずれるのを抑えている。
【先行技術文献】
【特許文献】
【0004】
特許第6508811号公報
【発明の概要】
【発明が解決しようとする課題】
【0005】
しかしながら、位置決め部材を、他の什器の下部支持体や壁等に突き当てると、下部支持体と、他の什器の下部支持体や壁等との間に隙間が形成される。この隙間に、物品やゴミが入り込むと、取り出しにくい。また、下部支持体に、位置決め部材を取り付けるのに手間も掛かる。
本発明は、天板と対象物との間に隙間を形成しつつ、下部支持体と対象物との間に隙間が形成されるのを抑えることができる天板付什器、什器システムを提供することを目的とする。
【課題を解決するための手段】
【0006】
上記課題を解決するために、本発明は以下の態様を採用した。
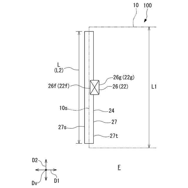
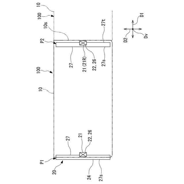
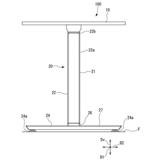
(1)本発明の一態様に係る天板付什器は、床面上に設けられる支持構造体と、前記支持構造体により下方から支持される天板と、を有する天板付什器であって、前記支持構造体は、前記天板から下方に延びる上部支持体と、前記上部支持体の下端に接続され、前記床面に沿って延びる下部支持体と、を備え、前記下部支持体は、上方から見た際、前記天板に対して幅方向の外側に突出し、かつ水平面内で前記幅方向に交差する前後方向に延びるとともに、当該天板付什器に隣接する対象物に当接可能な当接縁部を有する。
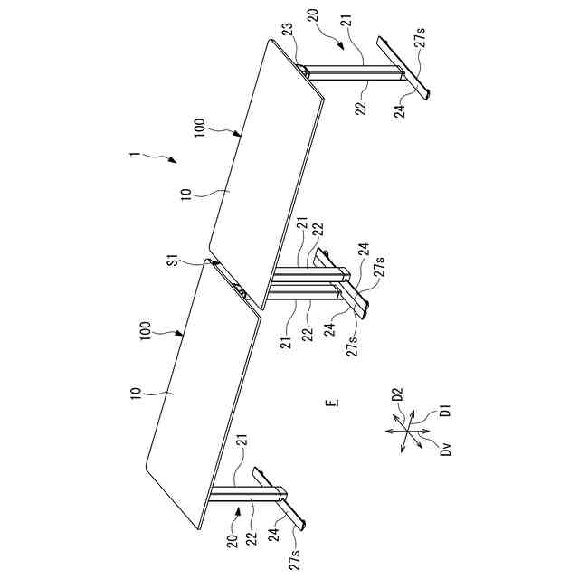
本態様によれば、当接縁部と対象物とを当接させることで、天板と対象物との間に隙間を形成できる。例えば、室内に、複数の天板付什器の当接縁部同士を突き合わせて配置する場合、天板付什器の天板同士の間に、配線などを挿通可能な隙間を形成できる。また、例えば、天板付什器の当接縁部を、壁面や他の什器に突き合わせて配置した場合、天板付什器の天板と、壁面や他の什器との間に配線などを挿通可能な隙間を形成できる。
前後方向に延びる当接縁部を、対象物に当接させることで、下部支持体と対象物との間に隙間ができることが抑えられる。これにより、下部支持体と対象物との間に、物品やゴミ等が入り込むのを抑えることができる。また、当接縁部が前後方向に延びているので、当接縁部を対象物に当接させた際、天板付什器を対象物に対して安定的に位置決めできる。しかも、当接縁部を設けるために、下部支持体に別部材を取り付ける必要も無い。
【0007】
(2)上記(1)の態様に係る天板付什器において、前記当接縁部は、前記天板の前記前後方向の長さに対し、1/2以上の長さを有することが好ましい。
本態様によれば、当接縁部と対象物の接触領域が前後方向に長くなり、天板付什器を対象物に対して安定的に位置決めできる。
【0008】
(3)上記(2)の態様に係る天板付什器において、前記当接縁部は、前記下部支持体の前記前後方向の長さの1/2以上にわたって延びていることが好ましい。
本態様によれば、当接縁部と対象物の接触領域が前後方向に長くなり、天板付什器を対象物に対して安定的に位置決めできる。
【0009】
(4)上記(1)から(3)の何れかの態様に係る天板付什器において、前記当接縁部は、前記前後方向における前記下部支持体の全長にわたって延びていることが好ましい。
本態様によれば、当接縁部と対象物の接触領域が前後方向に長くなり、天板付什器を対象物に対して安定的に位置決めできる。
【0010】
(5)上記(1)から(4)の何れかの態様に係る天板付什器において、前記当接縁部は、前記前後方向に200mm以上連続して延びていることが好ましい。
本態様によれば、当接縁部と対象物の接触領域が前後方向に長くなり、天板付什器を対象物に対して安定的に位置決めできる。
(【0011】以降は省略されています)
この特許をJ-PlatPat(特許庁公式サイト)で参照する
関連特許
個人
箸
18日前
個人
家具
3か月前
個人
椅子
2か月前
個人
掃除機
8か月前
個人
自助箸
6か月前
個人
屋外用箒
6か月前
個人
掃除用具
3か月前
個人
掃除道具
8か月前
個人
ソファー
1か月前
個人
枕
8か月前
個人
多用途紐
15日前
個人
枕
4か月前
個人
耳拭き棒
10か月前
個人
ハンガー
6か月前
個人
体洗い具
9か月前
個人
掃除シート
8か月前
個人
省煙消臭器
8か月前
個人
開閉トング
5か月前
個人
物品
2か月前
個人
組立式棚板
6か月前
個人
片手代替具
10か月前
個人
転倒防止装置
4か月前
個人
経典表示装置
4か月前
個人
バターナイフ
18日前
個人
ゴミ袋保持枠
6か月前
個人
中身のない枕
6か月前
個人
洗面台
10か月前
個人
受け皿
5か月前
個人
靴ベラ
1か月前
個人
シャワー装置
5か月前
個人
紙コップ 蓋
1か月前
個人
コーヒー抽出器
3か月前
個人
矯正用枕
3か月前
個人
簡易防災トイレ
1か月前
個人
首支持具
2か月前
個人
コーナーシール
9か月前
続きを見る
他の特許を見る