TOP
|
特許
|
意匠
|
商標
特許ウォッチ
Twitter
他の特許を見る
公開番号
2025119776
公報種別
公開特許公報(A)
公開日
2025-08-15
出願番号
2024014764
出願日
2024-02-02
発明の名称
台車
出願人
株式会社オカムラ
代理人
個人
,
個人
,
個人
,
個人
主分類
B62B
3/02 20060101AFI20250807BHJP(鉄道以外の路面車両)
要約
【課題】積載効率が高い台車を提供する。
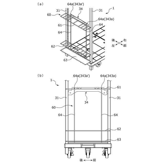
【解決手段】物品を載置して走行可能な車体20と、車体20から立ち上がる左右一対の側部フレーム30,30と、を備える台車1であって、側部フレーム30は、各対向面31a,31aに上下複数の係止孔31b,31b,・・・が設けられた前後一対の支柱31,31を有し、係止孔31b,31b,・・・に選択的に係止可能な係止片341a,342aを有し物品保持部材40を取付け可能なブラケット34を備える。
【選択図】図4
特許請求の範囲
【請求項1】
物品を載置して走行可能な車体と、前記車体から立ち上がる左右一対の側部フレームと、を備える台車であって、
前記側部フレームは、各対向面に上下複数の係止孔が設けられた前後一対の支柱を有し、
前記係止孔に選択的に係止可能な係止片を有し物品保持部材を取付け可能なブラケットを備えることを特徴とする台車。
続きを表示(約 580 文字)
【請求項2】
前記ブラケットは、前後両端に前記係止片を有し、前記前後一対の支柱に亘って取付けられていることを特徴とする請求項1に記載の台車。
【請求項3】
前記物品保持部材には、前記ブラケットに取付けられる係合部が前後方向の一方側に寄せて設けられており、
前記ブラケットは、前後方向の一方側に寄せた位置に設けられ前記係合部が係合可能な第1被係合部と、前後方向の中央を基準として前記第1被係合部の対称位置に設けられ前記係合部が係合可能な第2被係合部と、を備えていることを特徴とする請求項1に記載の台車。
【請求項4】
前記物品保持部材は、前記左右一対の側部フレームに取付けられる前記ブラケットに亘って取付けられる棚板であり、
前記棚板は、物品載置部と、前記物品載置部の少なくとも前後一方の下部に左右方向に延びる延設部が設けられており、
前記ブラケットは、前後両側の上部に前記延設部が配置可能な下方に凹む段差部が設けられていることを特徴とする請求項1に記載の台車。
【請求項5】
前記車体には、前記支柱を挿通されて取付けられる挿通口が設けられ、
前記挿通口は、前記支柱に対する前後の隙間よりも左右の隙間が小さくなっていることを特徴とする請求項1ないし4のいずれかに記載の台車。
発明の詳細な説明
【技術分野】
【0001】
本発明は、物品を運搬する台車に関する。
続きを表示(約 1,600 文字)
【背景技術】
【0002】
例えば、スーパーマーケットやコンビニエンスストア等の店舗においては、バックヤードに保管された商品を店内に運搬して品出しする際に台車が用いられる。商品のサイズは多岐に渡るため、商品サイズに合わせることができる台車が求められる場合がある。
【0003】
例えば、特許文献1に示されるような台車は、キャスタを有する台車本体と、台車本体に取付けられる左右一対の柵と、一対の柵の間に架け渡される棚板と、を備えている。柵は、前後一対の支柱と、一対の支柱間を連結する上下複数の横木と、から構成されており、棚板は左右の柵の横木に亘って取付けられている。横木は左右一対の柵部にそれぞれ上下複数設けられているため、商品のサイズに合わせて棚板を取付ける横木を選択することで棚板の高さを変更できるようになっている。
【先行技術文献】
【特許文献】
【0004】
特開2022-134168号公報(第5頁、第1図)
【発明の概要】
【発明が解決しようとする課題】
【0005】
しかしながら、特許文献1にあっては、横木は前後一対の支柱に対して固定的に設置されているため、調整できる棚板の高さが限定的であり、商品のサイズによっては無駄な空間が生じ、積載効率が低下する虞があった。
【0006】
本発明は、このような問題点に着目してなされたもので、積載効率が高い台車を提供することを目的とする。
【課題を解決するための手段】
【0007】
前記課題を解決するために、本発明の台車は、
物品を載置して走行可能な車体と、前記車体から立ち上がる左右一対の側部フレームと、を備える台車であって、
前記側部フレームは、各対向面に上下複数の係止孔が設けられた前後一対の支柱を有し、
前記係止孔に選択的に係止可能な係止片を有し物品保持部材を取付け可能なブラケットを備えることを特徴としている。
この特徴によれば、係止片を係止させる係止孔を選択しブラケットを支柱に取付けることで物品保持部材の高さを自由に変更できるため、様々なサイズの荷物を運搬する際に、無駄な空間を削減でき、積載効率を高めることができる。
【0008】
前記ブラケットは、前後両端に前記係止片を有し、前記前後一対の支柱に亘って取付けられていることを特徴としている。
この特徴によれば、ブラケットが前後一対の支柱に亘って取付けられることで重い物品保持部材を安定的に支持できる。
【0009】
前記物品保持部材には、前記ブラケットに取付けられる係合部が前後方向の一方側に寄せて設けられており、
前記ブラケットは、前後方向の一方側に寄せた位置に設けられ前記係合部が係合可能な第1被係合部と、前後方向の中央を基準として前記第1被係合部の対称位置に設けられ前記係合部が係合可能な第2被係合部と、を備えていることを特徴としている。
この特徴によれば、ブラケットに対して物品保持部材を前後どちらの向きでも取付可能である。
【0010】
前記物品保持部材は、前記左右一対の側部フレームに取付けられる前記ブラケットに亘って取付けられる棚板であり、
前記棚板は、物品載置部と、前記物品載置部の少なくとも前後一方の下部に左右方向に延びる延設部が設けられており、
前記ブラケットは、前後両側の上部に前記延設部が配置可能な下方に凹む段差部が設けられていることを特徴としている。
この特徴によれば、棚板の前後どちらの向きでも延設部を段差部に配置して、ブラケットに延設部が干渉することなく棚板を取付けることができる。
(【0011】以降は省略されています)
この特許をJ-PlatPat(特許庁公式サイト)で参照する
関連特許
株式会社オカムラ
椅子
4か月前
株式会社オカムラ
椅子
4か月前
株式会社オカムラ
椅子
今日
株式会社オカムラ
台車
3か月前
株式会社オカムラ
台車
3か月前
株式会社オカムラ
台車
3か月前
株式会社オカムラ
椅子
5か月前
株式会社オカムラ
椅子
今日
株式会社オカムラ
什器
5か月前
株式会社オカムラ
収納装置
2か月前
株式会社オカムラ
収納装置
2か月前
株式会社オカムラ
収納装置
2か月前
株式会社オカムラ
収納装置
2か月前
株式会社オカムラ
天板付什器
3か月前
株式会社オカムラ
天板付什器
3か月前
株式会社オカムラ
防水板装置
2か月前
株式会社オカムラ
移動式什器
1か月前
株式会社オカムラ
天板付什器
2か月前
株式会社オカムラ
天板付什器
2か月前
株式会社オカムラ
パネル構造体
6か月前
株式会社オカムラ
閉断面構造体
6か月前
株式会社オカムラ
コンベヤ装置
6か月前
株式会社オカムラ
什器システム
2か月前
株式会社オカムラ
コンベヤ装置
6か月前
株式会社オカムラ
管理システム
3か月前
株式会社オカムラ
ショーケース
3か月前
株式会社オカムラ
収納ボックス
2か月前
株式会社オカムラ
天板昇降式什器
3か月前
株式会社オカムラ
天板昇降式什器
2か月前
株式会社オカムラ
パーティション
1か月前
株式会社オカムラ
空間形成用什器
2か月前
株式会社オカムラ
パーティション
1か月前
株式会社オカムラ
天板昇降式什器
2か月前
株式会社オカムラ
移動間仕切装置
2か月前
株式会社オカムラ
移動間仕切装置
2か月前
株式会社オカムラ
オフィス収納装置
2か月前
続きを見る
他の特許を見る