TOP
|
特許
|
意匠
|
商標
特許ウォッチ
Twitter
他の特許を見る
公開番号
2025122270
公報種別
公開特許公報(A)
公開日
2025-08-21
出願番号
2024017577
出願日
2024-02-08
発明の名称
ショーケース
出願人
株式会社オカムラ
代理人
個人
,
個人
,
個人
,
個人
主分類
A47F
3/04 20060101AFI20250814BHJP(家具;家庭用品または家庭用設備;コーヒーひき;香辛料ひき;真空掃除機一般)
要約
【課題】ケース前面の意匠的効果を高めるとともに、垂下板を視認しやすくしたショーケースを提供する。
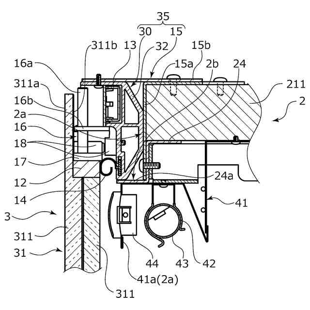
【解決手段】扉ユニット3は、ショーケース本体2の下部前面から上部前面2aの上端付近まで延びる扉31を構成する透明板311と透明板311をショーケース本体2に固定する扉取付機構35とを備え、扉取付機構35はショーケース本体2の上部前面2aと透明板311の上端部の背面との間に左右方向に延びて配置固定され、透明板311における扉取付機構35と対向する部分には非透明部311bが形成されており、ショーケース本体2の上部前面2aに左右方向に延びて備えられた垂下板41aの上方に、非透明部311bが位置している。
【選択図】図3
特許請求の範囲
【請求項1】
断面略コ字状を成し前面開口を有する内部に陳列室が形成されたケース本体と、前記前面開口を開閉する扉を有する扉ユニットとを備え、前記ケース本体の上部前面に左右方向に延びる垂下板を有するショーケースにおいて、
前記扉ユニットは、前記ケース本体の下部前面から上部前面の上端付近まで延びる前記扉を構成する透明板と、該透明板を前記ケース本体に固定する扉取付機構とを備え、
前記扉取付機構は、前記ケース本体の前記上部前面と前記透明板の上端部の背面との間に左右方向に延びて配置固定され、
前記透明板における前記扉取付機構と対向する部分には非透明部が形成されており、
前記非透明部は前記垂下板の上方に位置していることを特徴とするショーケース。
続きを表示(約 380 文字)
【請求項2】
前記透明板は、少なくとも前記非透明部より下方は複数の透明板を重合させた複層透明板からなることを特徴とする請求項1に記載のショーケース。
【請求項3】
前記垂下板には前記陳列室の庫内温度を表示し、かつ操作を可能とする表示装置が取り付けられていることを特徴とする請求項1に記載のショーケース。
【請求項4】
前記垂下板の後方に照明灯が配設されていることを特徴とする請求項1に記載のショーケース。
【請求項5】
前記扉取付機構の色を前記非透明部の色と同色としたことを特徴とする請求項1に記載のショーケース。
【請求項6】
前記ケース本体の上部前面において前記垂下板の上部には、段部が形成されており、該段部に前記扉取付機構が取り付けられていることを特徴とする請求項1に記載のショーケース。
発明の詳細な説明
【技術分野】
【0001】
本発明は、冷凍食品や生鮮食品を保冷して陳列するためのショーケースに関する。
続きを表示(約 2,000 文字)
【背景技術】
【0002】
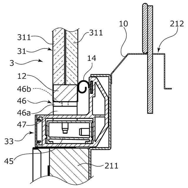
スーパーマーケットやコンビニエンスストア等においては、冷凍食品や生鮮食品を保冷して陳列するためのショーケースが設置されている。ショーケースの中には、断面略コ字状断面をなすケース本体の前面開口に冷気のエアーカーテンが形成されるようにしたオープンショーケースがあるが、このようなオープンショーケースにおいては、冷気のエアーカーテンが形成されていても陳列室内からの冷気の漏洩や陳列室内への外気の浸入が避けられず、陳列室の冷却効率が低下したり消費電力が増加したりする問題がある。
【0003】
このような問題を解決するものとして、略断面コ字状のケース本体の前面開口にガラス製扉を有する扉ユニットを設け、顧客が陳列室内の商品を取り出す際にのみ扉を開閉するようにしたショーケースがある(例えば特許文献1参照)。
【先行技術文献】
【特許文献】
【0004】
特許第6664110号公報(第5頁、第1図)
【発明の概要】
【発明が解決しようとする課題】
【0005】
しかしながら、特許文献1に記載されているショーケースにおいては、扉がケース本体の上部側の前端部下面と、下部側の前端部上面との間に配設されているため、前面開口部におけるガラス製扉が占める高さ方向の面積が小さくなるとともに、ケース本体の前面と扉の前面との間に段差が形成されるため、ショーケース前面の意匠的効果が小さくなる。また、扉がケース本体の前面よりも後方に位置しているので陳列室の有効陳列容積が小さくなる。このようなショーケースにおいてケース本体の上部前面には、識別情報やメーカ名や陳列する商品のカテゴリーの表示や、庫内温度等を表示できる垂下板を有しており、特許文献1に記載されているショーケースでは表示面に、陳列室の温度を表示する温度計が扉よりも上方のケース本体の上端近傍の高所に取り付けられており、前方から確認しにくく、かつショーケースの設置時等に温度計が他物に接触して損傷するおそれもあった。
【0006】
本発明は、このような問題点に着目してなされたもので、ケース前面の意匠的効果を高めるとともに、垂下板を視認しやすくしたショーケースを提供することを目的とする。
【課題を解決するための手段】
【0007】
前記課題を解決するために、本発明のショーケースは、
断面略コ字状を成し前面開口を有する内部に陳列室が形成されたケース本体と、前記前面開口を開閉する扉を有する扉ユニットとを備え、前記ケース本体の上部前面に左右方向に延びる垂下板を有するショーケースにおいて、
前記扉ユニットは、前記ケース本体の下部前面から上部前面の上端付近まで延びる前記扉を構成する透明板と、該透明板を前記ケース本体に固定する扉取付機構とを備え、
前記扉取付機構は、前記ケース本体の前記上部前面と前記透明板の上端部の背面との間に左右方向に延びて配置固定され、
前記透明板における前記扉取付機構と対向する部分には非透明部が形成されており、
前記非透明部は前記垂下板の上方に位置していることを特徴としている。
この特徴によれば、ケース本体の下部前面から上部前面の上端付近までの広い面積が透明板よりなる扉により覆われるとともに、ケース本体の上部前面と扉の前面との間に段差が殆ど形成されないので、ショーケースの前面の意匠的効果が高まる。また、透明板の上端部には形成された非透明部に被覆されて扉取付機構が扉の前方から視認されることはなく見栄えが向上する。さらに、扉取付機構を被覆する透明板の非透明部はケース本体の上部前面の垂下板よりも上方に位置するため、垂下板に表示されるショーケースの情報等を透明板の前方から容易に確認することができるとともに、垂下板が露出しないので損傷するのも防止される。
【0008】
前記透明板は、少なくとも前記非透明部より下方は複数の透明板を重合させた複層透明板からなることを特徴としている。
この特徴によれば、透明板の断熱効果が向上すると共に強度が高まる。また、透明板に結露が生じるのが防止される。
【0009】
前記垂下板には前記陳列室の庫内温度を表示し、かつ操作を可能とする表示装置が取り付けられていることを特徴としている。
この特徴によれば、表示装置は扉の内側に配置されるため勝手に操作されることが防止され、かつ庫内温度の表示については透明板の非透明部を避けた位置に配置でき、容易に確認することができる。
【0010】
前記垂下板の後方に照明灯が配設されていることを特徴としている。
この特徴によれば、垂下板により照明灯の光が遮光されるので、ショーケースの正面に立った客が眩しさを感じにくい。
(【0011】以降は省略されています)
この特許をJ-PlatPat(特許庁公式サイト)で参照する
関連特許
株式会社オカムラ
椅子
今日
株式会社オカムラ
椅子
今日
株式会社オカムラ
収納装置
2か月前
株式会社オカムラ
収納装置
2か月前
株式会社オカムラ
収納装置
2か月前
株式会社オカムラ
収納装置
2か月前
株式会社オカムラ
天板付什器
2か月前
株式会社オカムラ
移動式什器
1か月前
株式会社オカムラ
天板付什器
2か月前
株式会社オカムラ
収納ボックス
2か月前
株式会社オカムラ
什器システム
2か月前
株式会社オカムラ
移動間仕切装置
2か月前
株式会社オカムラ
移動間仕切装置
2か月前
株式会社オカムラ
パーティション
1か月前
株式会社オカムラ
パーティション
1か月前
株式会社オカムラ
故障予知システム
2か月前
株式会社オカムラ
電力供給システム
1か月前
株式会社オカムラ
間仕切パネル装置
2か月前
株式会社オカムラ
オフィス収納装置
2か月前
株式会社オカムラ
モバイルバッテリ
2か月前
株式会社オカムラ
什器、什器システム
今日
株式会社オカムラ
天板付什器、什器システム
2か月前
株式会社オカムラ
天板付什器、什器システム
2か月前
株式会社オカムラ
作業用什器および什器システム
今日
株式会社オカムラ
什器ユニットおよび天板付什器
2か月前
株式会社オカムラ
椅子用荷重支持部材、及び、椅子
今日
株式会社オカムラ
天板付き什器、及び、什器ユニット
2か月前
株式会社オカムラ
制御装置、収納システム、端末装置及びプログラム
2か月前
株式会社オカムラ
制御装置、収納システム、端末装置及びプログラム
2か月前
株式会社オカムラ
椅子
1か月前
株式会社オカムラ
ブース
2か月前
株式会社オカムラ
ブース
2か月前
株式会社オカムラ
ブースおよびブース組立方法
1か月前
コクヨ株式会社
ブース
1か月前
個人
箸
1か月前
個人
椅子
3か月前
続きを見る
他の特許を見る