TOP
|
特許
|
意匠
|
商標
特許ウォッチ
Twitter
他の特許を見る
公開番号
2025119777
公報種別
公開特許公報(A)
公開日
2025-08-15
出願番号
2024014765
出願日
2024-02-02
発明の名称
台車
出願人
株式会社オカムラ
代理人
個人
,
個人
,
個人
,
個人
主分類
B62B
3/02 20060101AFI20250807BHJP(鉄道以外の路面車両)
要約
【課題】設計自由度が高い台車を提供する。
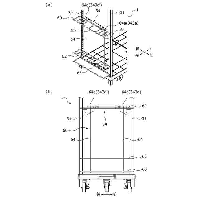
【解決手段】物品を載置して走行可能な車体20と、車体20から立ち上がる左右一対の側部フレーム30,30と、を備える台車1であって、側部フレーム30は、前後一対の支柱31,31と、前後一対の支柱31,31を連結する連結部材32,33,34と、を備え、連結部材32,33,34には、物品を保持する物品保持部材40を係合により取付ける被係合部343a~343d,343a’~ 343d’が前後方向に複数設けられている。
【選択図】図4
特許請求の範囲
【請求項1】
物品を載置して走行可能な車体と、前記車体から立ち上がる左右一対の側部フレームと、を備える台車であって、
前記側部フレームは、前後一対の支柱と、前記前後一対の支柱を連結する連結部材と、を備え、
前記連結部材には、物品を保持する物品保持部材を係合により取付ける被係合部が前後方向に複数設けられていることを特徴とする台車。
続きを表示(約 390 文字)
【請求項2】
前記一対の支柱は、各対向面に上下複数の係止孔が設けられ、
前記連結部材は、前記係止孔に選択的に係止可能な係止片を前後両端に有するブラケットであることを特徴とする請求項1に記載の台車。
【請求項3】
前記物品保持部材は、前記左右一対の側部フレームに取付けられる前記ブラケットに亘って取付けられる棚板であり、
前記棚板は、物品載置部と、前記物品載置部の少なくとも前後一方の下部に左右方向に延びる延設部が設けられており、
前記ブラケットは、前後両側の上部に前記延設部が配置可能な下方に凹む段差部が設けられていることを特徴とする請求項2に記載の台車。
【請求項4】
前記ブラケットは、前記被係合部が設けられる前後中央部が前後両端部よりも上方にずれて配置されていることを特徴とする請求項2または3に記載の台車。
発明の詳細な説明
【技術分野】
【0001】
本発明は、物品を運搬する台車に関する。
続きを表示(約 1,600 文字)
【背景技術】
【0002】
例えば、スーパーマーケットやコンビニエンスストア等の店舗においては、バックヤードに保管された商品を店内に運搬して品出しする際に台車が用いられる。商品のサイズは多岐に渡るため、商品サイズに合わせることができる台車が求められる場合がある。
【0003】
例えば、特許文献1に示されるような台車は、キャスタを有する台車本体と、台車本体に取付けられる左右一対の柵と、一対の柵の間に架け渡される棚板と、を備えている。柵は、前後一対の支柱と、一対の支柱間を連結する上下複数の横木と、から構成されており、棚板は左右の柵の横木に亘って取付けられている。横木は左右一対の柵にそれぞれ上下複数設けられているため、商品のサイズに合わせて棚板を取付ける横木を選択することで棚板の高さを変更できるようになっている。
【先行技術文献】
【特許文献】
【0004】
特開2022-134168号公報(第5頁、第1図)
【発明の概要】
【発明が解決しようとする課題】
【0005】
特許文献1のような台車にあっては、バックヤードから運搬した後、売り場にそのまま設置するようなことも行われる。しかしながら、特許文献1の台車における横木には、1種類の棚板を取付けることしか想定されておらず、売り場にて棚板に替えてバスケットやホルダなどに変更することができず、設計自由度が低いという問題があった。
【0006】
本発明は、このような問題点に着目してなされたもので、設計自由度が高い台車を提供することを目的とする。
【課題を解決するための手段】
【0007】
前記課題を解決するために、本発明の台車は、
物品を載置して走行可能な車体と、前記車体から立ち上がる左右一対の側部フレームと、を備える台車であって、
前記側部フレームは、前後一対の支柱と、前記前後一対の支柱を連結する連結部材と、を備え、
前記連結部材には、物品を保持する物品保持部材を係合により取付ける被係合部が前後方向に複数設けられていることを特徴としている。
この特徴によれば、連結部材の複数の被係合部を選択することで、複数種類の物品保持部材を取付けることができるため、台車の設計自由度が高い。
【0008】
前記一対の支柱は、各対向面に上下複数の係止孔が設けられ、
前記連結部材は、前記係止孔に選択的に係止可能な係止片を前後両端に有するブラケットであることを特徴としている。
この特徴によれば、係止片を係止させる係止孔を選択しブラケットを前後一対の支柱に亘って取付けることで物品保持部材の高さを自由に変更できるため、様々なサイズの荷物を無駄なく配置でき、積載効率を高めることができる。
【0009】
前記物品保持部材は、前記左右一対の側部フレームに取付けられる前記ブラケットに亘って取付けられる棚板であり、
前記棚板は、物品載置部と、前記物品載置部の少なくとも前後一方の下部に左右方向に延びる延設部が設けられており、
前記ブラケットは、前後両側の上部に前記延設部が配置可能な下方に凹む段差部が設けられていることを特徴としている。
この特徴によれば、棚板の前後どちらの向きでも延設部を段差部に配置して、ブラケットに延設部が干渉することなく棚板を取付けることができる。
【0010】
前記ブラケットは、前記被係合部が設けられる前後中央部が前後両端部よりも上方にずれて配置されていることを特徴としている。
この特徴によれば、ブラケットは前後中央部が前後両端部よりも上方に位置する略アーチ状をなしているため、軽量ながら重い物品保持部材を安定的に支持できる。
【図面の簡単な説明】
(【0011】以降は省略されています)
この特許をJ-PlatPat(特許庁公式サイト)で参照する
関連特許
株式会社オカムラ
椅子
1日前
株式会社オカムラ
椅子
1日前
株式会社オカムラ
天板付什器
2か月前
株式会社オカムラ
移動式什器
1か月前
株式会社オカムラ
パーティション
1か月前
株式会社オカムラ
パーティション
1か月前
株式会社オカムラ
モバイルバッテリ
2か月前
株式会社オカムラ
電力供給システム
1か月前
株式会社オカムラ
什器、什器システム
1日前
株式会社オカムラ
天板付什器、什器システム
2か月前
株式会社オカムラ
天板付什器、什器システム
2か月前
株式会社オカムラ
什器ユニットおよび天板付什器
2か月前
株式会社オカムラ
作業用什器および什器システム
1日前
株式会社オカムラ
椅子用荷重支持部材、及び、椅子
1日前
株式会社オカムラ
天板付き什器、及び、什器ユニット
2か月前
株式会社オカムラ
椅子
2か月前
株式会社オカムラ
ブース
2か月前
株式会社オカムラ
ブース
2か月前
株式会社オカムラ
ブースおよびブース組立方法
1か月前
コクヨ株式会社
ブース
1か月前
個人
カート
5か月前
個人
走行装置
5か月前
個人
台車
15日前
個人
三輪バイク
1か月前
個人
乗り物
7か月前
個人
電動走行車両
5か月前
個人
閂式ハンドル錠
5か月前
個人
自転車用歩数計
1か月前
個人
発音装置
9か月前
個人
駐輪設備
3か月前
個人
電動モビリティ
9か月前
個人
ボギー・フレーム
3か月前
個人
三輪電動車両
1か月前
個人
ルーフ付きトライク
3か月前
個人
ルーフ付きトライク
4か月前
個人
自由方向乗車自転車
9か月前
続きを見る
他の特許を見る