TOP
|
特許
|
意匠
|
商標
特許ウォッチ
Twitter
他の特許を見る
10個以上の画像は省略されています。
公開番号
2025142242
公報種別
公開特許公報(A)
公開日
2025-09-30
出願番号
2025122354,2021205541
出願日
2025-07-22,2021-12-17
発明の名称
ブース
出願人
株式会社オカムラ
代理人
個人
主分類
E04H
1/12 20060101AFI20250919BHJP(建築物)
要約
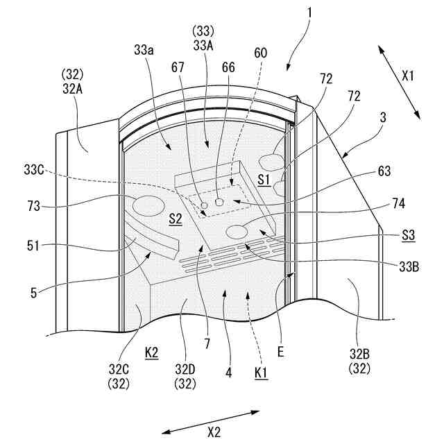
【課題】ブースの内側から天井面に消火器を容易に取り付けることができるブースを提供する。
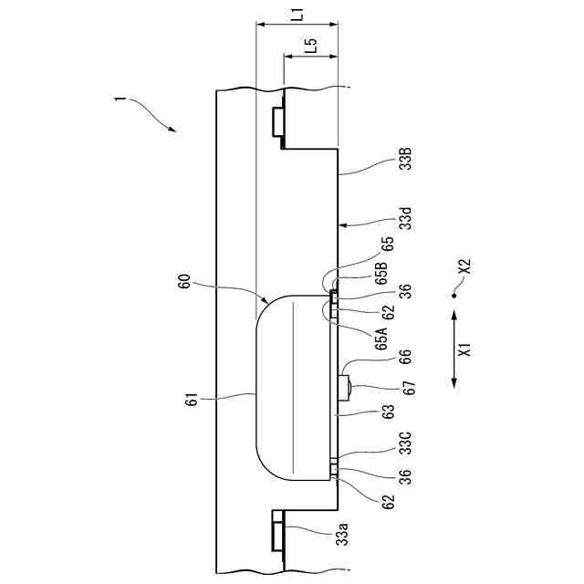
【解決手段】天井面33aに開口部33Cを有し、内部空間を形成するブース本体と、少なくとも一部で開口部33Cを塞ぐように天井面33aの上側に設けられる消火器ユニット60と、を備え、消火器ユニット60は、消火剤が収容されるとともに火災検知時に下方に向けて消火剤を散布する消火器61と、天井面33aのうち上下方向に交差する方向で開口部33Cを挟んだ両側部に対して上側から係止する係止部62と、を備え、消火器61は開口部33Cを通過可能に設けられている。
【選択図】図4
特許請求の範囲
【請求項1】
天井面に開口部を有し、内部空間を形成するブース本体と、
少なくとも一部で前記開口部を塞ぐように前記天井面の上側に設けられる消火器ユニットと、を備え、
前記消火器ユニットは、
消火剤が収容されるとともに火災検知時に下方に向けて前記消火剤を散布する消火器と、
前記天井面のうち上下方向に交差する方向で前記開口部を挟んだ両側部に対して上側から係止する係止部と、
を備え、
前記消火器は、前記開口部を通過可能に設けられているブース。
続きを表示(約 620 文字)
【請求項2】
前記消火器ユニットは、前記開口部を通過可能に設けられている請求項1に記載のブース。
【請求項3】
前記消火器ユニットは、前記消火器の下面の少なくとも一部に係合されて前記消火器とは別体で設けられ、前記開口部と同じ大きさに形成された塞ぎ板を有し、
前記塞ぎ板は、前記係止部が前記天井面の上側に係止したときに、前記開口部を塞いだ状態で配置されている請求項1又は2に記載のブース。
【請求項4】
前記塞ぎ板は、平面視したときに、対向する平行な二辺と前記対向する二辺の端部同士を接続する接続辺とを備えており、
前記係止部は、前記塞ぎ板の前記接続辺の外側部分に設けられ、
一対の前記係止部のうちいずれか一方には、前記天井面の面に沿う方向に前記消火器を位置決めする当接部材が設けられ、
前記当接部材が前記天井面の上面に設けられる位置決め部に当接した状態で、前記塞ぎ板が前記開口部に上下方向に重なる請求項3に記載のブース。
【請求項5】
前記天井面は、下方に凹んだ下向き凹部が形成され、前記消火器ユニットが収容される消火器カバーを有し、
前記消火器カバーには、前記開口部が設けられている請求項1乃至4のいずれか1項に記載のブース。
【請求項6】
前記消火器カバーには、前記内部空間を照らす照明が設けられている請求項5に記載のブース。
発明の詳細な説明
【技術分野】
【0001】
本発明は、ブースに関するものである。
続きを表示(約 1,600 文字)
【背景技術】
【0002】
従来から、天井面を備えたブースとして、例えば特許文献1、2に示されるような天井面の上側に熱反応型の消火器を設置することでブースの内部空間で火災が発生した場合にも速やかな消火を可能としたブースが知られている。
【先行技術文献】
【特許文献】
【0003】
特開2020-204231号公報
特開2021-070973号公報
【発明の概要】
【発明が解決しようとする課題】
【0004】
しかしながら、従来のブースにおいては、消火器を天井面の上側から設置する必要があった。そのため、建屋内にブースを設置するケースのようにブースの上側の高さを十分に確保できない場合には、消火器の設置作業が困難となっていた。また、消火器は定期的な点検および交換が必要であるが、その際にはブースの外側に脚立を設けて天井の上側まで人が出向いて作業する必要があり、作業中に脚立が邪魔であり、また天井よりも高い位置まで重量の大きな消火器を上げ下ろしする作業が発生することから、作業性の点で改善の余地があった。
【0005】
また、特許文献2の場合には、消火器を天井の所定位置に取り付けた後に、ブースの天井面を構成する内装パネルを取り付けるため、少なくとも消火器の取り付け工程と、内層パネルの取り付け工程を実施する必要があった。
【0006】
そこで、本発明は、上記事情に鑑みてなされたものであり、ブースの内側から天井面に消火器を容易に取り付けることができるブースを提供する。
【課題を解決するための手段】
【0007】
上記目的を達成するために、本発明は以下の手段を採用している。
すなわち、本発明に係るブースは、天井面に開口部を有し、内部空間を形成するブース本体と、少なくとも一部で前記開口部を塞ぐように前記天井面の上側に設けられる消火器ユニットと、を備え、前記消火器ユニットは、消火剤が収容されるとともに火災検知時に下方に向けて前記消火剤を散布する消火器と、前記天井面のうち上下方向に交差する方向で前記開口部を挟んだ両側部に対して上側から係止する係止部と、を備え、前記消火器は、前記開口部を通過可能に設けられている。
【0008】
本発明に係るブースでは、ブース内側(内部空間側)から天井面に設けられる開口部を通して消火器を天井面の上側に設置することができる。そのため、従来のようにブースの外側から消火器を設置するという煩雑な作業がなくなる利点がある。
また、この場合には、天井面に設置した後の消火器ユニットの下面の一部によって開口部を塞ぐことができる。このように本発明によるブースでは、効率よく消火器を天井面に設置することができる。
また、本発明では、天井面に形成する開口部は消火器が内部空間側から天井面の上側に挿通できる大きさであればよく、設置された状態での消火器を上下方向から見た平面視した大きさ、形状である必要がないため、開口部を小さくすることができる。すなわち、開口部の自由度を大きくすることが可能となるので、開口部によるスペースの制約を抑制することができ、天井面に設ける他のブース設備を効率よく配置することができる。
【0009】
また、本発明に係るブースでは、前記消火器ユニットは、前記開口部を通過可能に設けられていることを特徴としてもよい。
【0010】
このように構成されたブースでは、消火器ユニットを天井面に取り付ける作業のみで天井面に設置した後の消火器ユニットの下面の一部によって開口部を塞ぐことができるので、設置後に開口部を塞ぐ作業が不要となる。
(【0011】以降は省略されています)
この特許をJ-PlatPat(特許庁公式サイト)で参照する
関連特許
株式会社オカムラ
台車
1か月前
株式会社オカムラ
台車
1か月前
株式会社オカムラ
椅子
2か月前
株式会社オカムラ
椅子
2か月前
株式会社オカムラ
台車
1か月前
株式会社オカムラ
収納装置
12日前
株式会社オカムラ
収納装置
12日前
株式会社オカムラ
収納装置
12日前
株式会社オカムラ
収納装置
12日前
株式会社オカムラ
防水板装置
13日前
株式会社オカムラ
天板付什器
2日前
株式会社オカムラ
天板付什器
2日前
株式会社オカムラ
天板付什器
1か月前
株式会社オカムラ
天板付什器
1か月前
株式会社オカムラ
管理システム
1か月前
株式会社オカムラ
ショーケース
1か月前
株式会社オカムラ
什器システム
12日前
株式会社オカムラ
収納ボックス
12日前
株式会社オカムラ
移動間仕切装置
5日前
株式会社オカムラ
天板昇降式什器
28日前
株式会社オカムラ
空間形成用什器
14日前
株式会社オカムラ
天板昇降式什器
12日前
株式会社オカムラ
天板昇降式什器
12日前
株式会社オカムラ
移動間仕切装置
5日前
株式会社オカムラ
オフィス収納装置
12日前
株式会社オカムラ
モバイルバッテリ
2日前
株式会社オカムラ
間仕切パネル装置
6日前
株式会社オカムラ
故障予知システム
6日前
株式会社オカムラ
ショッピングカート
1か月前
株式会社オカムラ
ショッピングカート
1か月前
株式会社オカムラ
ショッピングカート
1か月前
株式会社オカムラ
ショッピングカート
1か月前
株式会社オカムラ
パネル構造体及び什器
3か月前
株式会社オカムラ
天板付什器、什器システム
2日前
株式会社オカムラ
天板付什器、什器システム
2日前
株式会社オカムラ
パネル体および間仕切り装置
2か月前
続きを見る
他の特許を見る