TOP
|
特許
|
意匠
|
商標
特許ウォッチ
Twitter
他の特許を見る
公開番号
2025076639
公報種別
公開特許公報(A)
公開日
2025-05-16
出願番号
2023188357
出願日
2023-11-02
発明の名称
空間構造体
出願人
株式会社オカムラ
代理人
個人
,
個人
,
個人
,
個人
主分類
E04B
2/74 20060101AFI20250509BHJP(建築物)
要約
【課題】強度を大として間仕切パネル等のオプション材を安定的に支持することができるとともに、オプション材の下端部の支持強度や施工性を高めることができるようにした空間構造体を提供する。
【解決手段】隣り合う支柱4間の床面に、内部に長手方向に連続する中空部を有する平板状ベース部材6を渡設し、該ベース部材6の長手方向の両側端部を隣り合う支柱4の内側面に固定した。
【選択図】図3
特許請求の範囲
【請求項1】
下端部が床面に支持された複数の支柱と、隣り合う支柱の上端部同士を連結するビームとを備える空間構造体であって、
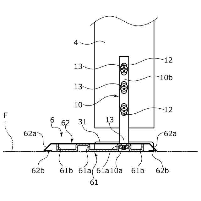
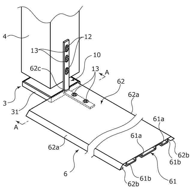
隣り合う前記支柱間の床面に、内部に長手方向に連続する中空部を有する平板状ベース部材を渡設し、該ベース部材の長手方向の両側端部を隣り合う前記支柱の内側面に固定したことを特徴とする空間構造体。
続きを表示(約 400 文字)
【請求項2】
前記ベース部材は、補強材とその上面を覆う上面材とからなることを特徴とする請求項1に記載の空間構造体。
【請求項3】
前記補強材の幅方向の中央部には、上面が前記上面材の裏面に当接する長さ方向に延びる上向きコ字状の屈曲凸部が形成されていることを特徴とする請求項2に記載の空間構造体。
【請求項4】
前記補強材の幅方向の両端には、上端が前記上面材の裏面に当接する上向片が連設されていることを特徴とする請求項3に記載の空間構造体。
【請求項5】
前記上面材は、前記補強材の幅方向の両側面を覆う下向き折曲部と該下向折曲部の下端に連続する内向き折曲部を有することを特徴とする請求項2ないし4のいずれかに記載の空間構造体。
【請求項6】
前記下向き折曲部は傾斜面に形成されていることを特徴とする請求項5に記載の空間構造体。
発明の詳細な説明
【技術分野】
【0001】
本発明は、床面に自立可能に設置され、オフィスや展示場等の室内空間を所定の大きさに区画する空間構造体に関する。
続きを表示(約 1,700 文字)
【背景技術】
【0002】
このような従来の空間構造体としては、例えば特許文献1に記載されているものがある。この従来の空間構造体は、アジャスタを介して床面により支持された前後左右に離間する4本の支柱と、対向する支柱の上端部同士を連結する4本の連結杆と、互いに対向するビームの中間部の対向面同士を連結する十字状の連結杆とを備え、対向する支柱間には複数の間仕切パネルが取り付けられている。
【先行技術文献】
【特許文献】
【0003】
特開2017-89242号公報(第4頁、第1図)
【発明の概要】
【発明が解決しようとする課題】
【0004】
特許文献1に記載されている空間構造体においては、各支柱の下端部がアジャスタを介して床面に支持されているのみであるので、空間構造体の強度は比較的小さく、地震等の発生時に空間構造体全体が揺れ動くことが予想される。このようになると、連結杆と隣り合う支柱間に取り付けられる間仕切パネル等のオプション材を安定的に支持することができず、例えばオプション材をガラスパネルとした際に該ガラスパネルが損傷したりするおそれがある。
【0005】
また、間仕切パネル等のオプション材の下端部の支持強度を高めることができないだけでなく、オプション材取付け時の施工性も悪い。また、オプション材の下端部を床面により支持しようとすると、オプション材の荷重により床面に傷を付ける虞もある。
【0006】
本発明は、このような問題点に着目してなされたもので、強度を大として間仕切パネル等のオプション材を安定的に支持することができるとともに、オプション材の下端部の支持強度や施工性を高めることができるようにした空間構造体を提供することを目的とする。
【課題を解決するための手段】
【0007】
前記課題を解決するために、本発明の空間構造体は、
下端部が床面に支持された複数の支柱と、隣り合う支柱の上端部同士を連結するビームとを備える空間構造体であって、
隣り合う前記支柱間の床面に、内部に長手方向に連続する中空部を有する平板状ベース部材を渡設し、該ベース部材の長手方向の両側端部を隣り合う前記支柱の内側面に固定したことを特徴としている。
この特徴によれば、隣り合う支柱の内側面に床面に接するベース部材の両側端部を固定することにより、隣り合う支柱とビームとベース部材とにより強固な枠状フレームが形成されるため、空間構造体の強度が大となる。その結果、隣り合う支柱とベース部材とビームとの間に間仕切パネル等のオプション材を安定的に支持することができる。また、ベース部材の中空部にボルトやナット等を組み込んで間仕切パネル等のオプション材の下端部を支持することができるので、オプション材の下端部の支持強度やオプション材取り付け時の施工性が高まる。
【0008】
前記ベース部材は、補強材とその上面を覆う上面材とからなることを特徴としている。
この特徴によれば、強度が高く見栄えのよいベース部材を形成することができる。
【0009】
前記補強材の幅方向の中央部には、上面が前記上面材の裏面に当接する長さ方向に延びる上向きコ字状の屈曲凸部が形成されていることを特徴としている。
この特徴によれば、上向きコ字状の屈曲凸部によりベース部材の耐荷重が増大するので、間仕切パネル等のオプション材の下端部を安定的に支持することができる。また、間仕切パネル等のオプション材の下端部をベース部材に支持するためのボルトやナット等を屈曲凸部内の任意の位置に目立たなく収容することができる。
【0010】
前記補強材の幅方向の両端には、上端が前記上面材の裏面に当接する上向片が連設されていることを特徴としている。
この特徴によれば、屈曲凸部と上向片との相乗効果により上面材の耐荷重がさらに増大する。
(【0011】以降は省略されています)
この特許をJ-PlatPat(特許庁公式サイト)で参照する
関連特許
株式会社オカムラ
台車
3か月前
株式会社オカムラ
什器
5か月前
株式会社オカムラ
椅子
今日
株式会社オカムラ
台車
3か月前
株式会社オカムラ
台車
3か月前
株式会社オカムラ
椅子
4か月前
株式会社オカムラ
椅子
4か月前
株式会社オカムラ
椅子
5か月前
株式会社オカムラ
椅子
今日
株式会社オカムラ
収納装置
2か月前
株式会社オカムラ
収納装置
2か月前
株式会社オカムラ
収納装置
2か月前
株式会社オカムラ
収納装置
2か月前
株式会社オカムラ
天板付什器
2か月前
株式会社オカムラ
移動式什器
1か月前
株式会社オカムラ
防水板装置
2か月前
株式会社オカムラ
天板付什器
3か月前
株式会社オカムラ
天板付什器
3か月前
株式会社オカムラ
天板付什器
2か月前
株式会社オカムラ
什器システム
2か月前
株式会社オカムラ
収納ボックス
2か月前
株式会社オカムラ
ショーケース
3か月前
株式会社オカムラ
管理システム
3か月前
株式会社オカムラ
コンベヤ装置
6か月前
株式会社オカムラ
コンベヤ装置
6か月前
株式会社オカムラ
パネル構造体
6か月前
株式会社オカムラ
閉断面構造体
6か月前
株式会社オカムラ
天板昇降式什器
2か月前
株式会社オカムラ
空間形成用什器
2か月前
株式会社オカムラ
背凭れ及び椅子
6か月前
株式会社オカムラ
天板昇降式什器
2か月前
株式会社オカムラ
背凭れ及び椅子
6か月前
株式会社オカムラ
天板昇降式什器
3か月前
株式会社オカムラ
パーティション
1か月前
株式会社オカムラ
移動間仕切装置
2か月前
株式会社オカムラ
移動間仕切装置
2か月前
続きを見る
他の特許を見る