TOP
|
特許
|
意匠
|
商標
特許ウォッチ
Twitter
他の特許を見る
公開番号
2025178400
公報種別
公開特許公報(A)
公開日
2025-12-05
出願番号
2025163099,2024101176
出願日
2025-09-30,2020-06-30
発明の名称
自動ドア装置
出願人
ナブテスコ株式会社
代理人
個人
主分類
E05F
15/632 20150101AFI20251128BHJP(錠;鍵;窓または戸の付属品;金庫)
要約
【課題】安全性を確保しつつ、より利用者の意図に則して引戸を制御でき利便性をより高められる自動ドア装置を提供する。
【解決手段】
自動ドア装置10は、室内と室外とを隔てる引戸と、引戸近傍の検知エリア内の人又は物を検知する保護センサ48と、引戸の開指示又は閉指示が入力される指示入力部36と、引戸を開又は閉制御する多機能トイレ自動ドア制御器54及びドアコントローラ56とを備え、ドア制御器54は、保護センサ48が検知状態であり、且つ指示入力部36に開又は閉指示が入力されている間、引戸を開又は閉駆動制御する。
【選択図】図3
特許請求の範囲
【請求項1】
室内と室外とを隔てる引戸と、
前記引戸近傍に設けられた検知エリア内の人又は物を検知する閉保護センサと、
前記室内に設けられ前記引戸の閉指示が入力される閉指示入力部と、
前記引戸を閉駆動制御する制御部とを備え、
前記制御部は、前記閉指示入力部に閉指示が入力されたときに前記室外側の検知エリアにおける前記閉保護センサの検知結果に関わらず前記引戸を閉駆動制御する、
自動ドア装置。
続きを表示(約 1,500 文字)
【請求項2】
前記制御部は、前記閉指示入力部に閉指示が入力され、かつ前記閉保護センサが検知状態のときは、前記閉保護センサが非検知状態のときよりも低速で前記引戸を閉動作制御する、請求項1に記載の自動ドア装置。
【請求項3】
前記引戸が設けられる開口に補助検知エリアを有する補助センサを備え、
前記制御部は、前記室内側に設けられた前記閉指示入力部に閉指示が入力され、かつ前記補助センサが検知状態のときは前記引戸の閉駆動制御を停止する、請求項1又は2に記載の自動ドア装置。
【請求項4】
前記制御部が、前記閉指示入力部に閉指示が入力された閉指示に基づいて前記引戸を閉駆動制御するときに前記閉保護センサが検知状態である場合、少なくとも前記引戸が閉じることを報知する報知部を備える、請求項1乃至3のいずれか1項に記載の自動ドア装置。
【請求項5】
室内と室外とを隔てる引戸と、
前記引戸近傍に設けられた検知エリア内の人又は物を検知する保護センサと、
前記引戸の開又は閉指示が入力される指示入力部と、
前記引戸を開又は閉駆動制御する制御部とを備え、
前記制御部は、前記指示入力部に開閉指示が入力され、且つ前記保護センサが検知状態のときに、前記保護センサが非検知状態になるまで前記引戸を開又は閉駆動制御しない、
自動ドア装置。
【請求項6】
前記制御部は、前記引戸の駆動源を制御する駆動制御部と、前記駆動制御部に前記駆動源の駆動指示を供給する指示供給制御部とを備え、
前記指示供給制御部は、前記指示入力部に開閉指示が入力され、且つ前記保護センサが検知状態のときに、前記保護センサが非検知状態になった後、前記駆動制御部に前記駆動指示を供給する、請求項5に記載の自動ドア装置。
【請求項7】
室内と室外とを隔てる引戸と、
前記引戸近傍に設けられた検知エリア内の人又は物を検知する保護センサと、
前記引戸の開又は閉指示が入力される指示入力部と、
前記引戸を開又は閉駆動制御する制御部とを備え、
前記制御部は、前記指示入力部に開閉指示が入力され、且つ前記保護センサが検知状態のときに、所定時間経過するまで前記引戸を開又は閉駆動制御しない、自動ドア装置。
【請求項8】
前記指示入力部への開又は閉指示の入力に関する案内を行う案内部を備え、
前記案内部は、前記指示入力部への開又は閉指示の入力を再度行うように案内し、
前記制御部は、前記指示入力部に入力された開又は閉指示と同一の開又は閉指示が前記指示入力部に再び入力されたときに前記所定時間の計測を開始する、
請求項7に記載の自動ドア装置。
【請求項9】
室内と室外とを隔てる引戸と、
前記引戸の戸尻近傍に設けられた開検知エリア内の人又は物を検知する開保護センサと、
前記引戸を開駆動制御する制御部に対して開指示が入力される開指示入力部と、
前記室内側に設けられた前記開指示入力部に開指示が入力されたときに前記開検知エリアの様態を変化させる検知エリア制御部とを備える、
自動ドア装置。
【請求項10】
前記検知エリア制御部は、前記室外側に設けられ前記引戸の開指示が入力されたときは前記開検知エリアの様態を変化させない、請求項9に記載の自動ドア装置。
(【請求項11】以降は省略されています)
発明の詳細な説明
【技術分野】
【0001】
本発明は自動ドア装置に関する。
続きを表示(約 1,300 文字)
【背景技術】
【0002】
従来、公共の多機能トイレ等の特定の施設では利用者の出入りの利便性を向上させるために、利用者の存在をセンサにより検知し、検知結果に基づいて引戸を開閉する自動ドア装置が用いられている(例えば特許文献1)。
【先行技術文献】
【特許文献】
【0003】
特開2005-163408号公報
【0004】
特許文献1に記載されているような自動ドア装置は、トイレの内外にそれぞれ開閉スイッチ及びセンサを備えている。利用者がトイレを利用する場合、利用者はトイレ内に入ってからトイレ内の開閉スイッチを操作して引戸を閉じる。自動ドア装置は、トイレ内外のセンサにより人又は物の存在を検知し人又は物が特定の検知範囲内に存在しないことを確認して引戸を閉じる。
【発明の概要】
【発明が解決しようとする課題】
【0005】
当然のことながら、引戸近傍にセンサの検知範囲を設定して人等の安全性を確保することは重要である。一方でセンサの検知結果にしたがって画一的に引戸を操作すると、例えば引戸の移動経路から外れた位置にいる人又は物をセンサが検知して引戸を閉じられない、利用者自身がセンサの検知範囲内に入ってしまい引戸を閉じられない等の様々な要因により利用者の意図通りに引戸が開閉しない場合がある。
【0006】
本開示は、安全性を確保しつつ、より利用者の意図に則して引戸を制御でき利便性をより高められる自動ドア装置を提供することを目的とする。
【課題を解決するための手段】
【0007】
本開示は一態様において、室内と室外とを隔てる引戸と、引戸近傍に設けられた検知エリア内の人又は物を検知する保護センサと、引戸の開又は閉指示が入力される指示入力部と、引戸を開又は閉駆動制御する制御部とを備え、制御部は、保護センサが検知状態であり、且つ指示入力部に開又は閉指示が入力されている間、引戸を開又は閉駆動制御する。
【図面の簡単な説明】
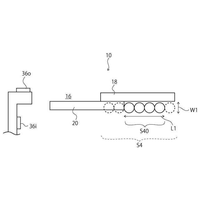
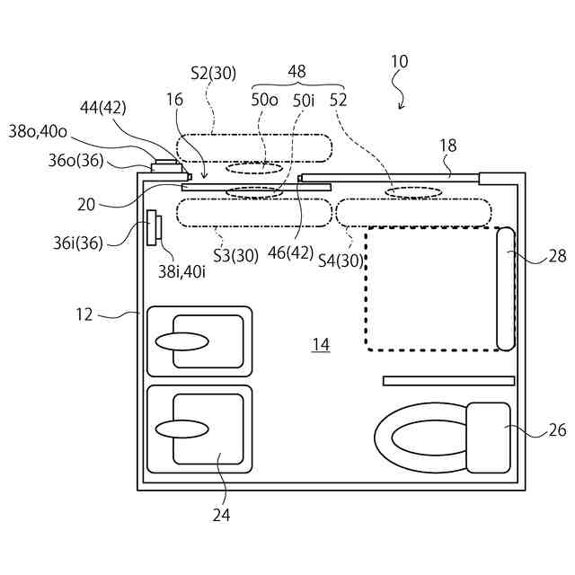
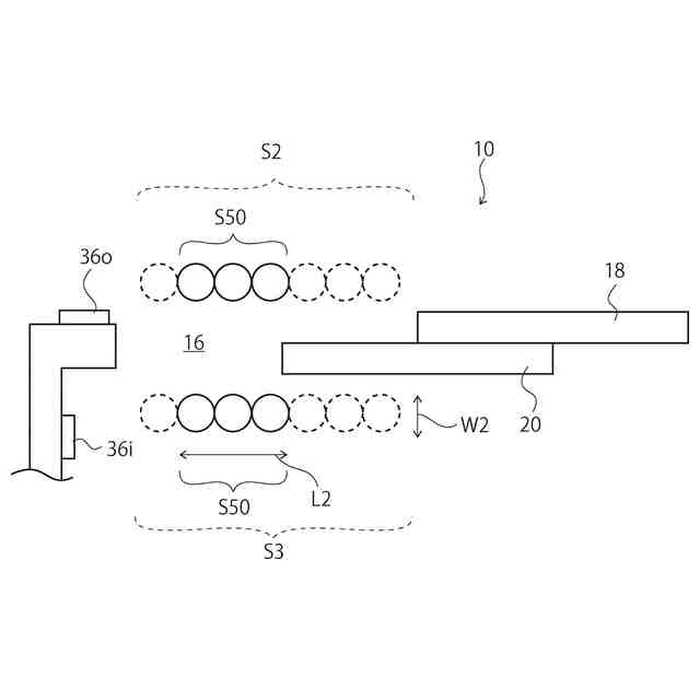
【0008】
自動ドア装置の正面図である。
自動ドア装置が設置された多機能トイレの平面図である。
自動ドア装置の制御機構のブロック図である。
自動ドア装置の上面図である。
自動ドア装置の上面図である。
【発明を実施するための形態】
【0009】
以下、本発明を好適な実施の形態をもとに図面を参照しながら説明する。各図面に示される同一または同等の構成要素、部材、処理には、同一の符号を付するものとし、適宜重複した説明は省略する。また、実施の形態は、発明を限定するものではなく例示であって、実施の形態に記述されるすべての特徴やその組み合わせは、必ずしも発明の本質的なものであるとは限らない。
【0010】
実施形態では多機能トイレの出入口に設けられた自動ドア装置について説明する。自動ドア装置は、多機能トイレ以外にも例えば工場の搬出入口のように自動ドア装置の引戸を挟んで両側に開閉スイッチが配置される様々な場所に適用できる。
(【0011】以降は省略されています)
この特許をJ-PlatPat(特許庁公式サイト)で参照する
関連特許
株式会社ベスト
軸釣装置
1か月前
個人
ポスト機能付き手提げ金庫
3か月前
株式会社ソリック
ドア装置
1か月前
三協立山株式会社
開口部装置
3か月前
個人
無人貸金庫システム
2か月前
株式会社ベスト
開き扉の開閉装置
3か月前
日本発條株式会社
リッド開閉装置
6日前
積水ハウス株式会社
引き戸
2か月前
有限会社シティング
引き戸
2か月前
トヨタ自動車株式会社
車両
1か月前
株式会社セリュール
電子錠、電気錠装置
27日前
株式会社セリュール
電子錠、電気錠装置
27日前
株式会社ベスト
扉及び個室
2か月前
積水ハウス株式会社
引き戸
2か月前
スズキ株式会社
車両用乗員保護装置
3か月前
コイト電工株式会社
蝶番の取付構造
2か月前
朝日電装株式会社
車両用ロック装置
19日前
株式会社アイシン
ドア支持装置
2か月前
株式会社ユニオン
ドアハンドル
2か月前
タキゲン製造株式会社
電動ステー装置
5日前
株式会社LIXIL
建具
2か月前
株式会社アイシン
操作検出装置
13日前
株式会社ベスト
軸釣装置の上吊り手段
27日前
株式会社アイシン
車両用ドア装置
2か月前
芝浦電子工業株式会社
遠隔解錠システム
1か月前
スガツネ工業株式会社
上吊式引戸
1か月前
株式会社アイシン
車両用ドア装置
2か月前
株式会社ナガエ
宅配ボックス用の錠装置
2か月前
株式会社アイシン
車両用ドア装置
2か月前
日本プラスト株式会社
ロック装置
3か月前
トヨタ自動車株式会社
警報制御装置
3か月前
株式会社ガードロック
補助施錠装置
今日
富士電機株式会社
制御装置、制御方法
1か月前
トヨタ自動車株式会社
車両の制御装置
3か月前
株式会社LIXIL
シリンダ錠
2か月前
大和ハウス工業株式会社
間仕切り機構
2か月前
続きを見る
他の特許を見る