TOP
|
特許
|
意匠
|
商標
特許ウォッチ
Twitter
他の特許を見る
10個以上の画像は省略されています。
公開番号
2025158893
公報種別
公開特許公報(A)
公開日
2025-10-17
出願番号
2024153305
出願日
2024-09-05
発明の名称
カーテンウォール
出願人
株式会社LIXIL
代理人
個人
,
個人
,
個人
主分類
E04B
2/96 20060101AFI20251009BHJP(建築物)
要約
【課題】床面積に影響を及ぼすことなく断熱性を高めることができるカーテンウォールを提供する。
【解決手段】カーテンウォールは、枠材11と、枠材11に支持されたパネル31と、パネル31の屋内側Y2に間隔を空けて配置されたパネル体3Bと、を備え、パネル体3Bは、耐火ボード32と、耐火ボード32の屋外側Y1に配置された真空断熱ボード33と、を有する。
【選択図】図4
特許請求の範囲
【請求項1】
枠材と、
前記枠材に支持されたパネルと、
前記パネルの屋内側に間隔を空けて配置されたパネル体と、を備え、
前記パネル体は、
耐火ボードと、
前記耐火ボードの屋外側に配置された真空断熱ボードと、を有するカーテンウォール。
続きを表示(約 240 文字)
【請求項2】
前記真空断熱ボードは、
非結晶シリカ及びガラスファイバーの少なくともいずれか一方を含む芯材を有する請求項1に記載のカーテンウォール。
【請求項3】
前記真空断熱ボードは、
金属材料で袋状に形成され、前記芯材が真空状態で封入された袋体を有する請求項2に記載のカーテンウォール。
【請求項4】
前記パネル体は、
前記真空断熱ボードの屋外側に配置された化粧パネルを有する請求項1または2に記載のカーテンウォール。
発明の詳細な説明
【技術分野】
【0001】
本開示は、カーテンウォールに関するものである。
続きを表示(約 1,300 文字)
【背景技術】
【0002】
従来から、建物の開口部に設置されるカーテンウォールが知られている。特許文献1には、窓ガラスの屋内側に耐火ボードが設置されたカーテンウォールが開示されている。
【先行技術文献】
【特許文献】
【0003】
特開2023-98187号公報
【発明の概要】
【発明が解決しようとする課題】
【0004】
断熱性を高めるために、耐火ボードの屋内側にロックウールを吹付けると、ロックウール部分が屋内側に張り出してしまい、床面積が狭くなってしまうという問題点がある。
【0005】
本開示は、上記事情に鑑みてなされたものであり、床面積に影響を及ぼすことなく断熱性を高めることができるカーテンウォールを提供する。
【課題を解決するための手段】
【0006】
本開示の一態様に係るカーテンウォールは、枠材と、前記枠材に支持されたパネルと、前記パネルの屋内側に間隔を空けて配置されたパネル体と、を備え、前記パネル体は、耐火ボードと、前記耐火ボードの屋外側に配置された真空断熱ボードと、を有する。
【図面の簡単な説明】
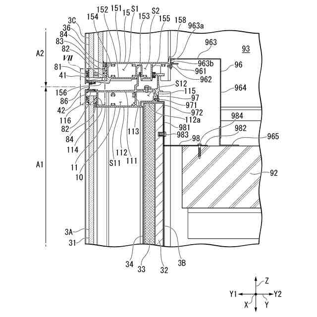
【0007】
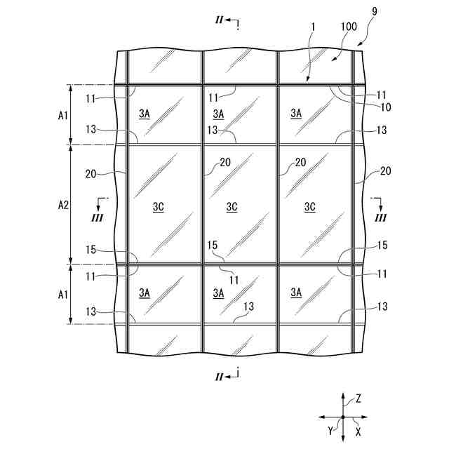
第1実施形態に係るカーテンウォールの正面図である。
図1のII-II線断面図である。
図1のIII-III線断面図である。
図2のIV部拡大図である。
図2のV部拡大図である。
図3のVI部拡大図である。
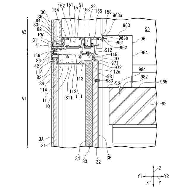
図4のVII部拡大図である。
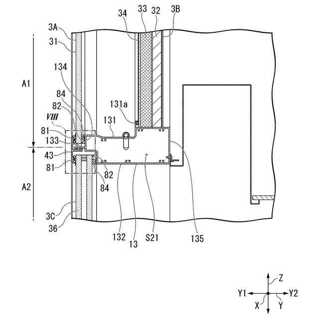
図5のVIII部拡大図である。
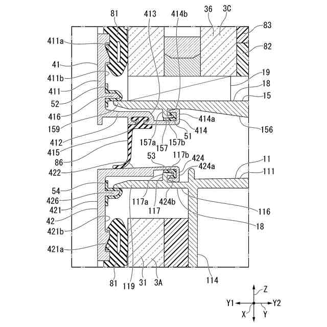
図6のIX部拡大図である。
第2実施形態に係るカーテンウォールの図4のVII部拡大図である。
第2実施形態に係るカーテンウォールの図5のVIII部拡大図である。
第2実施形態に係るカーテンウォールの図6のIX部拡大図である。
第3実施形態に係るカーテンウォールの押縁を示す図である。
【発明を実施するための形態】
【0008】
(第1実施形態)
以下、第1実施形態に係るカーテンウォールについて、図面に基づいて説明する。以下の実施形態は、本開示の一態様を示すものであり、本開示を限定するものではなく、本開示の技術的思想の範囲内で任意に変更可能である。以下の図面においては、各構成を分かりやすくするために、実際の構造と各構造における縮尺等を異ならせている。
【0009】
以下の説明では、屋外側と屋内側とを結び水平方向に沿う方向を、屋内外方向Yと称する。屋内外方向Yと直交し水平方向に沿う方向を、左右方向Xと称する。屋内外方向Y及び左右方向Xと直交する方向を、上下方向Zと称する。屋内外方向Yのうち、居室側を屋内側Y2と称し、居室と反対側を屋外側Y1と称する。
【0010】
図1に示すように、ビルなどの建築物9は、図2に示す構造体90と、カーテンウォール100と、を備えている。
(【0011】以降は省略されています)
この特許をJ-PlatPat(特許庁公式サイト)で参照する
関連特許
株式会社LIXIL
トレーラー
25日前
株式会社LIXIL
湯水混合装置
23日前
株式会社LIXIL
シャワー装置
10日前
株式会社LIXIL
二重窓の改装方法
16日前
株式会社LIXIL
カバー材及び改装建具
1か月前
株式会社LIXIL
カバー材及び改装建具
1か月前
株式会社LIXIL
ドア開閉装置及びドア
10日前
株式会社LIXIL
カバー材及び改装建具
1か月前
株式会社LIXIL
混合装置及び水回り装置
1か月前
株式会社LIXIL
ポンプ、及び電気温水器システム
2日前
株式会社LIXIL
ソファベッド、及び、トレーラー
25日前
株式会社LIXIL
管理装置、管理方法、及びコンピュータプログラム
1か月前
株式会社LIXIL
管理装置、管理方法、及びコンピュータプログラム
1か月前
株式会社LIXIL
管理装置、管理方法、及びコンピュータプログラム
1か月前
株式会社LIXIL
液膜装置、液膜形成方法、制御装置、及び水回り装置
25日前
株式会社LIXIL
建具
2日前
株式会社LIXIL
開き窓
10日前
株式会社LIXIL
便器装置
2日前
株式会社LIXIL
制御装置、コンピュータプログラム、調整方法、及び、制御システム
1か月前
株式会社LIXIL
トイレ用キャビネット
2日前
株式会社LIXIL
評価装置、評価システム、ユーザ端末、評価方法、および評価プログラム
2日前
株式会社LIXIL
ホームシステム、人物検出装置、人物検出方法および人物検出プログラム
2日前
大和ハウス工業株式会社
外壁の断熱改修構造および外壁の断熱改修方法
1か月前
株式会社LIXIL
樹脂組成物成形体の製造方法
10日前
株式会社LIXIL
便器装置及び便器装置のカバー構造
23日前
株式会社セブン-イレブン・ジャパン
店舗営業支援システム
18日前
株式会社LIXIL
情報処理装置、サーバ、情報処理システム、情報処理方法および情報処理プログラム
10日前
株式会社LIXIL
制御装置、混合装置ユニット、水回り装置、コンピュータプログラム、及び制御方法
1か月前
株式会社LIXIL
ホームシステム、トリガー発生装置、トリガー発生方法およびトリガー発生プログラム
18日前
株式会社LIXIL
枠ユニットおよび枠ユニットの施工方法
2日前
株式会社LIXIL
制御装置、制御システム、制御方法およびプログラム
2日前
個人
接合構造
1か月前
個人
タッチミー
1か月前
個人
屋台
2か月前
個人
野良猫ハウス
2か月前
個人
転落防止用手摺
2か月前
続きを見る
他の特許を見る