TOP
|
特許
|
意匠
|
商標
特許ウォッチ
Twitter
他の特許を見る
公開番号
2025139524
公報種別
公開特許公報(A)
公開日
2025-09-26
出願番号
2024057862
出願日
2024-03-12
発明の名称
物体表面洗浄装置
出願人
個人
代理人
主分類
B08B
3/02 20060101AFI20250918BHJP(清掃)
要約
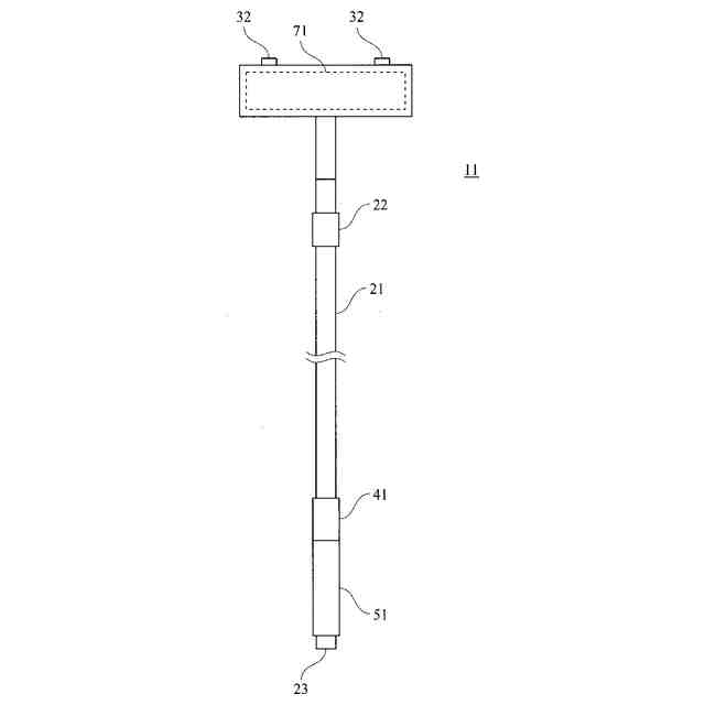
【課題】環境負荷の高い洗浄剤を使わず、超微細気泡と回転ブラシとにより、高い洗浄能力を備えた物体表面洗浄装置を提供する。
【解決手段】洗浄水の流路を内蔵した長尺ロッド部21と、前記長尺ロッド部21の一方の端部に設けられた首振り部22と、前記首振り部22に着脱自在に取り付けられた回転ブラシ部71と、前記長尺ロッド部21の他方の端部に設けられた接続部23と、前記長尺ロッド部21の所定位置に取り付けられた水流調整スイッチ41と、前記長尺ロッド部21の所定位置に取り付けられた超微細気泡生成装置と、前記回転ブラシ部71に取り付けられた水圧調整弁32と、からなる物体表面洗浄装置11。
【選択図】図3
特許請求の範囲
【請求項1】
洗浄水の流路を内蔵した長尺ロッド部と、
前記長尺ロッド部の一方の端部に設けられた首振り部と、
前記首振り部に着脱自在に取り付けられた回転ブラシ部と、
前記長尺ロッド部の他方の端部に設けられた接続部と、
前記長尺ロッド部の所定位置に取り付けられた水流調整スイッチと、
前記長尺ロッド部の所定位置に取り付けられた超微細気泡生成装置と、
前記回転ブラシ部に取り付けられた水圧調整弁と、
からなる物体表面洗浄装置であって、
前記物体表面洗浄装置は、前記接続部を介して、水道水、河川くみ上げ式ポンプ、貯水タンクその他の洗浄水供給手段に接続され、
前記洗浄水供給手段から前記長尺ロッド部に供給された洗浄水は、前記流路を通過する際に、前記超微細気泡生成装置を介して超微細気泡が添加され、前記回転ブラシ部から物体表面に噴射されるようにしたことを特徴とする物体表面洗浄装置。
続きを表示(約 300 文字)
【請求項2】
前記回転ブラシ部が、1つまたは複数の円盤状のブラシからなることを特徴とする請求項1に記載の物体表面洗浄装置。
【請求項3】
前記回転ブラシ部が、1つまたは複数の円筒状のブラシからなることを特徴とする請求項1に記載の物体表面洗浄装置。
【請求項4】
前記ブラシを構成する毛の毛先に、前記毛の太さよりも細い極細毛を形成させたことを特徴とする請求項3または4に記載の物体表面洗浄装置。
【請求項5】
前記ブラシを構成する毛を、硬質毛と軟質毛を所定の間隔で交互に配置させたことを特徴とする請求項3または4に記載の物体表面洗浄装置。
発明の詳細な説明
【技術分野】
【0001】
本発明は、壁面、屋根、路面、太陽光パネル、その他洗浄が必要な物体の表面を、回転ブラシによるブラッシングと、超微細気泡水を物体表面に噴射することにより洗浄する装置に関するものである。
続きを表示(約 1,700 文字)
【背景技術】
【0002】
一般住宅、産業用施設、モニュメント等のあらゆる構造物において、その構造物を含む物体表面を洗浄し、綺麗な状態を保つことが求められている。しかし、その物体の表面の洗浄は、例えば界面活性剤のような洗浄剤を使用してしまうと、十分な洗浄能力を発揮できるものの、自然環境への負荷が高い。一方で、自然環境に配慮を優先し、洗浄効果の低い液剤を使用すると、十分な洗浄能力を発揮することができないという問題も存在する。
【0003】
そこで、自然環境へ配慮しつつ、物体表面を十分に洗浄することができる方法として、微細気泡を含む液体を用いる方法が提案されている。
特許第6780172号公報(特許文献1参照)では、水系洗浄剤として、(a)ジエチレングリコールモノアルキルエーテルと、(b)三級アミンと、(c)乳酸エステルと、(d)ヒドロキシカルボン酸と、(e)水とを含有することを特徴とし、かかる水系洗浄剤は、界面活性剤を実質的に含有していないにもかかわらず、高い洗浄性能を発揮できるため、界面活性剤の残留による悪影響を生じさせることなく、種々の汚れを好適に除去でき、また、この水系洗浄剤は、人体への影響が比較的に少ない乳酸エステルを使用しているため、取扱いや廃棄が容易という利点も有することを特徴とする水系洗浄剤を用いた洗浄方法が提案されている。
【0004】
超微細気泡を含有させた洗浄水および該洗浄水を用いた物体表面の洗浄方法としては、特開2021-049490号公報(特許文献2参照)において、軟水Wsをバブリング処理してファインバブルが含まれる軟水Wpとする第1工程と、軟水を電気分解処理することにより軟水の中に1ppm以上の濃度を持つオゾンバブルとファインバブルとが混在する洗浄水Wmを得る第2工程とを含むトイレ内の設備Tに散布されてその清掃に利用される洗浄水Wmを製造する洗浄水の製造方法および洗浄水散布システムが提案されている。
【0005】
しかしながら、これら技術を用いたとしても、いまだ、環境配慮と物体表面の十分な洗浄との両立は難しく、環境配慮を前提とした中でも、さらに高い洗浄能力の洗浄装置が求められている。
【先行技術文献】
【特許文献】
【0006】
特許第6780172号
特開2021-049490号公報
特開2013-139958号公報
【発明の概要】
【発明が解決しようとする課題】
【0007】
そこで本発明が解決しようとする課題は、環境負荷の高い洗浄剤を使わず、超微細気泡と回転ブラシとにより、高い洗浄能力を備えた物体表面洗浄装置を提供しようとするものである。
【課題を解決するための手段】
【0008】
上述の課題を解決するための手段として、本発明の物体表面洗浄装置は、洗浄水の流路を内蔵した長尺ロッド部と、前記長尺ロッド部の一方の端部に設けられた首振り部と、前記首振り部に着脱自在に取り付けられた回転ブラシ部と、前記長尺ロッド部の他方の端部に設けられた接続部と、前記長尺ロッド部の所定位置に取り付けられた水流調整スイッチと、前記長尺ロッド部の所定位置に取り付けられた超微細気泡生成装置と、前記回転ブラシ部に取り付けられた水圧調整弁と、からなる物体表面洗浄装置であって、前記物体表面洗浄装置は、前記接続部を介して、水道水、河川くみ上げ式ポンプ、貯水タンクその他の洗浄水供給手段に接続され、前記洗浄水供給手段から前記長尺ロッド部に供給された洗浄水は、前記流路を通過する際に、前記超微細気泡生成装置を介して超微細気泡が添加され、前記回転ブラシ部から物体表面に噴射されるようにしたことを特徴とする。
【0009】
また、本発明の物体表面洗浄装置において、前記回転ブラシ部が、1つまたは複数の円盤状のブラシからなることを特徴とする。
【0010】
また、本発明の物体表面洗浄装置において、前記回転ブラシ部が、1つまたは複数の円筒状のブラシからなることを特徴とする。
(【0011】以降は省略されています)
この特許をJ-PlatPat(特許庁公式サイト)で参照する
関連特許
個人
ブラシ付きノズル
2か月前
個人
物体表面洗浄装置
1か月前
ノリタケ株式会社
洗浄装置
28日前
株式会社シロハチ
長尺物用の清掃用具
2か月前
三浦工業株式会社
洗浄システム
2か月前
株式会社未来造形
チェーン洗浄具
1か月前
GOLDEN通商株式会社
ごみバンカの清掃方法
14日前
株式会社三幸社
衣服立体乾燥機の吊り下げ型掃除用具
15日前
大裕株式会社
敷鉄板表面の溶接残留物除去装置
2か月前
三浦工業株式会社
洗浄装置
3か月前
国立大学法人東海国立大学機構
微小重力環境用洗浄装置
14日前
栗田工業株式会社
管内面の洗浄用プラグ及び洗浄方法
1か月前
トヨタ自動車株式会社
配管洗浄装置
3か月前
ノリタケ株式会社
スラリーアイス洗浄装置用の管状部品
28日前
キリンホールディングス株式会社
除去装置及び除去方法
2日前
工機ホールディングス株式会社
作業機
3か月前
株式会社奥村組
洗浄器具および洗浄方法
1か月前
株式会社エスエスティー
異形物体の洗浄方法
14日前
イフコ・ジャパン 株式会社
物流容器の洗浄装置及び洗浄方法
1か月前
日鉄テックスエンジ株式会社
ツール清掃装置
29日前
三浦工業株式会社
コンピュータプログラム
17日前
日本電気株式会社
ファン、制御方法、通知方法およびプログラム
1か月前
日本ゼオン株式会社
光学フィルムの製造方法
1か月前
リンテック株式会社
清掃装置および清掃方法
29日前
ノリタケ株式会社
スラリーアイス洗浄装置およびスラリーアイス洗浄方法
28日前
ノリタケ株式会社
スラリーアイス洗浄装置およびスラリーアイス洗浄方法
28日前
ノリタケ株式会社
スラリーアイス洗浄装置およびスラリーアイス洗浄方法
28日前
株式会社石野製作所
清掃方法、清掃用スポンジ及び清掃装置
3か月前
三菱重工業株式会社
配管内部の付着物除去装置および方法
3か月前
株式会社IHIインフラ建設
ワイヤロープ油除去装置
8日前
トヨタ自動車株式会社
雄ねじに付着した異物を除去する治具
1日前
株式会社LIXIL
水垢の処理方法、着色剤、及び着色済み基材
3か月前
タケウチビユーテー株式会社
ホームドア洗浄装置、ホームドア洗浄装置用の連結構造、及びホームドア洗浄方法
2か月前
揚發實業有限公司
洗浄機に用いられるノズル揺動機構
1か月前
青島海爾洗衣机有限公司
超音波洗浄装置
3か月前
ノヴァ ケミカルズ(アンテルナショナル)ソシエテ アノニム
ODH反応器の下流の汚れを除去する方法
3か月前
続きを見る
他の特許を見る