TOP
|
特許
|
意匠
|
商標
特許ウォッチ
Twitter
他の特許を見る
公開番号
2025145005
公報種別
公開特許公報(A)
公開日
2025-10-03
出願番号
2024044967
出願日
2024-03-21
発明の名称
無人飛行体
出願人
株式会社IHI
代理人
弁理士法人青海国際特許事務所
主分類
B64F
3/00 20060101AFI20250926BHJP(航空機;飛行;宇宙工学)
要約
【課題】係留索と回転翼の干渉に起因した回転翼の損傷および墜落すること。
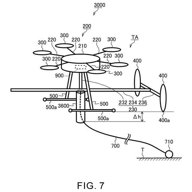
【解決手段】係留索700により機体200の下方から係留された状態で飛行可能な無人飛行体100であって、機体200と、機体200の一側部に設けられ、無人飛行体100を水平方向に移動させる推進力を発生させる水平回転翼(第1回転翼)400と、機体200から下方に突設され、係留索700の一端が連結される連結部材600と、を備え、係留索700の一端が連結される連結部材600の部位である連結部(係留点)610は、水平回転翼400の回転範囲の下端よりも下方に配置される。
【選択図】図1
特許請求の範囲
【請求項1】
係留索により機体の下方から係留された状態で飛行可能な無人飛行体であって、
機体と、
前記機体の一側部に設けられ、前記無人飛行体を水平方向に移動させる推進力を発生させる第1回転翼と、
前記機体から下方に突設され、前記係留索の一端が連結される連結部材と、
を備え、
前記係留索の一端が連結される前記連結部材の部位である係留点は、前記第1回転翼の回転範囲の下端よりも下方に配置される、無人飛行体。
続きを表示(約 810 文字)
【請求項2】
前記連結部材は、前記機体に対して可倒式であり、
前記無人飛行体の飛行時に、前記連結部材は前記機体に対して起立し、
前記無人飛行体の離着陸時に、前記連結部材は前記機体に沿って倒れる、請求項1に記載の無人飛行体。
【請求項3】
前記無人飛行体の離着陸時に、前記連結部材は前記第1回転翼とは反対側に倒れる、請求項2に記載の無人飛行体。
【請求項4】
前記無人飛行体は、前記無人飛行体の着陸時に前記機体を支持する脚を備え、
前記無人飛行体の飛行時に、前記連結部材の前記係留点は、前記脚の下端よりも下方に配置される、請求項1~3のいずれか1項に記載の無人飛行体。
【請求項5】
前記係留索の他端は、前記無人飛行体の飛行対象領域よりも下方に設置される固定具に固定される、請求項1~3のいずれか1項に記載の無人飛行体。
【請求項6】
係留索により機体の上方から係留された状態で飛行可能な無人飛行体であって、
機体と、
前記機体の上部に設けられ、前記無人飛行体を上下方向に移動させる推進力を発生させる第2回転翼と、
前記機体または前記第2回転翼から上方に突設され、前記係留索の一端が連結される連結部材と、
を備え、
前記係留索の一端が連結される前記連結部材の部位である係留点は、前記第2回転翼よりも上方に配置される、無人飛行体。
【請求項7】
前記連結部材の前記係留点は、上下方向における前記第2回転翼よりも上方であって、水平方向における前記第2回転翼の回転範囲の外側に配置される、請求項6に記載の無人飛行体。
【請求項8】
前記係留索の他端は、前記無人飛行体の飛行対象領域よりも上方に設置される固定具に固定される、請求項6または7に記載の無人飛行体。
発明の詳細な説明
【技術分野】
【0001】
本開示は、無人飛行体に関する。
続きを表示(約 1,300 文字)
【背景技術】
【0002】
従来、ドローンと呼ばれる回転翼を有する無人飛行体がある。このドローンに対し、例えば、撮像装置を搭載し、ドローンを遠隔操作することで、高所に設けられた設備を撮像および観察することができる。例えば、特許文献1には、電柱に架設された架空地線、あるいは、鉄塔に架設された架空地線近傍を観察可能な撮像装置を備えたドローンについて開示がある。
【0003】
特許文献1に記載のドローンでは、機体障害または気象条件などによりドローンが飛行不能となった際に地上に墜落することを防止するために、安全装置が設けられている。特許文献1に記載の安全装置は、電柱に架設した架空地線、あるいは、鉄塔に架設した架空地線と係合可能な係合部材と、当該係合部材とドローンを接続するワイヤー部材とを備える。これにより、ワイヤー部材を介して係合部材が架空地線に係留されることから、ドローンが飛行不能となった際に地上に墜落することを防止することができる。
【先行技術文献】
【特許文献】
【0004】
特開2021-75105号公報
【発明の概要】
【発明が解決しようとする課題】
【0005】
ところで、ドローンには、上下方向に推進力を発生させる垂直回転翼や、水平方向に推進力を発生させる水平回転翼などが設けられる。しかし、特許文献1に記載のドローンには、上述したように飛行不能となった際に地上に墜落することを防止するための係留索として、ワイヤー部材が設けられている。そのことから、ドローンの飛行中に、当該ワイヤー部材と回転翼とが干渉することによって、回転翼が損傷したり、ドローンが墜落したりしてしまうといった問題があった。
【0006】
本開示の目的は、係留索と回転翼の干渉に起因した回転翼の損傷および墜落を抑制可能な無人飛行体を提供することである。
【課題を解決するための手段】
【0007】
上記課題を解決するために、本開示の無人飛行体は、係留索により機体の下方から係留された状態で飛行可能な無人飛行体であって、機体と、機体の一側部に設けられ、無人飛行体を水平方向に移動させる推進力を発生させる第1回転翼と、機体から下方に突設され、係留索の一端が連結される連結部材と、を備え、係留索の一端が連結される連結部材の部位である係留点は、第1回転翼の回転範囲の下端よりも下方に配置される。
【0008】
連結部材は、機体に対して可倒式であり、無人飛行体の飛行時に、連結部材は機体に対して起立し、無人飛行体の離着陸時に、連結部材は機体に沿って倒れてもよい。
【0009】
無人飛行体の離着陸時に、連結部材は第1回転翼とは反対側に倒れてもよい。
【0010】
無人飛行体は、無人飛行体の着陸時に機体を支持する脚を備え、無人飛行体の飛行時に、連結部材の係留点は、脚の下端よりも下方に配置されてもよい。
(【0011】以降は省略されています)
この特許をJ-PlatPat(特許庁公式サイト)で参照する
関連特許
株式会社IHI
無人飛行体
7日前
株式会社IHIインフラシステム
塗膜除去方法
1か月前
株式会社IHI原動機
脈動減衰装置
21日前
株式会社IHIインフラシステム
塗膜除去方法
2日前
株式会社IHI
制御システム
1か月前
株式会社IHI
誘導加熱装置
1か月前
株式会社IHI
基板固定構造
1か月前
株式会社IHI
給電システム
1か月前
株式会社IHI物流産業システム
ピッキング設備
2か月前
株式会社IHI検査計測
プローブ取付装置
1か月前
株式会社IHIプラント
アンモニア受入設備
2か月前
株式会社IHIプラント
アンモニア受入設備
1か月前
株式会社IHIプラント
アンモニア受入設備
2か月前
株式会社IHIインフラ建設
合成桁の床版撤去方法
1か月前
株式会社IHI
多重構造部の止水方法
1日前
株式会社IHI
ラジアルフォイル軸受
1日前
株式会社IHI
修復装置および修復方法
14日前
株式会社IHIプラント
液化ガス気化器ユニット
2か月前
株式会社IHI
走査装置および走査方法
2日前
株式会社IHI
ガス除害装置及びガス除害方法
1か月前
株式会社IHI汎用ボイラ
ボイラ及び水素ガスのパージ方法
11日前
株式会社IHI検査計測
ボルトねじ部のき裂検査装置と方法
1か月前
株式会社IHIプラント
漏液処理設備及び液化ガスタンク設備
2か月前
株式会社IHI
乾燥装置、および、含水率の推定方法
23日前
株式会社IHI
橋梁の管理方法および橋梁の管理装置
1か月前
株式会社IHI
認識装置、認識方法、及び、認識プログラム
1か月前
株式会社IHI建材工業
コンクリート部材及びその打設方法とセグメント
3日前
株式会社IHIプラント
アンモニア漏出処理設備及びアンモニア受入設備
1か月前
株式会社IHIインフラ建設
プレキャスト床版の壁高欄の構築方法及びシステム
2か月前
株式会社IHI
情報処理装置、情報処理方法、及び、情報処理プログラム
2か月前
株式会社IHIインフラシステム
塗膜除去方法
1か月前
株式会社IHI検査計測
流動層燃焼炉を用いたバイオマス専焼時の流動不良予測評価方法
1か月前
株式会社IHI
スラストフォイル軸受
1か月前
株式会社IHIインフラ建設
斜張橋のケーブル用移動足場装置及びこれを用いたケーブル用足場移動方法
2か月前
トヨタ自動車株式会社
ブローバイガス処理装置、内燃機関、および過給機
1か月前
株式会社IHI
モータケーシングの端子接続構造及び回転機械
23日前
続きを見る
他の特許を見る