TOP
|
特許
|
意匠
|
商標
特許ウォッチ
Twitter
他の特許を見る
10個以上の画像は省略されています。
公開番号
2025155779
公報種別
公開特許公報(A)
公開日
2025-10-14
出願番号
2024221580
出願日
2024-12-18
発明の名称
セグメントの接合構造
出願人
株式会社IHI建材工業
代理人
弁理士法人アテンダ国際特許事務所
主分類
E21D
11/04 20060101AFI20251006BHJP(地中もしくは岩石の削孔;採鉱)
要約
【課題】構造を複雑化させることなくセグメントの接合強度を高めることのできるセグメントの接合構造を提供する。
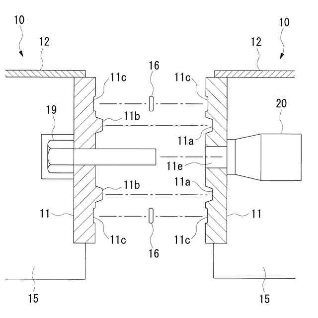
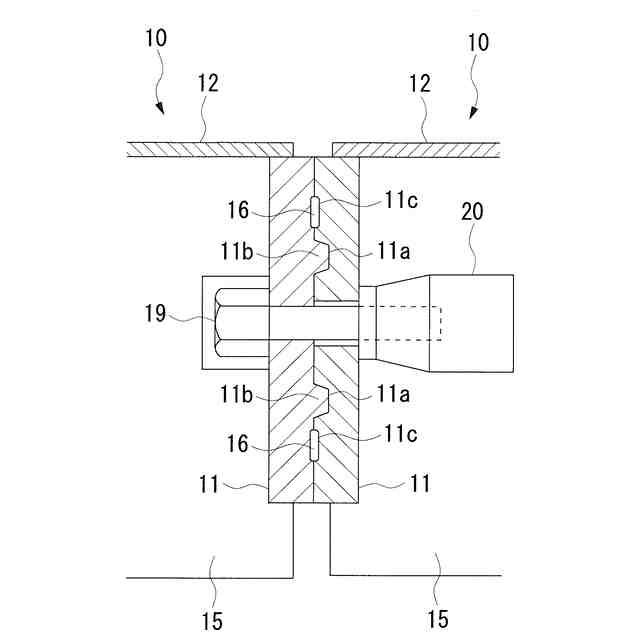
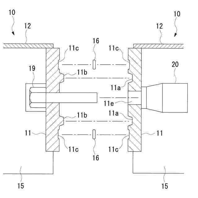
【解決手段】セグメント10のトンネル軸方向端面に、隣り合うセグメント10の主桁11同士を突き合わせることにより互いに嵌合する凹部11a及び凸部11bを設けたので、凹部11a及び凸部11bの嵌合によりセグメント10のトンネル径方向の接合強度を高めることができる。この場合、凹部11a及び凸部11bは主桁11に一体に形成されているので、別部材を追加する必要がなく、構造を複雑化させることがないという利点がある。また、別部材を溶接する構造に比べて疲労強度も高いという利点がある。更に、凹部11a及び凸部11bはトンネル周方向に連続して延びるように形成されているので、セグメント10に加わるトンネル径方向の荷重をトンネル周方向に分散させて応力の集中を抑制することができる。
【選択図】図5
特許請求の範囲
【請求項1】
トンネル周方向に沿って円弧状に形成されたセグメントをトンネル軸方向に接合するセグメントの接合構造において、
セグメントのトンネル軸方向の端面に配置される板状部材にそれぞれ設けられ、隣り合うセグメントの板状部材同士を突き合わせることにより互いに嵌合する凹部及び凸部を備え、
凹部及び凸部をセグメントのトンネル周方向に連続して延びるように前記板状部材に一体に形成した
ことを特徴とするセグメントの接合構造。
続きを表示(約 540 文字)
【請求項2】
前記凹部及び凸部をトンネル周方向から見た断面が台形状をなすように形成した
ことを特徴とする請求項1記載のセグメントの接合構造。
【請求項3】
前記板状部材に凹部及び凸部を少なくとも一つずつ設けるとともに、凹部及び凸部をトンネル径方向に連続するように形成した
ことを特徴とする請求項1記載のセグメントの接合構造。
【請求項4】
前記凹部を板状部材の外面に対して所定深さだけ凹状をなすように形成し、凸部を板状部材の外面に対して所定高さだけ凸状をなすように形成した
ことを特徴とする請求項3記載のセグメントの接合構造。
【請求項5】
前記凹部及び凸部を、凹部から凸部に亘って連続する連続面がトンネル径方向一方と他方において少なくとも一つずつ有するように形成した
ことを特徴とする請求項4記載のセグメントの接合構造。
【請求項6】
隣り合うセグメントの板状部材間に凹部及び凸部に沿ってトンネル周方向に連続して延びる一対のシール材をトンネル径方向に間隔をおいて設け、
前記凹部及び凸部を各シール材の間に配置した
ことを特徴とする請求項1記載のセグメントの接合構造。
発明の詳細な説明
【技術分野】
【0001】
本発明は、例えばシールドトンネル覆工用のセグメント同士をトンネル軸方向に接合するセグメントの接合構造に関するものである。
続きを表示(約 1,900 文字)
【背景技術】
【0002】
従来、シールドトンネルの施工には、トンネル周方向に沿って円弧状に形成された複数のセグメントをトンネル周方向にリング状に接合するとともに、リング状に接合したセグメントをトンネル軸方向に接合することにより覆工する工法が知られている。この工法に用いるセグメントとしては、セグメントのトンネル軸方向両端面にそれぞれ配置される一対の主桁と、セグメントの外周面に配置される円弧状のスキンプレートと、セグメントのトンネル周方向両端面にそれぞれ配置される一対の継手板とを備え、これらの鋼材からなる鋼殻内に鉄筋及びリブ鋼材を配置するとともに、鋼殻と中詰コンクリートとを一体化したものが知られている(例えば、特許文献1参照。)。
【先行技術文献】
【特許文献】
【0003】
特開2017-210771号公報
【発明の概要】
【発明が解決しようとする課題】
【0004】
ところで、前記シールドトンネルにおいては、セグメントがトンネル径方向に高い内圧や荷重を受ける場合があるため、セグメント同士のトンネル軸方向の接合強度を高める必要がある。しかしながら、従来のセグメントの接合構造では、主桁に設けたリング間継手のみでセグメント同士を接合しているため、セグメント間のせん断力が継手に集中して加わり、高荷重に対するセグメントのトンネル径方向の接合強度が不十分になるおそれがあった。また、接合強度を高めるための別部材を追加すると、部材数が増えて構造が複雑になり、コストが高くなるという問題点があった。
【0005】
本発明は前記問題点に鑑みてなされたものであり、その目的とするところは、構造を複雑化させることなくセグメントの接合強度を高めることのできるセグメントの接合構造を提供することにある。
【課題を解決するための手段】
【0006】
本発明は前記目的を達成するために、トンネル周方向に沿って円弧状に形成されたセグメントをトンネル軸方向に接合するセグメントの接合構造において、セグメントのトンネル軸方向の端面に配置される板状部材にそれぞれ設けられ、隣り合うセグメントの板状部材同士を突き合わせることにより互いに嵌合する凹部及び凸部を備え、凹部及び凸部をセグメントのトンネル周方向に連続して延びるように前記板状部材に一体に形成している。
【0007】
これにより、凹部及び凸部の嵌合によりセグメントのトンネル径方向の接合強度が高められる。この場合、凹部及び凸部は主桁に一体に形成されていることから、別部材を追加する必要がない。また、凹部及び凸部はトンネル周方向に連続して延びるように形成されていることから、セグメントに加わるトンネル径方向の荷重がトンネル周方向に分散し、応力の集中が抑制される。
【発明の効果】
【0008】
本発明によれば、セグメントのトンネル径方向の接合強度を高めることができるので、高い内圧や高荷重を受ける場合でも十分な接合強度を得ることができる。この場合、別部材を追加する必要がないので、構造を複雑化させることがなく、別部材を溶接する構造に比べて疲労強度も高いという利点がある。更に、セグメントに加わるトンネル径方向の荷重をトンネル周方向に分散させて応力の集中を抑制することができるので、トンネル径方向の接合強度をより高めることができる。
【図面の簡単な説明】
【0009】
本発明の第1の実施形態を示すセグメントの正面図
セグメントの底面図
セグメントの側面図
セグメントの正面断面図
セグメントの接合工程を示す要部拡大側面断面図
セグメントの接合状態を示す要部拡大側面断面図
凹部及び凸部の拡大側面断面図
本発明の第2の実施形態を示す凹部及び凸部の拡大側面断面図
嵌合状態を示す凹部及び凸部の拡大側面断面図
本発明の第3の実施形態を示す凹部及び凸部の拡大側面断面図
嵌合状態を示す凹部及び凸部の拡大側面断面図
目開き状態を示す凹部及び凸部の拡大側面断面図
【発明を実施するための形態】
【0010】
図1乃至図7は本発明の第1の実施形態を示すもので、シールドトンネル覆工用のセグメント同士をトンネル軸方向に接合するセグメントの接合構造を示すものである。
(【0011】以降は省略されています)
この特許をJ-PlatPat(特許庁公式サイト)で参照する
関連特許
株式会社IHI建材工業
セグメントの接合構造
1か月前
個人
掘削機
5か月前
日特建設株式会社
切断装置
1か月前
株式会社奥村組
地山探査装置
3か月前
株式会社奥村組
地山探査装置
3か月前
株式会社奥村組
地山探査装置
3か月前
株式会社奥村組
地山探査方法
3か月前
株式会社笠原建設
横孔形成方法
7か月前
日特建設株式会社
削孔システム
12日前
株式会社奥村組
シールド掘進機
6か月前
株式会社奥村組
シールド掘進機
2か月前
株式会社奥村組
シールド掘進機
8か月前
日特建設株式会社
ボーリング装置
7か月前
花王株式会社
岩盤の掘削方法
5か月前
岐阜工業株式会社
トンネルセントル
2か月前
株式会社奥村組
泥土圧シールド掘進機
6か月前
株式会社奥村組
セグメントの組立方法
2か月前
個人
オープンシールド機
3か月前
個人
オープンシールド機
3か月前
株式会社奥村組
テールシール試験装置
8か月前
個人
掘削機、及び、資源回収システム
7か月前
株式会社熊谷組
天井板撤去装置
7か月前
株式会社ケー・エフ・シー
剥落防止構造
8か月前
個人
箱形ルーフおよびその施工法
2か月前
大阪瓦斯株式会社
牽引装置
6か月前
岐阜工業株式会社
コンクリート分配装置
25日前
日特建設株式会社
削孔方法及び削孔装置
8か月前
デンカ株式会社
静的破砕方法
3か月前
株式会社金澤製作所
発進坑口のエントランス装置
6か月前
大阪瓦斯株式会社
切欠開裂治具
6か月前
地中空間開発株式会社
トンネル掘削機
1か月前
個人
メタンハイドレート等海底鉱物資源の採取方法
4か月前
大成建設株式会社
トンネルの褄部構造
8か月前
岐阜工業株式会社
トンネルセントルの妻板装置
3か月前
大成建設株式会社
トンネルとその施工方法
7か月前
株式会社ケー・エフ・シー
トンネル水圧調整装置
2か月前
続きを見る
他の特許を見る