TOP
|
特許
|
意匠
|
商標
特許ウォッチ
Twitter
他の特許を見る
公開番号
2025167733
公報種別
公開特許公報(A)
公開日
2025-11-07
出願番号
2024072595
出願日
2024-04-26
発明の名称
クリンチング接合検査装置
出願人
株式会社IHI
代理人
弁理士法人青海国際特許事務所
主分類
G01N
29/26 20060101AFI20251030BHJP(測定;試験)
要約
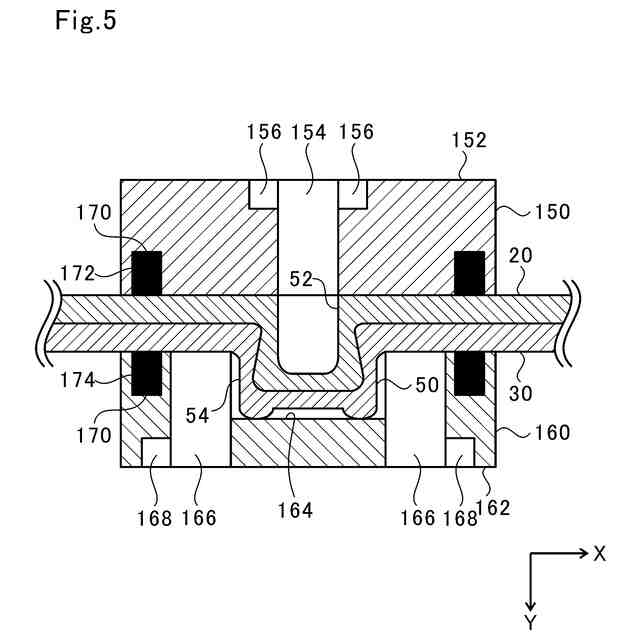
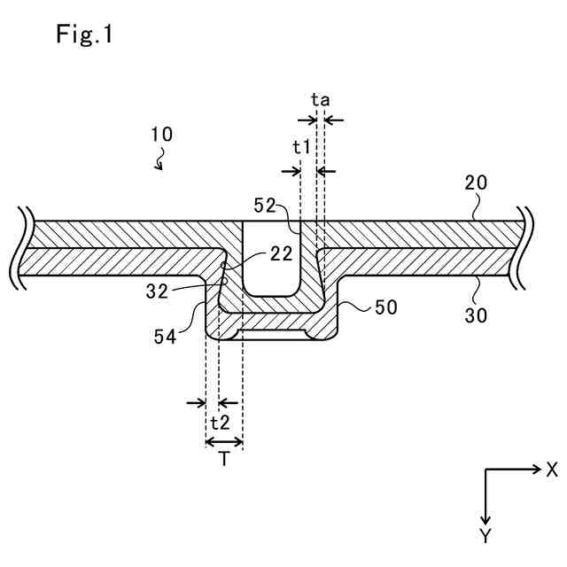
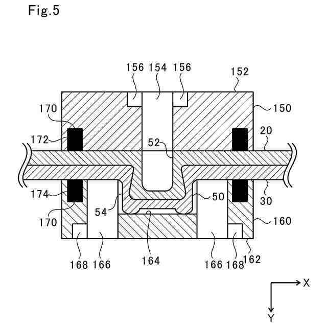
【課題】クリンチング接合部の接合状態の検査をより適切に行う。
【解決手段】クリンチング接合検査装置は、第1部材と第2部材とをクリンチング接合することにより筒状に突出形成されたクリンチング接合部50を検査するクリンチング接合検査装置であって、第1超音波探触子と、クリンチング接合部50に着脱可能に取り付けられ、クリンチング接合部50の内周面52側に第1超音波探触子を配置するための第1治具150と、を備え、第1超音波探触子は、第1係合部を含み、第1治具150は、第1超音波探触子を挿入可能な第1挿入孔154と、第1挿入孔154に挿入された第1超音波探触子の第1係合部と係合することにより、第1超音波探触子による超音波の送受信方向がクリンチング接合部50の検査対象部位を向くように第1超音波探触子を位置決めする第1被係合部156と、を含む。
【選択図】図5
特許請求の範囲
【請求項1】
第1部材と第2部材とをクリンチング接合することにより筒状に突出形成されたクリンチング接合部を検査するクリンチング接合検査装置であって、
第1超音波探触子と、
前記クリンチング接合部に着脱可能に取り付けられ、前記クリンチング接合部の内周面側に前記第1超音波探触子を配置するための第1治具と、
を備え、
前記第1超音波探触子は、
第1係合部を含み、
前記第1治具は、
前記第1超音波探触子を挿入可能な第1挿入孔と、
前記第1挿入孔に挿入された前記第1超音波探触子の前記第1係合部と係合することにより、前記第1超音波探触子による超音波の送受信方向が前記クリンチング接合部の検査対象部位を向くように前記第1超音波探触子を位置決めする第1被係合部と、
を含む、クリンチング接合検査装置。
続きを表示(約 1,100 文字)
【請求項2】
第1部材と第2部材とをクリンチング接合することにより筒状に突出形成されたクリンチング接合部を検査するクリンチング接合検査装置であって、
第2超音波探触子と、
前記クリンチング接合部に着脱可能に取り付けられ、前記クリンチング接合部の外周面側に前記第2超音波探触子を配置するための第2治具と、
を備え、
前記第2超音波探触子は、
第2係合部を含み、
前記第2治具は、
前記クリンチング接合部を収容する収容部と、
前記収容部に連通し、前記第2超音波探触子を挿入可能な第2挿入孔と、
前記第2挿入孔に挿入された前記第2超音波探触子の前記第2係合部と係合することにより、前記第2超音波探触子による超音波の送受信方向が前記クリンチング接合部の検査対象部位を向くように前記第2超音波探触子を位置決めする第2被係合部と、
を含む、クリンチング接合検査装置。
【請求項3】
第2超音波探触子と、
前記クリンチング接合部に着脱可能に取り付けられ、前記クリンチング接合部の外周面側に前記第2超音波探触子を配置するための第2治具と、
を備え、
前記第2超音波探触子は、
第2係合部を含み、
前記第2治具は、
前記クリンチング接合部を収容する収容部と、
前記収容部に連通し、前記第2超音波探触子を挿入可能な第2挿入孔と、
前記第2挿入孔に挿入された前記第2超音波探触子の前記第2係合部と係合することにより、前記第2超音波探触子による超音波の送受信方向が前記クリンチング接合部の前記検査対象部位を向くように前記第2超音波探触子を位置決めする第2被係合部と、
を含む、請求項1に記載のクリンチング接合検査装置。
【請求項4】
前記第2係合部の形状は、前記第1係合部と異なる、請求項3に記載のクリンチング接合検査装置。
【請求項5】
前記第1治具と前記第2治具との間に前記クリンチング接合部が挟持されるように、前記第1治具および前記第2治具を前記クリンチング接合部に固定する固定部材を備える、請求項3または4に記載のクリンチング接合検査装置。
【請求項6】
前記第1治具は、前記第1被係合部を複数含み、
複数の前記第1被係合部は、前記第1挿入孔の周方向に沿って互いに離隔して設けられる、請求項1に記載のクリンチング接合検査装置。
【請求項7】
前記第2治具は、前記第2挿入孔および前記第2被係合部のペアを複数含み、
複数の前記ペアは、前記収容部の周方向に沿って互いに離隔して設けられる、請求項2または3に記載のクリンチング接合検査装置。
発明の詳細な説明
【技術分野】
【0001】
本開示は、クリンチング接合検査装置に関する。
続きを表示(約 1,600 文字)
【背景技術】
【0002】
複数の金属板を接合するカシメ加工は、金属種を問わずに接合でき、また、変色が生じないため、様々な分野で適用されている。カシメ加工のうち、クリンチング接合は、リベット等の補助材料を用いることなく、複数の金属板同士を機械的に接合することが可能である。このため、クリンチング接合は、軽量化が求められる車体、機体等に広く利用されている。
【0003】
クリンチング接合により筒状に突出形成されたクリンチング接合部の接合状態の良否を、外部から目視で適切に確認することはできない。このため、クリンチング接合部の接合状態を適切に検査することができる技術が希求されている。
【0004】
そこで、例えば、特許文献1には、超音波探触子を用いて、クリンチング接合部の接合状態を検査する技術が開示されている。
【先行技術文献】
【特許文献】
【0005】
特開2021-81340号公報
【発明の概要】
【発明が解決しようとする課題】
【0006】
上記の特許文献1の技術のような超音波探触子を用いた接合状態の検査をより適切に行うことができる技術の開発が希求されている。
【0007】
本開示は、このような課題に鑑み、クリンチング接合部の接合状態の検査をより適切に行うことが可能なクリンチング接合検査装置を提供することを目的としている。
【課題を解決するための手段】
【0008】
上記課題を解決するために、本開示の一態様に係るクリンチング接合検査装置は、第1部材と第2部材とをクリンチング接合することにより筒状に突出形成されたクリンチング接合部を検査するクリンチング接合検査装置であって、第1超音波探触子と、クリンチング接合部に着脱可能に取り付けられ、クリンチング接合部の内周面側に第1超音波探触子を配置するための第1治具と、を備え、第1超音波探触子は、第1係合部を含み、第1治具は、第1超音波探触子を挿入可能な第1挿入孔と、第1挿入孔に挿入された第1超音波探触子の第1係合部と係合することにより、第1超音波探触子による超音波の送受信方向がクリンチング接合部の検査対象部位を向くように第1超音波探触子を位置決めする第1被係合部と、を含む。
【0009】
上記課題を解決するために、本開示の一態様に係る他のクリンチング接合検査装置は、第1部材と第2部材とをクリンチング接合することにより筒状に突出形成されたクリンチング接合部を検査するクリンチング接合検査装置であって、第2超音波探触子と、クリンチング接合部に着脱可能に取り付けられ、クリンチング接合部の外周面側に第2超音波探触子を配置するための第2治具と、を備え、第2超音波探触子は、第2係合部を含み、第2治具は、クリンチング接合部を収容する収容部と、収容部に連通し、第2超音波探触子を挿入可能な第2挿入孔と、第2挿入孔に挿入された第2超音波探触子の第2係合部と係合することにより、第2超音波探触子による超音波の送受信方向がクリンチング接合部の検査対象部位を向くように第2超音波探触子を位置決めする第2被係合部と、を含む。
【0010】
また、第2超音波探触子と、クリンチング接合部に着脱可能に取り付けられ、クリンチング接合部の外周面側に第2超音波探触子を配置するための第2治具と、を備え、第2超音波探触子は、第2係合部を含み、第2治具は、クリンチング接合部を収容する収容部と、収容部に連通し、第2超音波探触子を挿入可能な第2挿入孔と、第2挿入孔に挿入された第2超音波探触子の第2係合部と係合することにより、第2超音波探触子による超音波の送受信方向がクリンチング接合部の検査対象部位を向くように第2超音波探触子を位置決めする第2被係合部と、を含んでもよい。
(【0011】以降は省略されています)
この特許をJ-PlatPat(特許庁公式サイト)で参照する
関連特許
株式会社IHIポールワース
炉頂装置
4日前
株式会社IHIアグリテック
農作業機
28日前
株式会社IHI
判定方法
12日前
株式会社IHIアグリテック
トレーラ
1か月前
株式会社IHIアグリテック
農作業機
1か月前
株式会社IHI
無人飛行体
2か月前
株式会社IHI
給電システム
2か月前
株式会社IHI原動機
脈動減衰装置
2か月前
株式会社IHIインフラシステム
塗膜除去方法
1か月前
株式会社IHI原動機
エンジン装置
1か月前
株式会社IHI
基板固定構造
2か月前
株式会社IHI
油圧PWM制御弁
4日前
株式会社IHI
ラジアルフォイル軸受
1か月前
株式会社IHI
多重構造部の止水方法
1か月前
株式会社IHI建材工業
セグメントの接合構造
1か月前
株式会社IHI回転機械エンジニアリング
サイレンサ及び過給機
5日前
株式会社IHI
修復装置および修復方法
2か月前
株式会社IHI
走査装置および走査方法
1か月前
株式会社IHIインフラ建設
ワイヤロープ油除去装置
1か月前
株式会社IHI
クリンチング接合検査装置
25日前
株式会社IHI
探索装置、および、探索方法
4日前
株式会社IHIインフラシステム
吊材取替方法及び吊材取替装置
1か月前
株式会社IHI
ガス除害装置及びガス除害方法
2か月前
株式会社IHI汎用ボイラ
ボイラ及び水素ガスのパージ方法
2か月前
株式会社IHI
乾燥装置、および、含水率の推定方法
2か月前
株式会社IHI
超音波接合方法、および、超音波接合装置
12日前
株式会社IHI
認識装置、認識方法、及び、認識プログラム
2か月前
JFEスチール株式会社
高炉の原料装入方法
4日前
株式会社IHI建材工業
コンクリート部材及びその打設方法とセグメント
1か月前
株式会社IHI
鉄または鉄合金を接着する組成物および接着方法
4日前
株式会社IHI
画像処理装置、画像処理方法、及び、画像処理プログラム
26日前
株式会社IHI
モータケーシングの端子接続構造及び回転機械
2か月前
株式会社IHI
センサの設置に係るシミュレーション装置、シミュレーション方法、及び、シミュレーションプログラム
2か月前
株式会社IHI
燃焼システム、燃焼システムにおいてアンモニアガスをパージする方法、および、燃焼システムにおいてアンモニアガスを供給する方法
2か月前
個人
採尿及び採便具
1か月前
日本精機株式会社
検出装置
27日前
続きを見る
他の特許を見る