TOP
|
特許
|
意匠
|
商標
特許ウォッチ
Twitter
他の特許を見る
公開番号
2025135002
公報種別
公開特許公報(A)
公開日
2025-09-17
出願番号
2025113476,2023543684
出願日
2025-07-04,2022-04-27
発明の名称
モータケーシングの端子接続構造及び回転機械
出願人
株式会社IHI
代理人
個人
,
個人
,
個人
,
個人
主分類
H02K
5/22 20060101AFI20250909BHJP(電力の発電,変換,配電)
要約
【課題】回転軸線方向におけるモータケーシングの寸法拡大を抑えながら、複数の端子台は見分け易くなる端子接続構造及び回転機械を説明する。
【解決手段】複数相の交流モータを収納するモータケーシングの端子接続構造であって、モータケーシングに設けられた複数の端子台と、交流モータの各相に通電可能に接続されると共に、端子台のそれぞれを貫通している複数の端子部と、複数の端子台それぞれの外端面であり、端子部が露出している複数の端子面と、を備え、複数の端子面は、交流モータの回転軸線に交差する方向に沿って並んで設けられており、少なくとも一の端子面と他の端子面との間には、モータケーシングの径方向で段差が設けられている。
【選択図】図1
特許請求の範囲
【請求項1】
複数相の交流モータを収納するモータケーシングの端子接続構造であって、
前記モータケーシングに設けられた複数の端子台と、
前記交流モータの各相に通電可能に接続されると共に、前記端子台のそれぞれを貫通している複数の端子部と、
前記複数の端子台それぞれの外端面であり、前記端子部が露出している複数の端子面と、を備え、
複数の前記端子面は、前記交流モータの回転軸線に交差する方向に沿って並んで設けられており、
少なくとも一の前記端子面と他の前記端子面との間には、前記モータケーシングの径方向で段差が設けられている、モータケーシングの端子接続構造。
続きを表示(約 360 文字)
【請求項2】
回転軸を回転させる複数相の交流モータと、
前記交流モータを収納するモータケーシングと、を備え、
前記交流モータは、前記回転軸に固定されたロータと、前記ロータを取り囲むステータとを備え、
前記モータケーシングは、
複数の端子台と、
前記交流モータの各相に通電可能に接続されると共に、前記端子台のそれぞれを貫通している複数の端子部と、
前記複数の端子台それぞれの外端面であり、前記端子部が露出している複数の端子面と、を備え、
複数の前記端子面は、前記交流モータの回転軸線に交差する方向に沿って並んで設けられており、
少なくとも一の前記端子面と他の前記端子面との間には、前記モータケーシングの径方向で段差が設けられている、回転機械。
発明の詳細な説明
【技術分野】
【0001】
本開示は、モータケーシングの端子接続構造及び回転機械に関する。
続きを表示(約 1,900 文字)
【背景技術】
【0002】
例えば、三相交流モータの各相には、それぞれ端子部が接続され、各端子部にはケーブルが接続されている。三相交流モータの各相には、120°位相のずれた交流電流が供給される。交流モータは、モータケーシング内に収納されており、モータケーシングには端子接続構造が設けられている(特許文献1~5参照)。端子接続構造には、端子部を保持する端子台が設けられている。
【先行技術文献】
【特許文献】
【0003】
実開平4-88356号公報
特開2003-134725号公報
特開2010-110035号公報
特開2011-961号公報
特開2015-216762号公報
【発明の概要】
【発明が解決しようとする課題】
【0004】
複数の端子部は、それぞれ異なるケーブルに接続されており、各ケーブルから供給される交流電流は、交流モータの各相に適切に供給される必要がある。モータケーシングに設けられた複数の端子台は、交流モータの各相に対応付けられている。したがって、複数の端子部は、それぞれ適切な端子台に設置する必要がある。しかしながら、従来の端子接続構造では、複数の端子台を識別し難く、さらに、交流モータの回転軸線方向で複数の端子台の配置が変化する構造では、回転軸線方向の寸法拡大につながり、コンパクト化を図り難かった。
【0005】
本開示は、回転軸線方向におけるモータケーシングの寸法拡大を抑えながら、複数の端子台は見分け易くなる端子接続構造及び回転機械を説明する。
【課題を解決するための手段】
【0006】
本開示の一態様は、複数相の交流モータを収納するモータケーシングの端子接続構造である。この端子接続構造は、モータケーシングに設けられた複数の端子台と、交流モータの各相に通電可能に接続されると共に、端子台のそれぞれを貫通している複数の端子部と、複数の端子台それぞれの外端面であり、端子部が露出している複数の端子面と、を備えている。複数の端子面は、交流モータの回転軸線に交差する方向に沿って並んで設けられており、少なくとも一の端子面と他の端子面との間には、モータケーシングの径方向で段差が設けられている。回転軸線に交差する方向とは、例えば、直交する方向である。
【0007】
本開示の一態様は、回転軸を回転させる複数相の交流モータと、交流モータを収納するモータケーシングと、を備えた回転機械である。交流モータは、回転軸に固定されたロータと、ロータを取り囲むステータとを備えている。モータケーシングは、複数の端子台と、交流モータの各相に通電可能に接続されると共に、端子台のそれぞれを貫通している複数の端子部と、複数の端子台それぞれの外端面であり、端子部が露出している複数の端子面と、を備えている。複数の端子面は、交流モータの回転軸線に交差する方向に沿って並んで設けられており、少なくとも一の端子面と他の端子面との間には、モータケーシングの径方向で段差が設けられている。回転軸線に交差する方向とは、例えば、直交する方向である。
【発明の効果】
【0008】
本開示のいくつかの態様によれば、回転軸線方向におけるモータケーシングの寸法拡大を抑えながら、複数の端子台は見分け易くなる。
【図面の簡単な説明】
【0009】
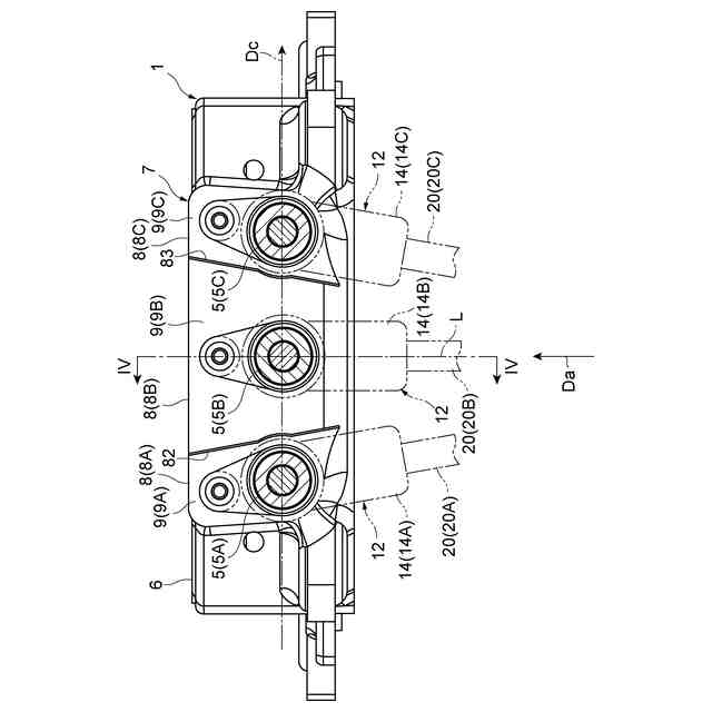
図1は、本開示の一実施形態に係る回転機械を示す正面図である。
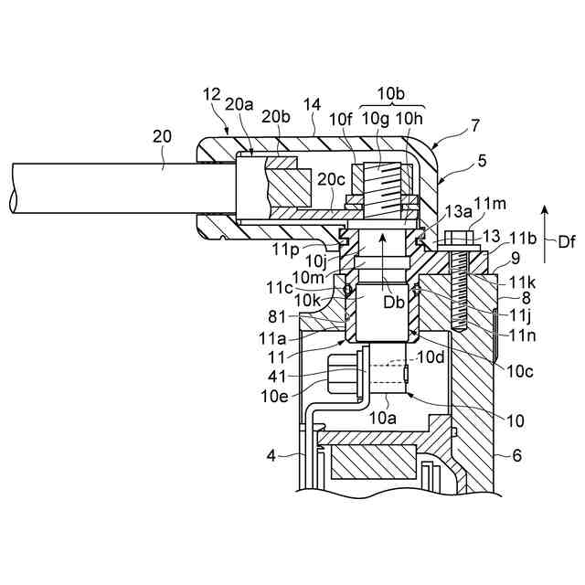
図2は、実施形態に係る端子接続構造の拡大図である。
図3は、端子接続構造の平面図である。
図4は、図3のIV-IV線に沿った断面図である。
【発明を実施するための形態】
【0010】
まず、本開示の各例について説明する。本開示の第1例は、複数相の交流モータを収納するモータケーシングの端子接続構造である。端子接続構造は、モータケーシングに設けられた複数の端子台と、交流モータの各相に通電可能に接続されると共に、端子台のそれぞれを貫通している複数の端子部と、複数の端子台それぞれの外端面であり、端子部が露出している複数の端子面と、を備えている。複数の端子面は、交流モータの回転軸線に交差する方向に沿って並んで設けられており、少なくとも一の端子面と他の端子面との間には、モータケーシングの径方向で段差が設けられている。回転軸線に交差する方向とは、例えば、直交する方向である。
(【0011】以降は省略されています)
この特許をJ-PlatPat(特許庁公式サイト)で参照する
関連特許
株式会社IHI
無人飛行体
7日前
株式会社IHIインフラシステム
塗膜除去方法
1か月前
株式会社IHI原動機
脈動減衰装置
21日前
株式会社IHI
制御システム
1か月前
株式会社IHI
給電システム
1か月前
株式会社IHI
誘導加熱装置
1か月前
株式会社IHI
基板固定構造
1か月前
株式会社IHIインフラシステム
塗膜除去方法
2日前
株式会社IHI
ホローカソード
3か月前
株式会社IHI物流産業システム
ピッキング設備
2か月前
株式会社IHI検査計測
プローブ取付装置
1か月前
株式会社IHI
蓄エネルギー装置
3か月前
株式会社IHIプラント
アンモニア受入設備
2か月前
株式会社IHIプラント
アンモニア受入設備
1か月前
株式会社IHIプラント
アンモニア受入設備
2か月前
株式会社IHIインフラ建設
合成桁の床版撤去方法
1か月前
株式会社IHI
多重構造部の止水方法
1日前
株式会社IHI
ラジアルフォイル軸受
1日前
株式会社IHIプラント
液化ガス気化器ユニット
2か月前
株式会社IHI
走査装置および走査方法
2日前
株式会社IHI
修復装置および修復方法
14日前
株式会社IHIインフラシステム
締結部材用マーキング補助具
3か月前
進和テック株式会社
除塵装置
3か月前
株式会社IHIインフラシステム
墜落制止用器具の監視システム
3か月前
株式会社IHI
ガス除害装置及びガス除害方法
1か月前
株式会社IHIジェットサービス
液中固形物の分離方法および装置
3か月前
株式会社IHI汎用ボイラ
ボイラ及び水素ガスのパージ方法
11日前
株式会社IHI検査計測
ボルトねじ部のき裂検査装置と方法
1か月前
株式会社IHIプラント
漏液処理設備及び液化ガスタンク設備
2か月前
株式会社IHI
乾燥装置、および、含水率の推定方法
23日前
株式会社IHI
橋梁の管理方法および橋梁の管理装置
1か月前
株式会社IHI建材工業
防音パネル及びこれを用いた防音壁構造
3か月前
株式会社IHI
評価装置、評価方法、及び、評価プログラム
3か月前
株式会社IHI
認識装置、認識方法、及び、認識プログラム
1か月前
株式会社IHI建材工業
コンクリート部材及びその打設方法とセグメント
3日前
株式会社IHIプラント
アンモニア漏出処理設備及びアンモニア受入設備
1か月前
続きを見る
他の特許を見る