TOP
|
特許
|
意匠
|
商標
特許ウォッチ
Twitter
他の特許を見る
10個以上の画像は省略されています。
公開番号
2025123821
公報種別
公開特許公報(A)
公開日
2025-08-25
出願番号
2024019525
出願日
2024-02-13
発明の名称
プローブ取付装置
出願人
株式会社IHI検査計測
代理人
個人
,
個人
主分類
G01F
1/667 20220101AFI20250818BHJP(測定;試験)
要約
【課題】超音波流量計測において、配管における上流位置の超音波プローブと、位置決め機構配管における下流位置の超音波プローブとの距離の調節を容易に行えるようにする。
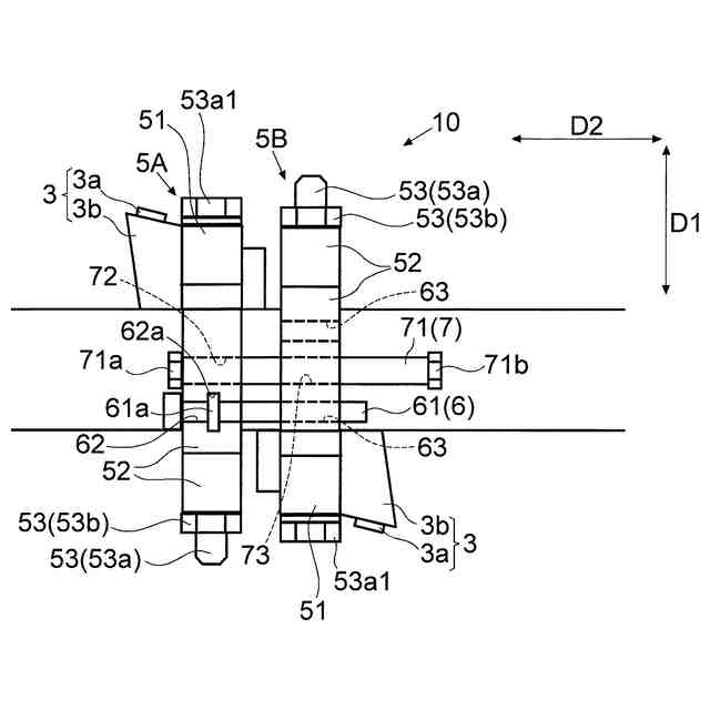
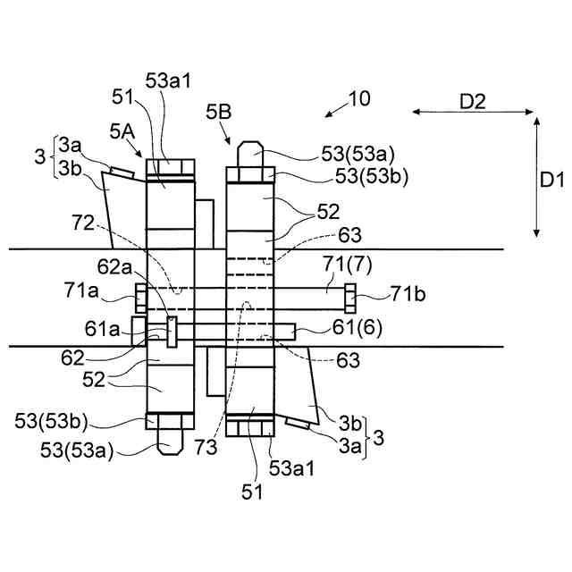
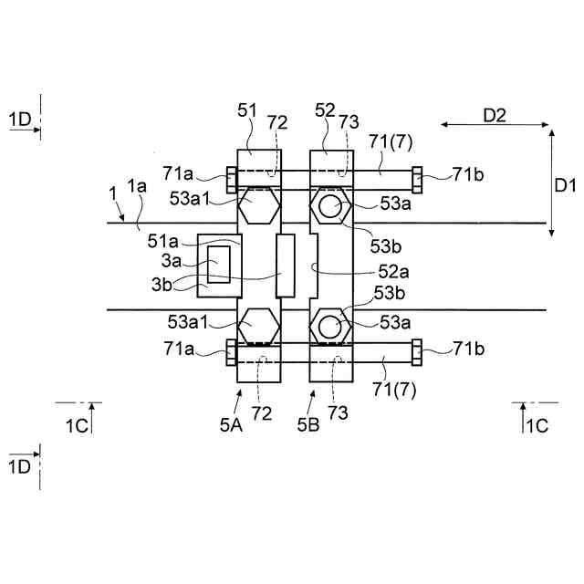
【解決手段】プローブ取付装置は、第1および第2の保持機構5A,5Bと、位置決め機構6を備える。第1および第2の保持機構5A,5Bは、上流位置と下流位置のそれぞれにおいて超音波プローブ3を配管1と共に挟み込んで保持する。第1の保持機構5Aと第2の保持機構5Bとを配管1の軸方向D2に互いに結合するとともに、この状態で、第1の保持機構5Aと第2の保持機構5Bとの軸方向D2の距離を調節可能に第1の保持機構5Aと第2の保持機構5Bを互いに位置決めする。
【選択図】図1C
特許請求の範囲
【請求項1】
配管を流れる流体の流速または流量を計測するために、前記配管における上流位置と下流位置に超音波プローブを取り付けるプローブ取付装置であって、
前記上流位置と前記下流位置のそれぞれにおいて前記超音波プローブを前記配管と共に挟み込んで保持する第1および第2の保持機構と、
前記第1および第2の保持機構を前記配管の軸方向に互いに結合するように当該軸方向に延びる雄ねじ部材を有し、当該雄ねじ部材により前記第1および第2の保持機構を互いに結合させた状態で、前記第1および第2の保持機構を、前記雄ねじ部材の回転により互いの前記軸方向の距離を調節可能に互いに位置決めする位置決め機構と、を備える、
プローブ取付装置。
続きを表示(約 1,800 文字)
【請求項2】
前記雄ねじ部材は、
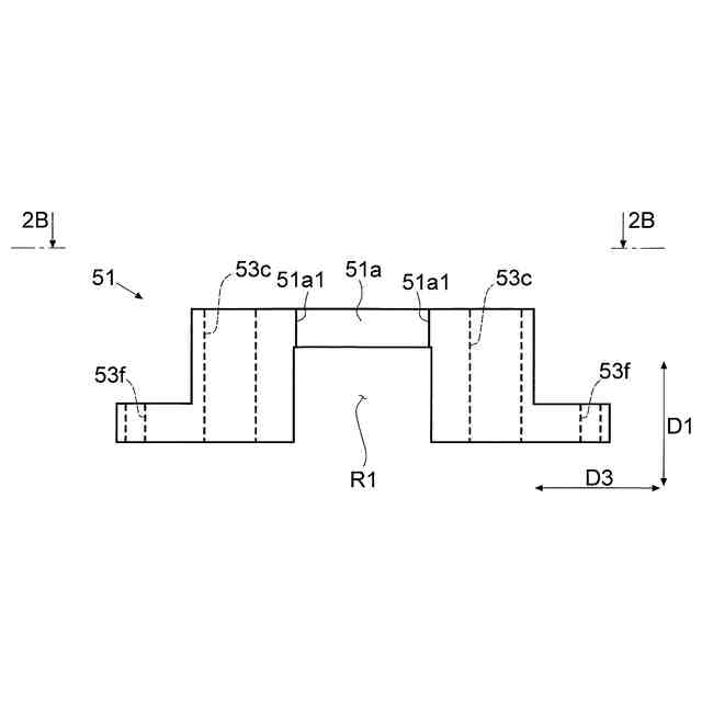
前記第1の保持機構と前記第2の保持機構の一方に対して、前記軸方向と平行な軸回りに回転可能であるが、前記軸方向に移動不能に当該一方に結合される基端側部分と、
当該基端側部分よりも先端側に位置し前記第1の保持機構と前記第2の保持機構の他方に螺合する雄ねじ部分とを有する、
請求項1に記載のプローブ取付装置。
【請求項3】
前記配管の中心軸回りにおいて前記第1および第2の保持機構の互いに対する回転を防止するが、前記軸方向における前記第1および第2の保持機構の互いに対する移動を案内するガイド機構を備える、
請求項1又は2に記載のプローブ取付装置。
【請求項4】
前記第1および第2の保持機構において前記配管の軸方向に形成されたガイド孔のそれぞれに挿入されることで、前記第1および第2の保持機構を互いに前記軸方向に案内するガイドロッドを備え、
各前記保持機構が前記超音波プローブを前記配管と共に挟み込む場合において、前記第1および第2の保持機構の少なくともいずれかの前記ガイド孔は、前記配管を挟むように2つ設けられ、前記配管の中心軸回りにおける前記第1および第2の保持機構の互いに対する相対的な回転位相が所定の第1位相である場合と、当該回転位相が当該第1位相から180度ずれた第2位相である場合のいずれにおいても、前記第1の保持機構の前記ガイド孔は、前記第2の保持機構の前記ガイド孔と前記軸方向に整合する、
請求項2に記載のプローブ取付装置。
【請求項5】
前記他方の保持機構には、前記雄ねじ部材が螺合可能なねじ孔が形成されており、
前記他方の保持機構において、前記ねじ孔は、当該保持機構が前記超音波プローブを前記配管と共に挟み込むクランプ方向において各前記ガイド孔の両側にそれぞれ第1および第2のねじ孔として設けられており、
前記一方の前記保持機構に結合された前記雄ねじ部材は、前記相対的な回転位相が前記第1位相である場合には、前記第1のねじ孔に螺合可能であり、前記相対的な回転位相が前記第2位相である場合には、前記第2のねじ孔に螺合可能である、
請求項4に記載のプローブ取付装置。
【請求項6】
配管を流れる流体の流速または流量を計測するために、前記配管における上流位置と下流位置に超音波プローブを取り付けるプローブ取付装置であって、
前記上流位置と前記下流位置のそれぞれにおいて前記超音波プローブを前記配管と共に挟み込んで保持する第1および第2の保持機構と、
前記第1および第2の保持機構において前記配管の軸方向に形成されたガイド孔のそれぞれに挿入されることで、前記第1および第2の保持機構を互いに前記軸方向に案内するガイドロッドと、を備え、
各前記保持機構が前記超音波プローブを前記配管と共に挟み込む場合において、前記第1および第2の保持機構の少なくともいずれかの前記ガイド孔は、前記配管を挟むように2つ設けられ、前記配管の中心軸回りにおける前記第1および第2の保持機構の互いに対する相対的な回転位相が所定の第1位相である場合と、当該回転位相が当該第1位相から180度ずれた第2位相である場合のいずれにおいても、前記第1の保持機構の前記ガイド孔は、前記第2の保持機構の前記ガイド孔と軸方向に整合する、
プローブ取付装置。
【請求項7】
配管を流れる液化ガスの流速または流量を計測するために、前記配管における上流位置と下流位置に超音波プローブを取り付けるプローブ取付装置であって、
前記上流位置と前記下流位置のそれぞれにおいて前記超音波プローブを前記配管と共に挟み込んで保持する保持機構と、
前記配管と前記超音波プローブとの間に配置される金属製の接触媒体と、を備え、
前記接触媒体は、前記配管に前記液化ガスが流れる温度環境下で、前記保持機構により前記配管の外面に押し付けられることにより当該外面に沿って変形する、
プローブ取付装置。
【請求項8】
前記接触媒体は、板状に形成されている、
請求項7に記載のプローブ取付装置。
【請求項9】
前記接触媒体は、焼き鈍しされた無酸素銅により形成されている、
請求項7又は8に記載のプローブ取付装置。
発明の詳細な説明
【技術分野】
【0001】
本発明は、配管を流れる流体の流速または流量を計測するために超音波プローブを配管に取り付けるプローブ取付装置に関する。
続きを表示(約 1,300 文字)
【背景技術】
【0002】
配管を流れる流体の流速または流量の計測は、例えば次のように行われる。配管の上流位置と下流位置にそれぞれ超音波プローブを取り付ける。上流位置の超音波プローブから送信され流体を経由した超音波を下流位置の超音波プローブで受信し、当該送信から受信までの伝播時間を計測する。同様に、下流位置の超音波プローブから送信され流体を経由した超音波を上流位置の超音波プローブで受信し、当該送信から受信までの伝播時間を計測する。これら2つの伝播時間の差に基づいて流速または流量を計測することができる(例えば特許文献1)。
【先行技術文献】
【特許文献】
【0003】
特開2023-110133号公報
【発明の概要】
【発明が解決しようとする課題】
【0004】
(第1の課題)
配管における上流位置の超音波プローブと、配管における下流位置の超音波プローブとの距離(配管の軸方向における距離)を、超音波の送受信に適した位置にすることが必要である。この場合、当該距離の調節を容易に行えるようにすることが望まれる。
【0005】
(第2の課題)
また、上述した超音波を用いた流速または流量の計測には、例えば、配管を1回横切った超音波を受信する透過法(Z法)と、配管を2回横切った超音波を受信する反射法(V法)とがある。
【0006】
Z法では、配管における上流位置の超音波プローブと、配管における下流位置の超音波プローブとは、配管の中心軸回りの位相が互いに180度ずれた位置に配置される。すなわち、両超音波プローブは、配管の中心軸方向から見た場合に、当該中心軸に関して互いに反対側にそれぞれ配置される。一方、V法では、配管における上流位置の超音波プローブと、配管における下流位置の超音波プローブとは、配管の中心軸回りの位相が同じ位置に配置される。すなわち、両超音波プローブは、配管の中心軸方向から見た場合に、互いに重なるように配置される。
【0007】
このようなZ法とV法において、同じプローブ取付装置を用いて、各超音波プローブを配管に取り付けられるようにすることが望まれる。
【0008】
(第3の課題)
超音波プローブを配管の外面に取り付ける際に、超音波プローブ(例えば超音波プローブのウェッジ)と配管の外面との間にグリセリンを設けることが考えられる。これにより、超音波プローブと配管の外面との間にすき間が生じることを防止でき、超音波プローブから配管への超音波の伝播効率を高めることができる。
【0009】
しかし、配管内を流れる流体が、液化ガス(例えばLNG、液体水素、または液体窒素)である場合、極低温の配管外面上のグリセリンは、固まってしまうので、超音波の伝播効率を高める効果が得られなくなる。
【0010】
そのため、極低温の環境下でも、超音波プローブと配管の外面との間においてすき間の発生を抑えることが望まれる。
(【0011】以降は省略されています)
この特許をJ-PlatPat(特許庁公式サイト)で参照する
関連特許
日本精機株式会社
検出装置
26日前
個人
採尿及び採便具
1か月前
個人
高精度同時多点測定装置
1か月前
個人
計量機能付き容器
21日前
個人
アクセサリー型テスター
1か月前
株式会社カクマル
境界杭
11日前
株式会社ミツトヨ
測定器
1か月前
日本精機株式会社
発光表示装置
4日前
甲神電機株式会社
電流検出装置
26日前
株式会社トプコン
測量装置
3日前
アズビル株式会社
電磁流量計
1か月前
大成建設株式会社
風洞実験装置
21日前
ローム株式会社
半導体装置
1か月前
ローム株式会社
半導体装置
1か月前
個人
システム、装置及び実験方法
1か月前
日本特殊陶業株式会社
ガスセンサ
19日前
大和製衡株式会社
組合せ計量装置
1か月前
愛知時計電機株式会社
ガスメータ
1か月前
大和製衡株式会社
組合せ計量装置
1か月前
日本特殊陶業株式会社
ガスセンサ
3日前
愛知電機株式会社
軸部材の外観検査装置
1か月前
双庸電子株式会社
誤配線検査装置
27日前
個人
計量具及び計量機能付き容器
21日前
長崎県
形状計測方法
1か月前
個人
非接触による電磁パルスの測定方法
24日前
日本信号株式会社
距離画像センサ
24日前
トヨタ自動車株式会社
測定システム
1か月前
日本特殊陶業株式会社
センサ
5日前
株式会社デンソー
電流センサ
1か月前
株式会社不二越
X線測定装置
24日前
個人
液位検視及び品質監視システム
19日前
キーコム株式会社
画像作成システム
11日前
株式会社タイガーカワシマ
揚穀装置
3日前
日東精工株式会社
振動波形検査装置
27日前
日本特殊陶業株式会社
センサ
1か月前
理研計器株式会社
ガス検知装置
11日前
続きを見る
他の特許を見る