TOP
|
特許
|
意匠
|
商標
特許ウォッチ
Twitter
他の特許を見る
公開番号
2025131949
公報種別
公開特許公報(A)
公開日
2025-09-10
出願番号
2022126113
出願日
2022-08-08
発明の名称
基板固定構造
出願人
株式会社IHI
代理人
個人
,
個人
,
個人
主分類
H05K
7/20 20060101AFI20250903BHJP(他に分類されない電気技術)
要約
【課題】基板を被固定部材に固定しつつ発熱部品から被固定部材へ効率よく熱を伝達する。
【解決手段】基板固定構造1は、第1面2aに電子部品20を備える基板2を、第2面2bが筐体底板3a側を向くように筐体底板3aに固定する。基板固定構造1は、基板2と筐体底板3aとの間に配置された第1スペーサ11と、筐体底板3aとねじ頭部10aとの間で基板2及び第1スペーサ11を挟持する金属製のねじ10とを備える。ねじ頭部10aのつば部分10cの裏面は、電子部品20に当接している。
【選択図】図3
特許請求の範囲
【請求項1】
第1面に発熱部品を備える基板を、前記第1面に対して反対側の第2面が被固定部材側を向くように前記被固定部材に固定する基板固定構造であって、
前記基板の前記第2面と前記被固定部材との間に配置された第1スペーサと、
前記基板に設けられた基板孔に差し込まれて先端部が前記被固定部材に取り付けられ、前記被固定部材とねじ頭部との間で前記基板及び前記第1スペーサを挟持する金属製のねじと、
を備え、
前記ねじ頭部のつば部分の裏面は、前記発熱部品に当接している、基板固定構造。
続きを表示(約 680 文字)
【請求項2】
一方の面が前記発熱部品に当接し、他方の面が前記ねじ頭部の前記つば部分の前記裏面に当接する熱伝導体を更に備え、
前記熱伝導体は、前記ねじ頭部よりも硬度が低い、請求項1に記載の基板固定構造。
【請求項3】
一方の端部が前記ねじ頭部の前記つば部分と対向し、他方の端部が前記基板の前記第1面に対向する第2スペーサを更に備え、
前記第2スペーサは、前記ねじ頭部と前記基板の前記第1面との間で挟持されている、請求項1又は2に記載の基板固定構造。
【請求項4】
一方の面が前記発熱部品に当接し、他方の面が前記ねじ頭部の前記つば部分の前記裏面に当接し、前記ねじ頭部よりも大きい外形を有する金属製の押さえ板を更に備える、請求項1に記載の基板固定構造。
【請求項5】
一方の面が前記発熱部品に当接し、他方の面が前記押さえ板の前記一方の面に当接する熱伝導体を更に備え、
前記熱伝導体は、前記押さえ板よりも硬度が低い、請求項4に記載の基板固定構造。
【請求項6】
一方の端部が前記押さえ板の前記一方の面に当接し、他方の端部が前記基板の前記第1面に当接する第2スペーサを更に備える、請求項4又は5に記載の基板固定構造。
【請求項7】
前記第1スペーサは、金属製であり、
前記第1スペーサには、前記ねじのねじ部が通される貫通孔が設けられ、
前記貫通孔の内周面には、前記ねじ部に係合するねじ山が形成されている、請求項1に記載の基板固定構造。
発明の詳細な説明
【技術分野】
【0001】
本発明は、発熱部品を備える基板を固定する基板固定構造に関する。
続きを表示(約 1,800 文字)
【背景技術】
【0002】
電子部品の小型化や高性能化により、電子部品単体の表面積だけでは放熱量が足りないことがある。このため、発熱部品(発熱する電子部品)から他の部材への積極的な伝熱による熱対策(放熱)が行われている。例えば、特許文献1には、発熱部品にヒートシンクを取り付けて、放熱することが記載されている。
【先行技術文献】
【特許文献】
【0003】
実用新案登録第3068039号公報
【発明の概要】
【発明が解決しようとする課題】
【0004】
例えば、ヒートシンク以外にも、基板が固定される筐体等の被固定部材へ、発熱部品から熱を伝達することが考えられる。しかしながら、基板の上面に発熱部品が設けられ、基板の下面が被固定部材に対向するように基板が被固定部材に固定されていることがある。この場合、発熱部品が被固定部材に対向していないため、発熱部品から基板を介して被固定部材に熱を伝達する必要がある。また、被固定部材に基板を固定する固定構造が設けられているが、省スペース化の観点からこの固定構造以外に伝熱構造を設けることが困難なことがある。
【0005】
このため本発明は、基板を被固定部材に固定しつつ発熱部品から被固定部材へ効率よく熱を伝達可能な基板固定構造を提供することを目的とする。
【課題を解決するための手段】
【0006】
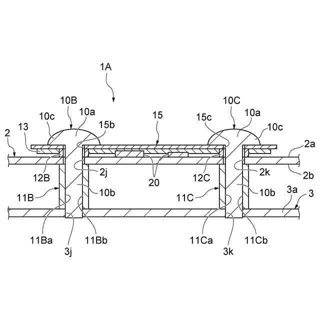
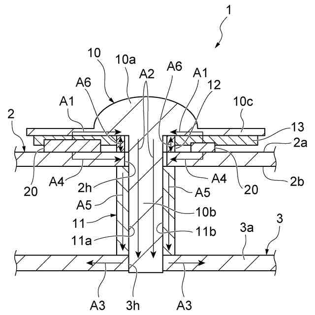
本発明の一側面は、第1面に発熱部品を備える基板を、第1面に対して反対側の第2面が被固定部材側を向くように被固定部材に固定する基板固定構造であって、基板の第2面と被固定部材との間に配置された第1スペーサと、基板に設けられた基板孔に差し込まれて先端部が被固定部材に取り付けられ、被固定部材とねじ頭部との間で基板及び第1スペーサを挟持する金属製のねじと、を備え、ねじ頭部のつば部分の裏面は、発熱部品に当接している。
【0007】
この基板固定構造では、被固定部材に取り付けられたねじによって、基板を被固定部材に固定することができる。また、このねじは、ねじ頭部のつば部分の裏面が発熱部品に当接し、さらに金属製となっている。このため、この基板固定構造では、基板の第1面に設けられた発熱部品から、ねじを介して被固定部材に熱を伝達することができる。つまり、基板固定構造は、ねじを用いることによって、発熱部品が設けられた基板の第1面側から基板を貫通して第2面側に熱を伝達することができる。このように、基板固定構造は、基板を被固定部材に固定しつつ発熱部品から被固定部材へ効率よく熱を伝達(放熱)することができる。
【0008】
上記の基板固定構造は、一方の面が発熱部品に当接し、他方の面がねじ頭部のつば部分の裏面に当接する熱伝導体を更に備え、熱伝導体は、ねじ頭部よりも硬度が低くてもよい。この場合、熱伝導体は、ねじ頭部と発熱部品とにより密着することができ、ねじ頭部と発熱部品との間の熱伝達性を向上させることができる。これにより、基板固定構造は、発熱部品の熱をより効率よく被固定部材に伝達することができる。
【0009】
上記の基板固定構造は、一方の端部がねじ頭部のつば部分と対向し、他方の端部が基板の第1面に対向する第2スペーサを更に備え、第2スペーサは、ねじ頭部と基板の第1面との間で挟持されていてもよい。この場合、第2スペーサは、ねじが絞め込まれた場合であっても、ねじ頭部と基板の第1面との距離を確保することができる。これにより、基板固定構造は、発熱部品がねじ頭部によって過剰に圧縮されることを抑制できる。また、基板固定構造は、第2スペーサを備えることによって、ねじが絞め込まれた際に、ねじ頭部と被固定部材との間で基板を強固に挟持できる。
【0010】
上記の基板固定構造は、一方の面が発熱部品に当接し、他方の面がねじ頭部のつば部分の裏面に当接し、ねじ頭部よりも大きい外形を有する金属製の押さえ板を更に備えていてもよい。この場合、押さえ板は、ねじ頭部が発熱部品に直接当接できない場合であっても、ねじ頭部と発熱部品とを熱的に接続することができる。これにより、基板固定構造は、ねじ頭部が発熱部品に直接当接できない場合であっても、発熱部品の熱を効率よく被固定部材に伝達することができる。
(【0011】以降は省略されています)
この特許をJ-PlatPat(特許庁公式サイト)で参照する
関連特許
株式会社IHIアグリテック
トレーラ
10日前
株式会社IHIアグリテック
農作業機
4日前
株式会社IHI
無人飛行体
1か月前
株式会社IHI
給電システム
1か月前
株式会社IHI原動機
脈動減衰装置
1か月前
株式会社IHI原動機
エンジン装置
20日前
株式会社IHIインフラシステム
塗膜除去方法
26日前
株式会社IHI
誘導加熱装置
2か月前
株式会社IHI
制御システム
2か月前
株式会社IHIインフラシステム
塗膜除去方法
2か月前
株式会社IHI
基板固定構造
1か月前
株式会社IHI検査計測
プローブ取付装置
2か月前
株式会社IHI建材工業
セグメントの接合構造
20日前
株式会社IHI
ラジアルフォイル軸受
25日前
株式会社IHI
多重構造部の止水方法
25日前
株式会社IHIインフラ建設
合成桁の床版撤去方法
2か月前
株式会社IHIインフラ建設
ワイヤロープ油除去装置
4日前
株式会社IHI
走査装置および走査方法
26日前
株式会社IHI
修復装置および修復方法
1か月前
株式会社IHI
ガス除害装置及びガス除害方法
1か月前
株式会社IHIインフラシステム
吊材取替方法及び吊材取替装置
17日前
株式会社IHI汎用ボイラ
ボイラ及び水素ガスのパージ方法
1か月前
株式会社IHI検査計測
ボルトねじ部のき裂検査装置と方法
2か月前
株式会社IHI
橋梁の管理方法および橋梁の管理装置
1か月前
株式会社IHI
乾燥装置、および、含水率の推定方法
1か月前
株式会社IHI
認識装置、認識方法、及び、認識プログラム
1か月前
株式会社IHIプラント
アンモニア漏出処理設備及びアンモニア受入設備
2か月前
株式会社IHI建材工業
コンクリート部材及びその打設方法とセグメント
27日前
株式会社IHIインフラシステム
塗膜除去方法
2か月前
株式会社IHI検査計測
流動層燃焼炉を用いたバイオマス専焼時の流動不良予測評価方法
2か月前
株式会社IHI
スラストフォイル軸受
2か月前
トヨタ自動車株式会社
ブローバイガス処理装置、内燃機関、および過給機
2か月前
株式会社IHI
モータケーシングの端子接続構造及び回転機械
1か月前
株式会社IHI
センサの設置に係るシミュレーション装置、シミュレーション方法、及び、シミュレーションプログラム
1か月前
IHI運搬機械株式会社
二多段式駐車装置とその制御方法
2か月前
株式会社IHI
燃焼システム、燃焼システムにおいてアンモニアガスをパージする方法、および、燃焼システムにおいてアンモニアガスを供給する方法
1か月前
続きを見る
他の特許を見る