TOP
|
特許
|
意匠
|
商標
特許ウォッチ
Twitter
他の特許を見る
公開番号
2025173695
公報種別
公開特許公報(A)
公開日
2025-11-28
出願番号
2024079370
出願日
2024-05-15
発明の名称
鉄または鉄合金を接着する組成物および接着方法
出願人
株式会社IHI
代理人
個人
,
個人
,
個人
主分類
C09J
201/00 20060101AFI20251120BHJP(染料;ペイント;つや出し剤;天然樹脂;接着剤;他に分類されない組成物;他に分類されない材料の応用)
要約
【課題】 接着力と防錆力とを備えた鋼構造物用接着剤を提供する。
【解決手段】 鉄または鉄合金よりなる第1の部材を、第2の部材に、接着性樹脂と、マグネシウム、亜鉛およびアルミニウムよりなる群より選択された一以上の金属を含む犠牲金属材と研磨材とを含む固相粉末であって、前記固相粉末において前記犠牲金属材は50質量%を超えて100質量%未満となるよう前記接着性樹脂に混合された固相粉末と、を含む組成物により接着する。
【選択図】 図1
特許請求の範囲
【請求項1】
鉄または鉄合金の接着に利用できる組成物であって、
接着性樹脂と、
マグネシウム、亜鉛およびアルミニウムよりなる群より選択された一以上の金属を含む犠牲金属材と研磨材とを含む固相粉末であって、前記固相粉末において前記犠牲金属材は50質量%を超えて100質量%未満となるよう前記接着性樹脂に混合された固相粉末と、
を含む組成物。
続きを表示(約 580 文字)
【請求項2】
前記研磨材は、アルミナ、炭化ケイ素、立方晶窒化ホウ素、ざくろ石およびダイヤモンドよりなる群より選択された一以上である、請求項1に記載の組成物。
【請求項3】
前記犠牲金属材は、亜鉛または亜鉛合金よりなる、請求項1に記載の組成物。
【請求項4】
前記犠牲金属材は平均粒径において10nm以上1mm以下の粉体であり、前記研磨材は平均粒径において10μm以上1mm以下の粉体である、請求項1に記載の組成物。
【請求項5】
鉄または鉄合金よりなる第1の部材と、
前記第1の部材に接した第2の部材と、
前記第1の部材と前記第2の部材との界面に介在して硬化した請求項1の組成物と、
を備えた構造物。
【請求項6】
鉄または鉄合金よりなる第1の部材を第2の部材に接着する方法であって、
犠牲金属材の粉末と、研磨材の粉末とを含む固相粉末を、前記固相粉末において前記犠牲金属材は50質量%を超えて100質量%未満となるように接着性樹脂に混合した組成物を調製し、
前記組成物を前記第1の部材と前記第2の部材との界面に介在させて前記第2の部材を前記第1の部材に押圧して擦り合わせ、
前記界面に介在した前記組成物を硬化せしめる、
ことを含む方法。
発明の詳細な説明
【技術分野】
【0001】
以下の開示は、接着のための組成物および当該組成物を利用した接着方法に関し、特に鋼構造物の組み立てに利用すれば接着力のみならず防食性を発揮する組成物および接着方法に関する。
続きを表示(約 1,500 文字)
【背景技術】
【0002】
従来、鋼構造物の組み立ては、部材同士をリベット締め、ボルト締め、あるいは溶接により結合することによった。これらは何れも多大な労力を必要とするし、リベット締めや溶接には特別な技能を要し、また高温を扱うことから安全管理上の特段の配慮が必要である。これらの問題に鑑み、専ら省力化の観点から、ボルト締めの補助として、または代替として、接着剤により部材同士を接着することが検討されている。特許文献1は関連する技術を開示する。
【0003】
鋼構造物の多くは屋外で利用される。雨水に暴露されれば当然に、またそうでなくても昼夜の温度差による微視的な又は巨視的な結露により、鋼構造物は比較的早期に発錆し易い。接着部に錆が生じればその膨張力により接着力が低下し、あるいはボルトの緩みや接着部付近の変形を引き起こしかねない。
【先行技術文献】
【特許文献】
【0004】
特開2011-176944号
【発明の概要】
【発明が解決しようとする課題】
【0005】
一般に防錆の目的で鋼構造物は塗装されるが、接着する前に接着面を予め塗装してしまえば接着力を著しく損なうし、部材を結合した後には接着面に塗装することはできない。接着面をいかに防錆するかは、鋼構造物の接着において重要な技術的要素である。
【課題を解決するための手段】
【0006】
本開示に係る鉄または鉄合金の接着に利用できる組成物は、接着性樹脂と、マグネシウム、亜鉛およびアルミニウムよりなる群より選択された一以上の金属を含む犠牲金属材と研磨材とを含む固相粉末であって、前記固相粉末において前記犠牲金属材は50質量%を超えて100質量%未満となるよう前記接着性樹脂に混合された固相粉末と、を含む。
【0007】
好ましくは、前記研磨材は、アルミナ、炭化ケイ素、立方晶窒化ホウ素、ざくろ石およびダイヤモンドよりなる群より選択された一以上である。また好ましくは、前記犠牲金属材は、亜鉛または亜鉛合金よりなる。あるいは好ましくは、前記犠牲金属材は平均粒径において10nm以上1mm以下の粉体であり、前記研磨材は平均粒径において10μm以上1mm以下の粉体である。また本開示に係る構造物は、鉄または鉄合金よりなる第1の部材と、前記第1の部材に接した第2の部材と、前記第1の部材と前記第2の部材との界面に介在して硬化した前記組成物と、を備える。
【0008】
また本開示に係る鉄または鉄合金よりなる第1の部材を第2の部材に接着する方法は、犠牲金属材の粉末と、研磨材の粉末とを含む固相粉末を、前記固相粉末において前記犠牲金属材は50質量%を超えて100質量%未満となるように接着性樹脂に混合した組成物を調製し、前記組成物を前記第1の部材と前記第2の部材との界面に介在せしめて前記第2の部材を前記第1の部材に押圧して擦り合わせ、前記界面に介在した前記組成物を硬化せしめる、ことよりなる。
【発明の効果】
【0009】
接着力と防錆力とを備えた鋼構造物用接着剤が提供される。
【図面の簡単な説明】
【0010】
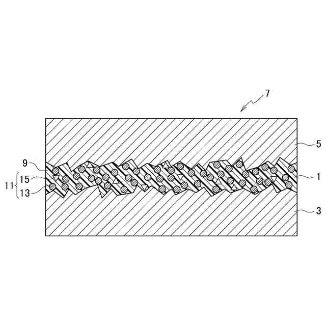
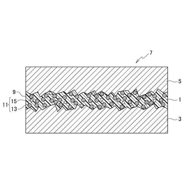
図1は、一実施形態による組成物により接着された鋼構造物において、その接着界面付近を模式的に示す断面図である。
図2は、固相粉末中の亜鉛比が組成物の電位に与える影響を示すグラフである。
図3は、密着性評価試験に基づく剥離後外観写真である。
図4は、腐食試験の試験片および試験後の外観である。
【発明を実施するための形態】
(【0011】以降は省略されています)
この特許をJ-PlatPat(特許庁公式サイト)で参照する
関連特許
株式会社IHIポールワース
炉頂装置
3日前
株式会社IHIアグリテック
トレーラ
1か月前
株式会社IHI
判定方法
11日前
株式会社IHIアグリテック
農作業機
27日前
株式会社IHIアグリテック
農作業機
1か月前
株式会社IHI
無人飛行体
1か月前
株式会社IHI
誘導加熱装置
3か月前
株式会社IHI
制御システム
3か月前
株式会社IHIインフラシステム
塗膜除去方法
3か月前
株式会社IHI
基板固定構造
2か月前
株式会社IHI原動機
脈動減衰装置
2か月前
株式会社IHIインフラシステム
塗膜除去方法
1か月前
株式会社IHI原動機
エンジン装置
1か月前
株式会社IHI
給電システム
2か月前
株式会社IHI物流産業システム
ピッキング設備
3か月前
株式会社IHI
油圧PWM制御弁
3日前
株式会社IHI検査計測
プローブ取付装置
3か月前
株式会社IHIプラント
アンモニア受入設備
4か月前
株式会社IHIプラント
アンモニア受入設備
3か月前
株式会社IHIプラント
アンモニア受入設備
4か月前
株式会社IHI回転機械エンジニアリング
サイレンサ及び過給機
4日前
株式会社IHIインフラ建設
合成桁の床版撤去方法
3か月前
株式会社IHI建材工業
セグメントの接合構造
1か月前
株式会社IHI
多重構造部の止水方法
1か月前
株式会社IHI
ラジアルフォイル軸受
1か月前
株式会社IHI
走査装置および走査方法
1か月前
株式会社IHI
修復装置および修復方法
2か月前
株式会社IHIプラント
液化ガス気化器ユニット
4か月前
株式会社IHIインフラ建設
ワイヤロープ油除去装置
1か月前
株式会社IHI
クリンチング接合検査装置
24日前
株式会社IHI
探索装置、および、探索方法
3日前
株式会社IHIインフラシステム
締結部材用マーキング補助具
4か月前
株式会社IHIインフラシステム
吊材取替方法及び吊材取替装置
1か月前
株式会社IHI
ガス除害装置及びガス除害方法
2か月前
株式会社IHI汎用ボイラ
ボイラ及び水素ガスのパージ方法
2か月前
株式会社IHI検査計測
ボルトねじ部のき裂検査装置と方法
3か月前
続きを見る
他の特許を見る