TOP
|
特許
|
意匠
|
商標
特許ウォッチ
Twitter
他の特許を見る
公開番号
2025176913
公報種別
公開特許公報(A)
公開日
2025-12-05
出願番号
2024083309
出願日
2024-05-22
発明の名称
ロータ及びロータの製造方法
出願人
株式会社IHI
代理人
個人
,
個人
,
個人
主分類
H02K
1/2726 20220101AFI20251128BHJP(電力の発電,変換,配電)
要約
【課題】ロータが回転動作をするときに磁石とアーマリングとの間に生じる予圧の減少を抑制する。
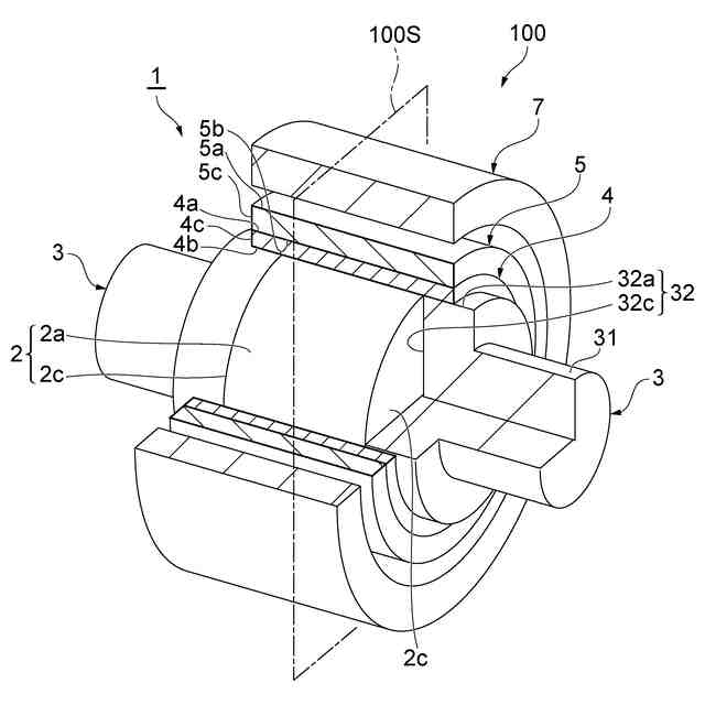
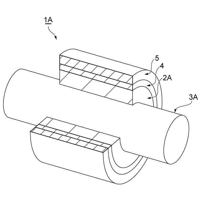
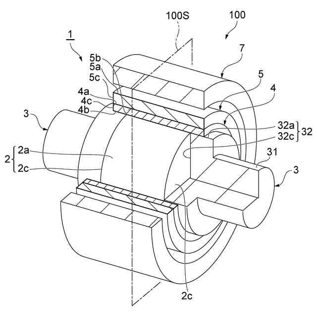
【解決手段】ロータ1は、磁石2と、円筒形状であって、磁石2に接すると共に金属材料によって形成されたインナーアーマリング4と、円筒形状であって、インナーアーマリング4に接すると共に非金属材料によって形成されたアウターアーマリング5と、を備える。磁石2、インナーアーマリング4及びアウターアーマリング5が一体となって回転動作を行うときに、アウターアーマリング5は、インナーアーマリング4より変形しにくい。
【選択図】図1
特許請求の範囲
【請求項1】
磁石と、
円筒形状であって、前記磁石に接するリング部を含むと共に金属材料によって形成された第1アーマリングと、
円筒形状であって、前記第1アーマリングに接すると共に非金属材料によって形成された第2アーマリングと、を備え、
前記磁石、前記第1アーマリング及び前記第2アーマリングが一体となって回転動作を行うときに、前記第2アーマリングは、前記第1アーマリングより変形しにくい、ロータ。
続きを表示(約 650 文字)
【請求項2】
前記第2アーマリングを形成する前記非金属材料の弾性率は、前記第1アーマリングを形成する金属材料の弾性率より、大きい、請求項1に記載のロータ。
【請求項3】
前記第2アーマリングを形成する前記非金属材料の線膨張係数は、前記第1アーマリングを形成する金属材料の線膨張係数より、小さい、請求項1に記載のロータ。
【請求項4】
前記第1アーマリングの内径は、前記磁石の外周面により定義される外接円の直径より小さく、
前記第2アーマリングの内径は、前記第1アーマリングの外径より小さく、
前記第1アーマリングの内径と前記磁石の外形により定義される外接円の直径との差分は、前記第2アーマリングの内径と前記第1アーマリングの外径との差分より大きい、請求項1に記載のロータ。
【請求項5】
前記第2アーマリングは、前記非金属材料である炭素繊維強化プラスチックによって形成されている、請求項1に記載のロータ。
【請求項6】
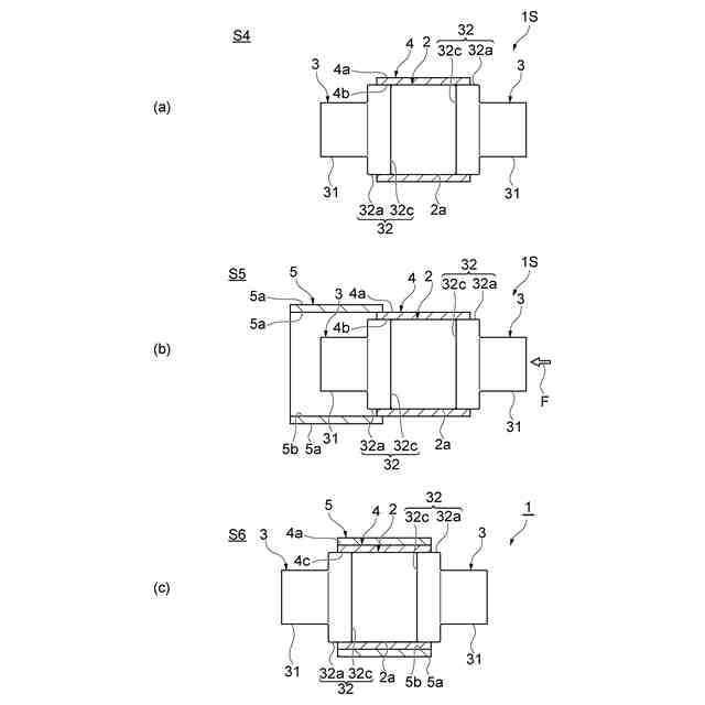
円筒形状であるリング部を含み金属材料によって形成された第1アーマリングを加熱する又は磁石を冷却することによって、隙間を設けた状態で、前記第1アーマリングを前記磁石に組み合わせる工程と、
円筒形状であって非金属材料によって形成された第2アーマリングを、前記磁石に対して組み合わされた前記第1アーマリングに対して、前記第2アーマリングを加熱することなく圧入する工程と、を含む、ロータの製造方法。
発明の詳細な説明
【技術分野】
【0001】
本発明は、ロータ及びロータ製造方法に関する。
続きを表示(約 1,800 文字)
【背景技術】
【0002】
特許文献1~3は、ロータに関する技術を開示する。例えば、特許文献1には、ロータコアと、ロータコアの外周面を囲む磁石と、磁石の外周面を囲む覆い部材を備えたロータが記載されている。覆い部材は、磁性部と磁性部を覆う非磁性部とにより構成されている。特許文献2には、円筒状の磁石と、それらの磁石の間に鉄部材が配置されている回転子や、円筒状の磁石と磁石の外周面を覆うリングを備えた回転子が開示されている。特許文献3には、回転子の断面が示されている。この回転子は、回転子キャリアと、回転子キャリアの内周部に配置された円筒状の磁石ユニットを備えている。
【先行技術文献】
【特許文献】
【0003】
特開2021-52466号公報
特許第4704883号公報
特開2021-19379号公報
【発明の概要】
【発明が解決しようとする課題】
【0004】
磁石の磁界とコイルの磁界との相互作用によって、磁石にはトルクが生じる。このトルクがシャフトに伝達されることによって、シャフトが回転する。磁石からシャフトへのトルクの伝達は、磁石に接するリング状のアーマリングによって達成される。磁石からアーマリングへのトルクの伝達は、磁石とアーマリングとの間に作用する摩擦力の影響を受ける。トルクの伝達に必要な摩擦力を確保するためには、磁石とアーマリングとの間に生じる予圧を確保する必要がある。
【0005】
しかし、磁石及びアーマリングによって構成されたロータが回転すると、磁石及びアーマリングには回転数に応じた遠心力が作用する。この遠心力は、ロータが回転しているときに磁石とアーマリングとの間に生じる予圧が、ロータが回転していないときに磁石とアーマリングとの間に生じる予圧より小さくなるという現象をもたらすことがある。磁石とアーマリングとの間に生じる予圧の減少は、磁石からアーマリング、ひいてはシャフトへのトルクの伝達に影響を及ぼす。
【0006】
そこで、本発明は、ロータが回転動作をするときに磁石とアーマリングとの間に生じる予圧の減少を抑制することができるロータ及びロータの製造方法を提供する。
【課題を解決するための手段】
【0007】
本発明の一形態であるロータは、磁石と、円筒形状であって、磁石に接するリング部を含むと共に金属材料によって形成された第1アーマリングと、円筒形状であって、第1アーマリングに接すると共に非金属材料によって形成された第2アーマリングと、を備える。磁石、第1アーマリング及び第2アーマリングが一体となって回転動作を行うときに、第2アーマリングは、第1アーマリングより変形しにくい。
【0008】
このロータは、回転動作であるときに、遠心力が作用する第2アーマリングは、遠心力が作用する第1アーマリングよりも変形しにくい。その結果、運転時に生じる第1アーマリングの変形は、第2アーマリングによって抑制されるので、第1アーマリングが磁石に与える与圧の低下を抑制することができる。
【0009】
上記のロータにおいて、第2アーマリングを形成する非金属材料の弾性率は、第1アーマリングを形成する金属材料の弾性率より、大きくてもよい。この構成によれば、遠心力に起因する第2アーマリングの変形量は、遠心力に起因する第1アーマリングの変形量よりも小さい。その結果、遠心力に起因する第1アーマリングの変形は、第2アーマリングによって抑制されるので、第1アーマリングが磁石に与える与圧の低下を抑制することができる。
【0010】
上記のロータにおいて、第2アーマリングを形成する非金属材料の線膨張係数は、第1アーマリングを形成する金属材料の線膨張係数より、小さくてもよい。この構成によれば、ロータの回転動作時において磁石及びアーマリングに生じる熱に起因する第2アーマリングの変形量は、磁石及びアーマリングに生じる熱に起因する第1アーマリングの変形量よりも小さい。その結果、磁石及びアーマリングに生じる熱に起因する第1アーマリングの変形は、第2アーマリングによって抑制されるので、第1アーマリングが磁石に与える与圧の低下を抑制することができる。
(【0011】以降は省略されています)
この特許をJ-PlatPat(特許庁公式サイト)で参照する
関連特許
株式会社IHI
判定方法
15日前
株式会社IHIポールワース
炉頂装置
7日前
株式会社IHIアグリテック
トレーラ
1か月前
株式会社IHIアグリテック
農作業機
1か月前
株式会社IHIアグリテック
農作業機
1か月前
株式会社IHI
無人飛行体
2か月前
株式会社IHI
誘導加熱装置
3か月前
株式会社IHI
制御システム
3か月前
株式会社IHIインフラシステム
塗膜除去方法
3か月前
株式会社IHI
基板固定構造
2か月前
株式会社IHI
給電システム
2か月前
株式会社IHI原動機
脈動減衰装置
2か月前
株式会社IHIインフラシステム
塗膜除去方法
1か月前
株式会社IHI原動機
エンジン装置
1か月前
株式会社IHI原動機
エンジンシステム
今日
株式会社IHI検査計測
プローブ取付装置
3か月前
株式会社IHI
油圧PWM制御弁
7日前
株式会社IHI
粉末積層造形装置
今日
株式会社IHIインフラ建設
合成桁の床版撤去方法
3か月前
株式会社IHI
ラジアルフォイル軸受
1か月前
株式会社IHI建材工業
セグメントの接合構造
1か月前
株式会社IHI
多重構造部の止水方法
1か月前
株式会社IHI回転機械エンジニアリング
サイレンサ及び過給機
8日前
株式会社IHIインフラ建設
ワイヤロープ油除去装置
1か月前
株式会社IHI
走査装置および走査方法
1か月前
株式会社IHI
修復装置および修復方法
2か月前
株式会社IHI
クリンチング接合検査装置
28日前
株式会社IHI
探索装置、および、探索方法
7日前
株式会社IHI
ロータ及びロータの製造方法
今日
株式会社IHIインフラシステム
吊材取替方法及び吊材取替装置
1か月前
株式会社IHI
ガス除害装置及びガス除害方法
2か月前
株式会社IHI汎用ボイラ
ボイラ及び水素ガスのパージ方法
2か月前
株式会社IHI
ラジアルフォイル軸受及び回転機械
1日前
株式会社IHI
橋梁の管理方法および橋梁の管理装置
2か月前
株式会社IHI
乾燥装置、および、含水率の推定方法
2か月前
株式会社IHI
超音波接合方法、および、超音波接合装置
15日前
続きを見る
他の特許を見る