TOP
|
特許
|
意匠
|
商標
特許ウォッチ
Twitter
他の特許を見る
公開番号
2025177229
公報種別
公開特許公報(A)
公開日
2025-12-05
出願番号
2024083863
出願日
2024-05-23
発明の名称
固体ロケットモータ用ノズル及び当該ノズルを備える固体ロケットモータ
出願人
株式会社IHIエアロスペース
代理人
弁理士法人相原国際知財事務所
主分類
F02K
9/32 20060101AFI20251128BHJP(燃焼機関;熱ガスまたは燃焼生成物を利用する機関設備)
要約
【課題】スロートインサートの熱変形に伴う燃焼ガス流の偏向に起因して下流側ライナに減肉現象が発生することを回避しつつ、ライナインサートの熱分解ガスを円滑に放出することが可能な、固体ロケットモータ用ノズルを提供する。
【解決手段】ノズルは、燃焼ガス流路のうちスロートを含む部位を形成する内面を有し後端部外周面が円筒面であるスロートインサートと、その外周に配置されたCFRP製のライナインサートとを備える上流側アセンブリと、燃焼ガス流路のうち発散部を形成する内面を有し前端部内周面が円筒面であるライナを備える下流側アセンブリとから成り、ライナの前端部内周面はスロートインサートの後端部外周面と対向すると共に複数の内向きに突出する突出部を備え、周方向に隣接する突出部間にはライナインサートと燃焼ガス流路とを連通する流路が形成され、突出部の内周面はスロートインサートの後端部外周面と同一径の円筒面である。
【選択図】図3
特許請求の範囲
【請求項1】
固体ロケットモータ用ノズルであって、
互いにファスナによって締結された上流側アセンブリ及び下流側アセンブリから成り、
前記上流側アセンブリは、
燃焼ガスの流路のうち収束部からスロートを経て発散部の最上流部に至る部位を形成する内面を有すると共に、後端部の外周面が円筒面として形成された、環状のスロートインサートと、
前記スロートインサートの外周に配置されたCFRP製の環状のライナインサートと、
前記スロートインサート及び前記ライナインサートを内側に保持する金属製の環状の上流側ホルダと、
を備え、
前記下流側アセンブリは、
前記燃焼ガスの流路のうち前記発散部の最上流部から前記発散部の最下流部までを形成する内面を有すると共に、前端部の内周面が円筒面として形成された、FRP製の環状の下流側ライナと、
前記下流側ライナを内側に保持する金属製の環状の下流側ホルダと、
を備え、
前記下流側ライナの前記前端部の内周面は、前記スロートインサートの前記後端部の外周面と対向していると共に、前記内周面からは、周方向に配置された複数の突出部が径方向内向きに突出しており、これにより、周方向に隣接する2つの前記突出部の間には、それぞれ前記ライナインサートと前記燃焼ガスの流路とを連通する流路が形成されており、
前記突出部の内周面は、前記スロートインサートの前記後端部の外周面を構成する前記円筒面と同一の径を有する円筒面として形成されている、固体ロケットモータ用ノズル。
続きを表示(約 400 文字)
【請求項2】
請求項1に記載の固体ロケットモータ用ノズルを備える固体ロケットモータであって、
星形の中空部を有する内面燃焼方式の推進薬グレインが内部に装填されたモータケースを備え、
前記星形の中空部は、周方向に等間隔で配置された複数の光芒を有し、
前記固体ロケットモータ用ノズルの前記突出部は、前記光芒と同一の周方向位相に位置している、固体ロケットモータ。
【請求項3】
請求項1に記載の固体ロケットモータ用ノズルを備える固体ロケットモータであって、
星形の中空部を有する内面燃焼方式の推進薬グレインが内部に装填されたモータケースを備え、
前記星形の中空部は、周方向に等間隔で配置された複数の光芒を有し、
前記固体ロケットモータ用ノズルの前記突出部は、隣接する2つの前記光芒の中間の周方向位相に位置している、固体ロケットモータ。
発明の詳細な説明
【技術分野】
【0001】
本発明は、固体ロケットモータ用のノズルに関する。
続きを表示(約 1,300 文字)
【背景技術】
【0002】
固体ロケットモータは、主要構成要素としてモータケース及びノズルを備えている。
【0003】
モータケースは、例えばCFRP(Carbon Fiber Reinforced Plastic;炭素繊維強化プラスチック)製の略円筒状の圧力容器であり、内部には推進薬グレイン(固体燃料と酸化剤をバインダ(粘結剤)と共に混錬して成形したもの)が装填されている。ノズルは、モータケースの後方(固体ロケットモータの飛翔方向を前方とする;以下同様。)の端部に取り付けられており、推進薬グレインの燃焼によって生じた燃焼ガスを後方へ噴出することにより、固体ロケットモータに推力を与える。
【0004】
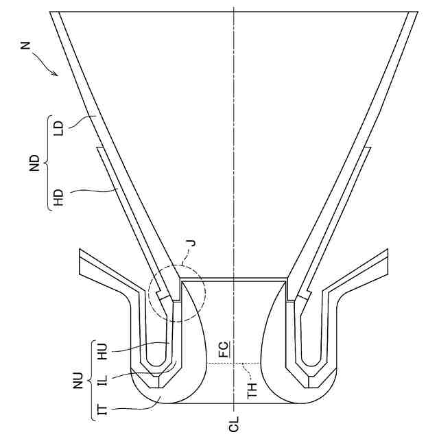
図1は、固体ロケットモータのノズルの構造を示す概略断面図である。
【0005】
ノズルNは、燃焼ガスを超音速に加速して噴出させるために、収束・発散ノズル(コンバージェント・ダイバージェントノズル(convergent-divergent nozzle))として形成されており、上流側の収束部から下流側の発散部への移行部、すなわちスロート(throat)THにおいて、燃焼ガスの流路FCの断面積が最小となっている。
【0006】
構造上、ノズルNは、収束部からスロートTHを経て発散部の最上流部までを形成する上流側アセンブリNUと、発散部の最上流部から最下流部までを形成する下流側アセンブリNDとから成り、両アセンブリNU,NDは、周方向に等間隔で配置された複数のファスナ(図示省略)により締結されている。
【0007】
上流側アセンブリNUは、上流側ホルダHUと、その内側に配置されたスロートインサートITと、上流側ホルダHUとスロートインサートITとの間に介在するライナインサートILと、を備えている。なお、上流側ホルダHU、ライナインサートIL及びスロートインサートITは、いずれも、周方向に連続する環状の部材である。
【0008】
上流側ホルダHUは、金属製の略中空円筒状の構造部材であり、その内側に、ライナインサートIL及びスロートインサートITを保持している。
【0009】
スロートインサートITは、その内面が、燃焼ガスの流路FCのうち収束部からスロートTHを経て発散部の最上流部に至る部位を形成する部材である。内面が約3000℃の燃焼ガスに晒され、非常に高い熱負荷を受けるため、スロートインサートITは、耐熱性及び耐食性に優れたカーボン/カーボン(C/C)から製作されている。
【0010】
ライナインサートILは、燃焼ガスからの熱伝達により高温となるスロートインサートITから上流側ホルダHUへの伝熱を抑制する断熱材として機能する部材であり、CFRPから製作されている。断熱材として機能するライナインサートILが介在することにより、金属製の上流側ホルダHUの温度が過度に上昇してその構造強度が損なわれることが防止される。
(【0011】以降は省略されています)
この特許をJ-PlatPat(特許庁公式サイト)で参照する
関連特許
株式会社IHIエアロスペース
固体ロケットモータ用ノズル及び当該ノズルを備える固体ロケットモータ
4日前
個人
バンケル型内燃機関の改良
1か月前
個人
擬似オイル発電装置
25日前
個人
ガバナー
12日前
スズキ株式会社
車両の制御装置
1か月前
ダイハツ工業株式会社
発電装置
20日前
スズキ株式会社
車両の制御装置
1か月前
本田技研工業株式会社
車両
2か月前
本田技研工業株式会社
車両
2か月前
株式会社クボタ
作業車
1か月前
トヨタ自動車株式会社
電磁弁
1か月前
株式会社クボタ
作業車両
1か月前
株式会社ミクニ
二次空気供給システム
5日前
本田技研工業株式会社
内燃機関
2か月前
トヨタ自動車株式会社
制御装置
4日前
株式会社ミクニ
インテークマニホールド
4日前
株式会社ミクニ
インテークマニホールド
4日前
本田技研工業株式会社
始動制御装置
2か月前
トヨタ自動車株式会社
車両制御装置
1か月前
本田技研工業株式会社
始動制御装置
2か月前
トヨタ自動車株式会社
制御装置
19日前
トヨタ自動車株式会社
電磁弁の制御装置
1か月前
トヨタ自動車株式会社
燃料噴射制御装置
13日前
トヨタ自動車株式会社
エンジン制御装置
1か月前
国立大学法人 名古屋工業大学
小型化無振動機構機器
11日前
日産自動車株式会社
吸気装置
13日前
トヨタ自動車株式会社
内燃機関の制御装置
19日前
トヨタ自動車株式会社
フレックス燃料車両
1か月前
Astemo株式会社
内燃機関の制御装置
19日前
トヨタ自動車株式会社
内燃機関の制御装置
1か月前
大阪瓦斯株式会社
エンジンシステム
2か月前
川崎重工業株式会社
ガスタービンエンジン
1か月前
本田技研工業株式会社
可変ファンネル装置
2か月前
トヨタ自動車株式会社
V型8気筒エンジン
1か月前
ダイハツ工業株式会社
副燃焼室付きエンジン
11日前
富士電機株式会社
駆動回路
1か月前
続きを見る
他の特許を見る