TOP
|
特許
|
意匠
|
商標
特許ウォッチ
Twitter
他の特許を見る
公開番号
2025176570
公報種別
公開特許公報(A)
公開日
2025-12-04
出願番号
2024082814
出願日
2024-05-21
発明の名称
接触冷感測定装置
出願人
株式会社Profid
代理人
個人
,
個人
主分類
G01N
25/18 20060101AFI20251127BHJP(測定;試験)
要約
【課題】対象物の接触冷感性の測定を簡便に行い得、かつ混入する誤差が小さい測定装置を提供する。
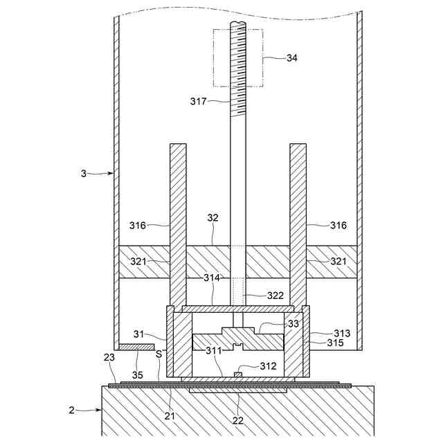
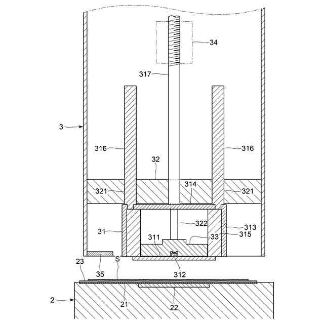
【解決手段】試料Sを支持する試料支持部2と、試料Sから離間する待機位置と試料Sに当接する測定位置との間で変位可能な測定部31と、待機位置にある測定部31に接して測定部31を所定温度に加温する熱源部33と、測定部31を待機位置と測定位置との間で移動させる駆動部と、測定部31の現在温度を検出するセンサ312とは別の、試料Sの現在温度を検出する温度センサ35と、測定を開始するための操作を受け付ける操作部と、温度センサ35が出力する試料Sの現在温度を示す信号を受けるとともに、測定部31を待機位置から測定位置まで変位させるよう駆動部を動作させ、試料Sに当接した測定部31が出力する測定部31の現在温度を示す信号を受けて測定部31から試料Sに伝導する熱流束を算定する制御部とを具備する測定装置を構成した。
【選択図】図2
特許請求の範囲
【請求項1】
試料を支持する試料支持部と、
前記試料支持部に支持させた試料から離間する待機位置と前記試料に当接する測定位置との間で変位可能な測定部と、
前記待機位置にある測定部に接して測定部を所定温度に加温する熱源部と、
前記測定部を前記待機位置と前記測定位置との間で移動させる駆動部と、
前記測定部の現在温度を検出するセンサとは別の、前記試料支持部に支持させた試料の現在温度を検出する温度センサと、
前記試料の接触冷感性の測定を開始するための操作を受け付ける操作部と、
前記温度センサが出力する前記試料の現在温度を示す信号を受けるとともに、前記操作部が前記操作を受け付けたことを示す信号を受けて前記測定部を前記待機位置から前記測定位置まで変位させるよう前記駆動部を動作させ、測定位置にて試料に当接した測定部が出力する当該測定部の現在温度を示す信号を受けて測定部から試料に伝導する熱流束を算定する処理を行う制御部と
を具備する接触冷感測定装置。
続きを表示(約 280 文字)
【請求項2】
前記試料支持部に支持させた試料を冷却しまたは加温する調温機構を具備し、
前記制御部は、前記測定部を当接させる直前の前記試料の温度を測定部の温度よりも所定値だけ低い温度に調整するように前記調温機構を制御する請求項1記載の接触冷感測定装置。
【請求項3】
前記温度センサは、前記試料支持部に支持させた試料における前記測定部を当接させる表面の近傍の雰囲気の温度を検出する請求項1記載の接触冷感測定装置。
【請求項4】
前記調温機構は、ペルチェ素子を用いたものである請求項1記載の接触冷感測定装置。
発明の詳細な説明
【技術分野】
【0001】
本発明は、人の手指や肌が物に触れた際の熱移動量を模擬的に測定する接触冷感測定装置に関する。
続きを表示(約 1,800 文字)
【背景技術】
【0002】
物に触れた人の皮膚が瞬間的に「冷たい」または「冷たくない」「温かい」と感じる感覚を、接触冷感性(接触冷温感)と呼ぶ。接触冷感性は、繊維製品等、特にシャツ、スポーツウェア、肌着類、寝装品類や家具、什器に使用する生地の快適性の一つの要素となる。
【0003】
接触冷感性は、人が物に触れた瞬間の皮膚から物への熱の移動量の大きさに依存している。接触冷感性を定量評価する方法として、皮膚と物とが触れた時の初期熱流束(または、初期熱流量)の極大値q
max
を測定することが知られている。具体的には、対象物から所定の寸法の試料を切り出すとともに、予め加温し蓄熱させた熱源板を試料に接触させる。このとき、試料の温度を、熱源板の温度よりも所定値ΔT(例えば、10℃分)だけ低い温度としておく。そして、試料に吸熱される熱源板の温度の時系列、換言すれば熱源板から試料への熱移動を計測して、それを基にq
max
を算出する(以上、下記先行技術文献を参照)。
【先行技術文献】
【特許文献】
【0004】
特許第7030321号公報
【非特許文献】
【0005】
川端季雄、「布の熱・水分移動特性測定装置の試作とその応用」、繊維機械学会誌論文集、1984年、第39号、p.38-49
「繊維製品の接触冷感性評価方法」、日本産業規格JIS L 1927:2020
「テキスタイル-接触時の冷涼感の試験と評価」、中華人民共和国国家標準規格GB/T 35263-2017
【発明の概要】
【発明が解決しようとする課題】
【0006】
接触冷感性の指標値q
max
を測定するための装置自体は既存である。しかし、これを使用して接触冷感性を精確に測定することは、実のところ容易でない。測定開始時の熱源板の温度を30℃、ΔTを10℃とすると、測定開始時の対象物の試料の温度は20℃でなければならない。が、試料の温度は、測定作業を行う室内の温度及び空調装置の影響を受けやすく、試料が20℃、熱源板と試料との温度差ΔTが10℃であることが必ずしも保証されていない。ΔTが10℃からずれていると、q
max
の算定値に誤差が混入してしまう。
【0007】
測定の誤差を小さくするために、高性能の恒温恒湿槽を用いることが理想的ではあるものの、手間とコストが増大する。恒温恒湿槽を用意できないこともあろう。
【0008】
因みに、熱源板と試料との温度差ΔTは、日本産業規格では10℃であるが、中華人民共和国国家標準規格では15℃である。他の規格では、20℃とすることもある。何れにせよ、測定開始時の試料の温度を確認でき、その温度を所望の温度に調整できることが望ましい。
【0009】
本発明は、上述の事情に鑑みてなされたもので、対象物の接触冷感性の測定を簡便に行い得、かつ混入する誤差が小さい測定装置を提供することを所期の目的とする。
【課題を解決するための手段】
【0010】
本発明では、試料を支持する試料支持部と、前記試料支持部に支持させた試料から離間する待機位置と前記試料に当接する測定位置との間で変位可能な測定部と、前記待機位置にある測定部に接して測定部を所定温度に加温する熱源部と、前記測定部を前記待機位置と前記測定位置との間で移動させる駆動部と、前記測定部の現在温度を検出するセンサとは別の、前記試料支持部に支持させた試料の現在温度を検出する温度センサと、前記試料の接触冷感性の測定を開始するための操作を受け付ける操作部と、前記温度センサが出力する前記試料の現在温度を示す信号を受けるとともに、前記操作部が前記操作を受け付けたことを示す信号を受けて前記測定部を前記待機位置から前記測定位置まで変位させるよう前記駆動部を動作させ、測定位置にて試料に当接した測定部が出力する当該測定部の現在温度を示す信号を受けて測定部から試料に伝導する熱流束を算定する処理を行う制御部とを具備する接触冷感測定装置を構成した。
(【0011】以降は省略されています)
この特許をJ-PlatPat(特許庁公式サイト)で参照する
関連特許
株式会社Profid
接触冷感測定装置
今日
日本精機株式会社
検出装置
29日前
個人
採尿及び採便具
1か月前
個人
高精度同時多点測定装置
1か月前
個人
アクセサリー型テスター
1か月前
個人
計量機能付き容器
24日前
日本精機株式会社
発光表示装置
7日前
株式会社カクマル
境界杭
14日前
株式会社ミツトヨ
測定器
1か月前
甲神電機株式会社
電流検出装置
29日前
株式会社トプコン
測量装置
6日前
アズビル株式会社
電磁流量計
1か月前
大成建設株式会社
風洞実験装置
24日前
ダイキン工業株式会社
監視装置
1か月前
トヨタ自動車株式会社
監視装置
1か月前
双庸電子株式会社
誤配線検査装置
1か月前
長崎県
形状計測方法
1か月前
ローム株式会社
半導体装置
1か月前
愛知時計電機株式会社
ガスメータ
1か月前
日本特殊陶業株式会社
ガスセンサ
6日前
日本特殊陶業株式会社
ガスセンサ
22日前
個人
非接触による電磁パルスの測定方法
27日前
個人
システム、装置及び実験方法
1か月前
ローム株式会社
半導体装置
1か月前
愛知電機株式会社
軸部材の外観検査装置
1か月前
大和製衡株式会社
組合せ計量装置
1か月前
大和製衡株式会社
組合せ計量装置
1か月前
個人
計量具及び計量機能付き容器
24日前
日本信号株式会社
距離画像センサ
27日前
日本特殊陶業株式会社
ガスセンサ
今日
TDK株式会社
磁気センサ
1か月前
日本特殊陶業株式会社
センサ
8日前
株式会社タイガーカワシマ
揚穀装置
6日前
株式会社不二越
X線測定装置
27日前
本陣水越株式会社
車載式計測標的物
1日前
個人
液位検視及び品質監視システム
22日前
続きを見る
他の特許を見る