TOP
|
特許
|
意匠
|
商標
特許ウォッチ
Twitter
他の特許を見る
公開番号
2025177179
公報種別
公開特許公報(A)
公開日
2025-12-05
出願番号
2024083771
出願日
2024-05-23
発明の名称
バラスト軌道つき固め装置及び方法
出願人
公益財団法人鉄道総合技術研究所
代理人
個人
,
個人
主分類
E01B
27/16 20060101AFI20251128BHJP(道路,鉄道または橋りょうの建設)
要約
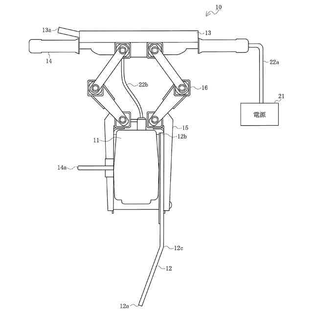
【課題】バラスト軌道におけるバラストの破砕及び細粒化を抑制することができるようにする。
【解決手段】振動を発生する起振部と、該起振部が発生した振動をバラストに伝達する振動伝達部と、前記起振部にエネルギを供給するエネルギ供給部と、前記起振部が発生する振動を調整する振動調整部とを備えるバラスト軌道つき固め装置であって、前記振動伝達部は、少なくとも根本が前記起振部に取り付けられ、少なくとも先端がバラストに挿し込み可能な細長い部材であり、前記振動調整部は、前記振動の周波数を上昇又は下降させる。
【選択図】図1
特許請求の範囲
【請求項1】
振動を発生する起振部と、該起振部が発生した振動をバラストに伝達する振動伝達部と、前記起振部にエネルギを供給するエネルギ供給部と、前記起振部が発生する振動を調整する振動調整部とを備えるバラスト軌道つき固め装置であって、
前記振動伝達部は、少なくとも根本が前記起振部に取り付けられ、少なくとも先端がバラストに挿し込み可能な細長い部材であり、
前記振動調整部は、前記振動の周波数を上昇又は下降させることを特徴とするバラスト軌道つき固め装置。
続きを表示(約 1,000 文字)
【請求項2】
前記振動伝達部は帯板状の部材である請求項1に記載のバラスト軌道つき固め装置。
【請求項3】
前記振動伝達部は、前記根本と先端との間に形成された少なくとも1つの曲げ部を含むヘラ状の部材である請求項2に記載のバラスト軌道つき固め装置。
【請求項4】
前記振動調整部は前記振動の周波数を、基準周波数と、該基準周波数より低い低周波数又は前記基準周波数より高い高周波数とに切り換え可能である請求項1に記載のバラスト軌道つき固め装置。
【請求項5】
前記基準周波数は47〔Hz〕であり、前記低周波数は40〔Hz〕であり、前記高周波数は70〔Hz〕である請求項4に記載のバラスト軌道つき固め装置。
【請求項6】
オペレータが操作する操作ハンドルを更に備え、
該操作ハンドルは前記起振部に取り付けられ、前記振動調整部は前記操作ハンドルに取り付けられた振動調整用操作部材を含む請求項1に記載のバラスト軌道つき固め装置。
【請求項7】
前記エネルギ供給部は前記起振部から離間して設置され、前記振動調整部は前記エネルギ供給部を制御して前記起振部に供給されるエネルギの周波数を上昇又は下降させる請求項1に記載のバラスト軌道つき固め装置。
【請求項8】
振動を発生する起振部と、少なくとも根本が前記起振部に取り付けられ、少なくとも先端がバラストに挿し込み可能な細長い部材であって、前記起振部が発生した振動をバラストに伝達する振動伝達部と、前記起振部にエネルギを供給するエネルギ供給部とを備えるバラスト軌道つき固め装置を使用してバラスト軌道つき固め作業を行うバラスト軌道つき固め方法であって、
前記バラスト軌道つき固め作業を行う際に、前記振動の周波数を上昇又は下降させることを特徴とするバラスト軌道つき固め方法。
【請求項9】
前記振動伝達部の少なくとも先端がバラスト内に挿入された後に、前記振動の周波数を基準周波数より下降させて前記バラスト軌道つき固め作業を行う請求項8に記載のバラスト軌道つき固め方法。
【請求項10】
前記振動の周波数を基準周波数より上昇させた後に、前記振動伝達部の少なくとも先端をバラストに挿し込む請求項8に記載のバラスト軌道つき固め方法。
発明の詳細な説明
【技術分野】
【0001】
本開示は、バラスト軌道つき固め装置及び方法に関するものである。
続きを表示(約 1,300 文字)
【背景技術】
【0002】
従来、鉄道の線路、すなわち、軌道としては、路盤上に砕石(バラスト)による道床を設け、その上にまくらぎ及びレールを敷設した、いわゆるバラスト軌道が広く採用されている。
【0003】
しかし、バラスト軌道においては、レールの継ぎ目等の近辺で荷重変動が生じ、レール及びまくらぎを支持するバラストに局所的な沈下が生ずることがある。そこで、バラスト軌道においては、定期的に軌道変位が検測され、軌道変位が大きい箇所では、レールをジャッキでこう上するとともに、タイタンパと呼ばれるバラスト軌道つき固め装置を用いて、まくらぎの下にバラストをつき込む作業(つき固め作業)を行って、レールレベルを平坦に整正する保守作業が実施される(例えば、特許文献1~4並びに非特許文献1及び2参照。)。
【先行技術文献】
【特許文献】
【0004】
実公昭63-32162号公報
特開2023-74689号公報
特開2023-74690号公報
特開2023-74691号公報
【非特許文献】
【0005】
小野寺孝行、「タイタンパ等による道床つき固め効果の確認試験」、土木学会第66回年次学術講演会、2011年、pp133-134
乾清一、「タイタンパによる道床つき固め」、鉄道総研速報、1953年、第10巻、第17号、pp4-13
【発明の概要】
【発明が解決しようとする課題】
【0006】
しかしながら、つき固め作業を実施するとバラストが破砕され細粒化されてしまう。そして、つき固め作業を繰り返すことによって、また、経年劣化によってバラストの破砕及び細粒化が進行すると、バラストの強度が低下して沈下が大きくなってしまう。
【0007】
ここでは、前記従来の技術の問題点を解決して、バラスト軌道におけるバラストの破砕及び細粒化を抑制することができるバラスト軌道つき固め装置及び方法を提供することを目的とする。
【課題を解決するための手段】
【0008】
そのために、バラスト軌道つき固め装置においては、振動を発生する起振部と、該起振部が発生した振動をバラストに伝達する振動伝達部と、前記起振部にエネルギを供給するエネルギ供給部と、前記起振部が発生する振動を調整する振動調整部とを備えるバラスト軌道つき固め装置であって、前記振動伝達部は、少なくとも根本が前記起振部に取り付けられ、少なくとも先端がバラストに挿し込み可能な細長い部材であり、前記振動調整部は、前記振動の周波数を上昇又は下降させる。
【0009】
他のバラスト軌道つき固め装置においては、さらに、前記振動伝達部は帯板状の部材である。
【0010】
更に他のバラスト軌道つき固め装置においては、さらに、前記振動伝達部は、前記根本と先端との間に形成された少なくとも1つの曲げ部を含むヘラ状の部材である。
(【0011】以降は省略されています)
この特許をJ-PlatPat(特許庁公式サイト)で参照する
関連特許
株式会社熊谷組
床版
3日前
積水樹脂株式会社
カバー体
1日前
個人
掃除装置
1日前
株式会社セイトク
防雪パネル
1か月前
コスモテック株式会社
表示装置
29日前
株式会社パロマ
融雪装置
8日前
株式会社 林物産発明研究所
道路安全体
16日前
株式会社ササキコーポレーション
作業機
1か月前
戸田建設株式会社
コンクリート構造
1か月前
三信工業株式会社
床版架設装置
1か月前
桑名金属工業株式会社
融雪マットおよび融雪方法
1か月前
戸田建設株式会社
鋼製ブラケットの取付装置
1か月前
戸田建設株式会社
鋼製ブラケットの取付装置
1か月前
西松建設株式会社
耐震補強方法
8日前
株式会社丸治コンクリート工業所
防護柵
10日前
株式会社川金コアテック
橋梁用鋼弾塑性ダンパー
24日前
個人
充填剤及びそれが充填された人工芝
8日前
西尾レントオール株式会社
コーンベット型電源装置
1か月前
日鉄建材株式会社
吊り材で支持された足場用床パネル
1か月前
鹿島建設株式会社
床版架設方法
1か月前
日立建機株式会社
転圧機械
1か月前
オリエンタル白石株式会社
補強鋼板及び排土方法
1か月前
株式会社日本コンポジット工業
壁用構造体
1か月前
鹿島建設株式会社
壁高欄の施工方法
9日前
宮地エンジニアリング株式会社
ワイヤブリッジの設置方法
1か月前
ダンレックス株式会社
表示装置
17日前
株式会社朝日設計事務所
床版橋の梁組合せ床版及び施工方法
8日前
酒井重工業株式会社
建設車両
1日前
株式会社プロテックエンジニアリング
衝撃吸収柵
1か月前
鹿島建設株式会社
橋、および橋の製造方法
1か月前
ワールド開発工業株式会社
センサ用支持体およびロードローラー
2日前
清水建設株式会社
床版架設装置および床版架設方法
16日前
愛知製鋼株式会社
磁気マーカの施工方法および施工用の補助工具
1か月前
オリエンタル白石株式会社
馬蹄形ジベルの合成床版撤去工法
1か月前
PUMP MAN株式会社
路面成型補助部材、及び、路面成型方法
29日前
公益財団法人鉄道総合技術研究所
レール締結用工具
1日前
続きを見る
他の特許を見る