TOP
|
特許
|
意匠
|
商標
特許ウォッチ
Twitter
他の特許を見る
10個以上の画像は省略されています。
公開番号
2025176909
公報種別
公開特許公報(A)
公開日
2025-12-05
出願番号
2024083303
出願日
2024-05-22
発明の名称
レール締結用工具
出願人
公益財団法人鉄道総合技術研究所
,
株式会社テス
代理人
個人
主分類
E01B
29/24 20060101AFI20251128BHJP(道路,鉄道または橋りょうの建設)
要約
【課題】簡単な構造によってレール締結装置を容易に締結することができ作業負担を軽減することができるレール締結用工具を提供する。
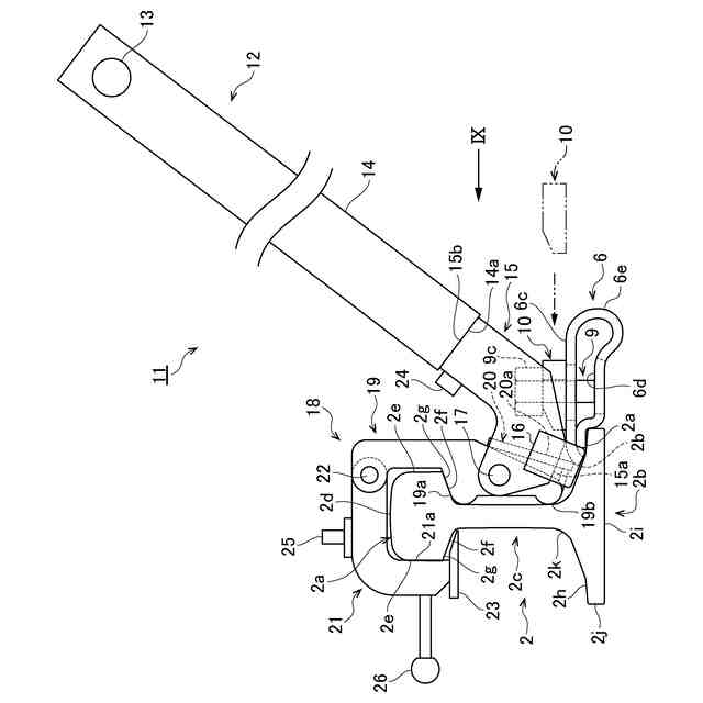
【解決手段】レール締結用工具11は、レール2を支持体3に締結するための工具であって、レール2を押え付ける締結ばね6に荷重を作用させる荷重作用部15と、レール2に着脱自在に装着されて、荷重作用部15が締結ばね6に作用させる荷重に対する反力をレール2から受ける反力受け部18とを備えている。荷重作用部15は、支持体3に取り付けられる固定部材9と締結ばね6との間に、挿入部材10を挿入するための隙間Δが形成されるように、締結ばね6に荷重を作用させる。レール締結用工具11は、荷重作用部15が締結ばね6に荷重を作用させるための外力を作用させるてこ部12を備えている。反力受け部18は、てこ部12を回転自在に支持する支点部17を支持する。
【選択図】図7
特許請求の範囲
【請求項1】
レールを支持体に締結するためのレール締結用工具であって、
前記レールを押え付ける締結ばねに荷重を作用させる荷重作用部と、
前記レールに着脱自在に装着されて、前記荷重作用部が前記締結ばねに作用させる荷重に対する反力を前記レールから受ける反力受け部と、
を備えるレール締結用工具。
続きを表示(約 760 文字)
【請求項2】
請求項1に記載のレール締結用工具において、
前記荷重作用部は、前記支持体に取り付けられる固定部材と前記締結ばねとの間に、挿入部材を挿入するための隙間が形成されるように、この締結ばねに荷重を作用させること、
を特徴とするレール締結用工具。
【請求項3】
請求項1に記載のレール締結用工具において、
前記荷重作用部は、前記支持体に取り付けられる固定部材と前記締結ばねとの間に挿入された挿入部材を取り外すための隙間が形成されるように、この締結ばねに荷重を作用させること、
を特徴とするレール締結用工具。
【請求項4】
請求項1に記載のレール締結用工具において、
前記荷重作用部は、前記締結ばねが圧縮されるようにこの締結ばねに荷重を作用させること、
を特徴とするレール締結用工具。
【請求項5】
請求項1に記載のレール締結用工具において、
前記荷重作用部は、前記支持体からの突出量がほぼ一定の固定部材に装着されている前記締結ばねに荷重を作用させること、
を特徴とするレール締結用工具。
【請求項6】
請求項1に記載のレール締結用工具において、
前記荷重作用部が前記締結ばねに荷重を作用させるための外力を作用させるてこ部を備え、
前記反力受け部は、前記てこ部を回転自在に支持する支点部を支持すること、
を特徴とするレール締結用工具。
【請求項7】
請求項1に記載のレール締結用工具において、
前記反力受け部は、前記レールの幅方向からこのレールを挟み込むように、このレールに着脱自在に装着されること、
を特徴とするレール締結用工具。
発明の詳細な説明
【技術分野】
【0001】
この発明は、レールを支持体に締結するためのレール締結用工具に関する。
続きを表示(約 1,900 文字)
【背景技術】
【0002】
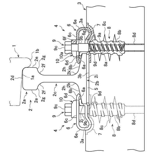
日本では、レール締結装置は板ばねをボルト・ナット締結体で締結する螺締式が主流である。例えば、従来の5形レール締結装置(以下、従来技術1という)は、レールの底部上面を押え付ける締結ばねと、レールを支持するPCまくらぎに埋め込まれたこの締結ばねの端部を支持する受け栓と、PCまくらぎに埋め込まれた埋込栓と、この埋込栓にねじ込まれてこの締結ばねを締結する締結ボルトとを備えている(例えば、非特許文献1参照)。
【0003】
近年、締結後に所定の性能を発揮し以降の維持管理が不要で、保守の省力化・低コスト化に資する線ばねを用いた無螺締式の締結装置の敷設が徐々に進められている。例えば、従来の線ばね形レール締結装置(以下、従来技術2という)は、レールの底部上面を押え付ける線ばねと、PCまくらぎに埋め込まれておりこの線ばねの一端を押し込むことによって嵌め込まれるショルダと、この線ばねとレールの底部上面との間に挟み込まれてこれらの間を電気的に絶縁するインシュレータとを備えている(例えば、非特許文献1参照)。
【0004】
一方、無螺締式の採用にあたり、専用の締結機構を設けたレール支承体(PCまくらぎ等)への交換が必須で、導入コストが高いことが普及を阻む要因となっている。例えば、従来技術1の螺締式のレール締結装置を従来技術2の線ばね形レール締結装置に変更する場合には、螺締式のレール締結装置の埋込栓を、線ばね形レール締結装置のショルダに変更する必要がある。この場合、埋込栓が埋め込まれた既設のPCまくらぎを、ショルダが埋め込まれたPCまくらぎに交換する必要があり、交換作業に手間がかかるとともにコストが高くなってしまう課題がある。
【0005】
上記課題に対し既設のレール支承体を交換することなく無螺締式に切り替えることのできるように、既存のレール支承体を活用した無螺締式のレール締結方法が提案されている。従来のレール締結装置(以下、従来技術3という)は、支承体に固定された軸部材と、支承体と軸部材の頭部との間に配置されたばね部材と、軸部材の軸部を囲むようにばね部材と頭部との間に挿入された枠部材とを備えている(例えば、特許文献1参照)。
【先行技術文献】
【特許文献】
【0006】
「第66回 レール締結装置」,RRR,一般財団法人研友社,2017年,74巻,第11号,p.28-31
特開2023-041500号公報
【発明の概要】
【発明が解決しようとする課題】
【0007】
従来技術3は、レール締結装置を施工するときに、軸部材の頭部とばね部材との間に枠部材の厚みと同量の隙間を設けて、枠部材を差し込む工程がある。しかし、従来技術3では、軸部材の頭部とばね部材との間に枠部材を挿入しながら、枠部材によってばね部材の上ばねを下ばねに押し付けてこれらの間に隙間をあける必要があり、ばね部材の復元力に抗してこれらの間に枠部材を挿入するために大きな力が必要となる。このため、安全・容易に簡易な構造・仕組みで板ばねを押し下げる装置が必要である。
【0008】
この発明の課題は、簡単な構造によってレール締結装置を容易に締結することができ作業負担を軽減することができるレール締結用工具を提供することである。
【課題を解決するための手段】
【0009】
この発明は、以下に記載するような解決手段により、前記課題を解決する。
なお、この発明の実施形態に対応する符号を付して説明するが、この実施形態に限定するものではない。
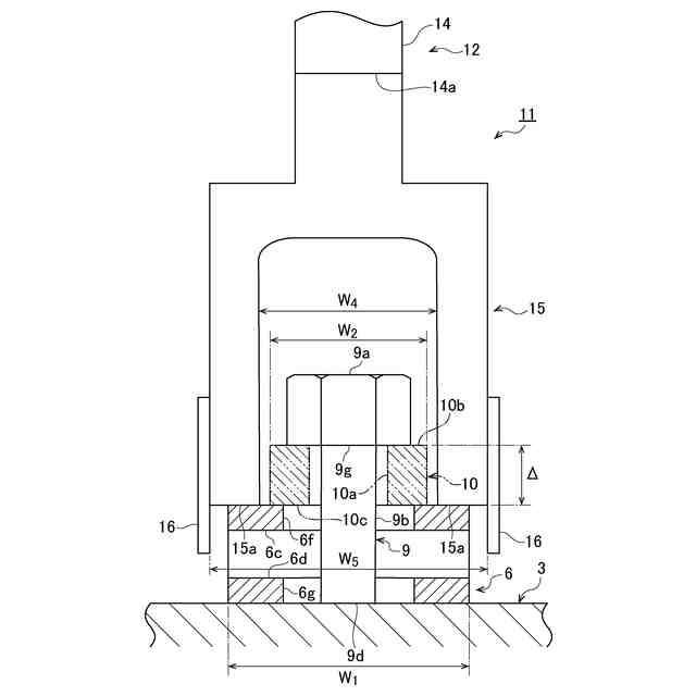
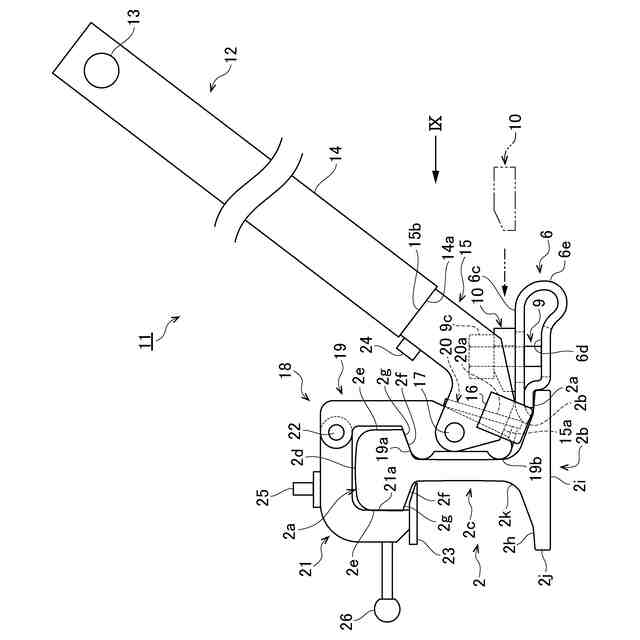
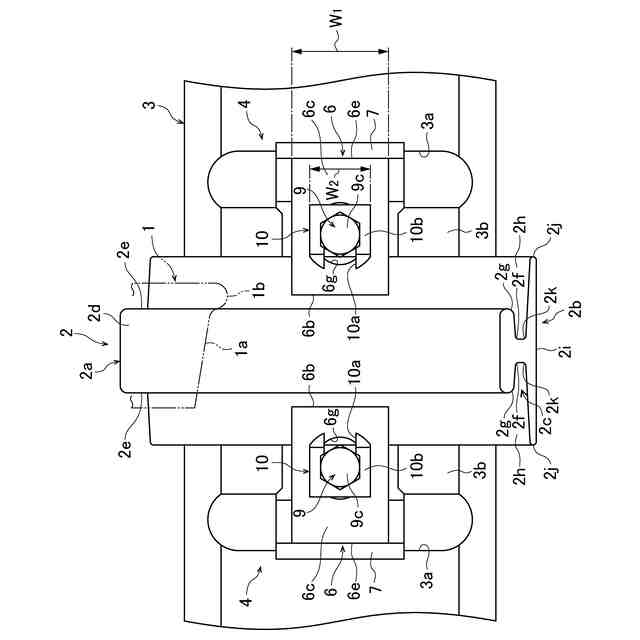
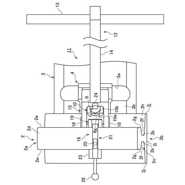
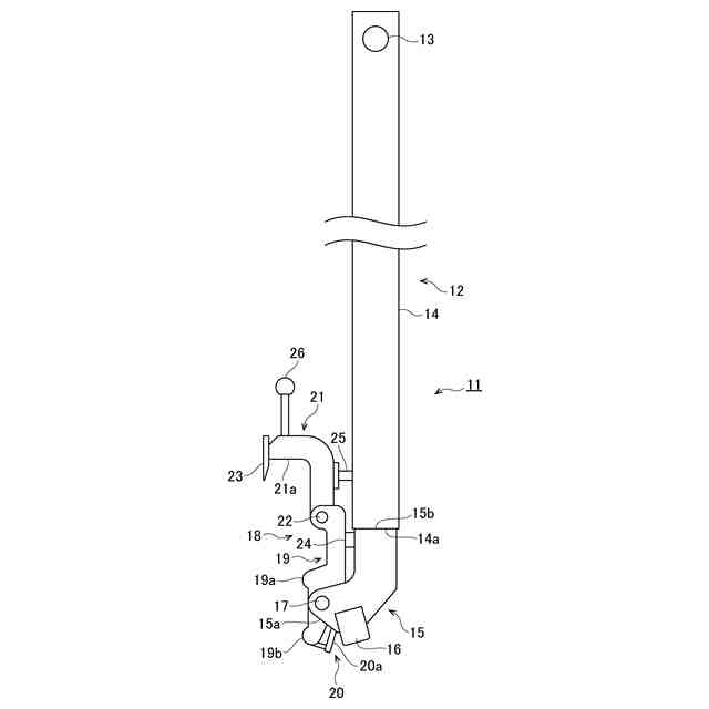
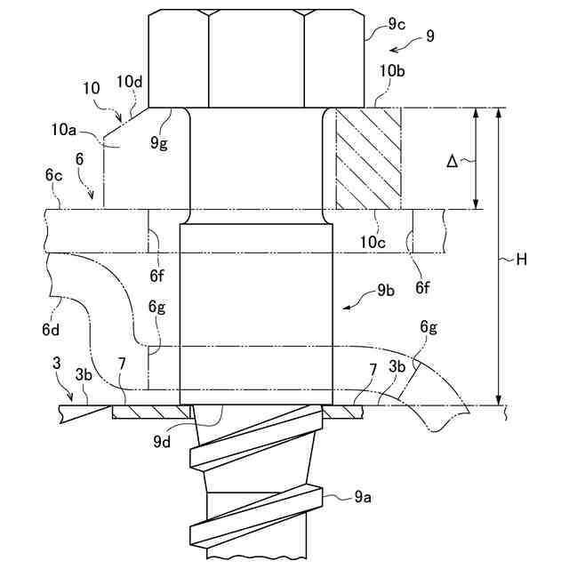
請求項1の発明は、図7、図8、図12、図18及び図19に示すように、レール(2)を支持体(3)に締結するためのレール締結用工具であって、前記レールを押え付ける締結ばね(6)に荷重を作用させる荷重作用部(15)と、前記レールに着脱自在に装着されて、前記荷重作用部が前記締結ばねに作用させる荷重に対する反力を前記レールから受ける反力受け部(18)とを備えるレール締結用工具(11)である。
【0010】
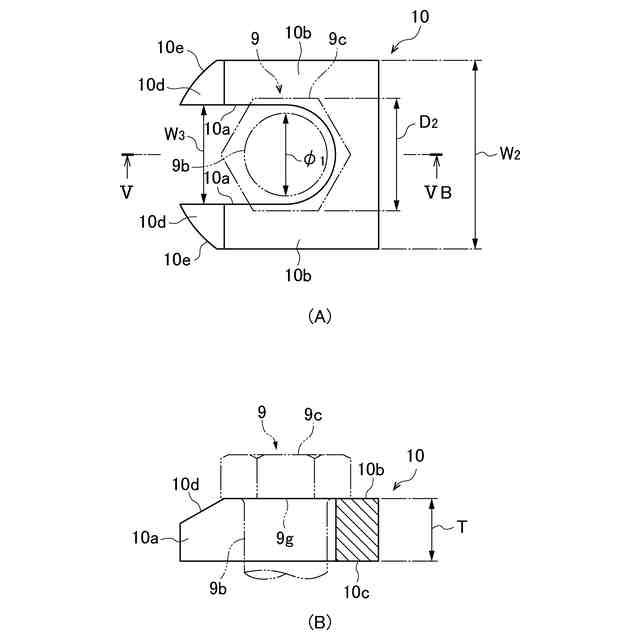
請求項2の発明は、請求項1に記載のレール締結用工具において、図9、図13及び図20に示すように、前記荷重作用部は、前記支持体に取り付けられる固定部材(9)と前記締結ばねとの間に、挿入部材(10)を挿入するための隙間(Δ)が形成されるように、この締結ばねに荷重を作用させることを特徴とするレール締結用工具である。
(【0011】以降は省略されています)
この特許をJ-PlatPat(特許庁公式サイト)で参照する
関連特許
個人
掃除装置
1日前
積水樹脂株式会社
カバー体
1日前
株式会社熊谷組
床版
1か月前
株式会社熊谷組
床版
1か月前
株式会社熊谷組
床版
3日前
株式会社セイトク
防雪パネル
1か月前
白出商事株式会社
縁石銘板(名板)
2か月前
コスモテック株式会社
表示装置
29日前
株式会社パロマ
融雪装置
8日前
株式会社NIPPO
斜面用ローラ
1か月前
株式会社NIPPO
距離補正装置
1か月前
株式会社NIPPO
斜面用ローラ
1か月前
株式会社ササキコーポレーション
作業機
1か月前
株式会社 林物産発明研究所
道路安全体
16日前
株式会社NIPPO
切削用制御装置
1か月前
戸田建設株式会社
コンクリート構造
1か月前
三信工業株式会社
床版架設装置
1か月前
桑名金属工業株式会社
融雪マットおよび融雪方法
1か月前
東亜グラウト工業株式会社
防護柵の支柱構造
1か月前
戸田建設株式会社
鋼製ブラケットの取付装置
1か月前
西松建設株式会社
耐震補強方法
8日前
戸田建設株式会社
鋼製ブラケットの取付装置
1か月前
株式会社丸治コンクリート工業所
防護柵
10日前
株式会社川金コアテック
橋梁用鋼弾塑性ダンパー
24日前
株式会社NIPPO
バンク用建設機械サポータ装置
1か月前
個人
充填剤及びそれが充填された人工芝
8日前
西尾レントオール株式会社
コーンベット型電源装置
1か月前
日鉄神鋼建材株式会社
補強金具、及び支柱取付構造
1か月前
株式会社NIPPO
アスファルトスタッカ制御装置
1か月前
日立建機株式会社
転圧機械
1か月前
鹿島建設株式会社
床版架設方法
1か月前
日鉄建材株式会社
吊り材で支持された足場用床パネル
1か月前
株式会社日本コンポジット工業
壁用構造体
1か月前
オリエンタル白石株式会社
補強鋼板及び排土方法
1か月前
鹿島建設株式会社
壁高欄の施工方法
9日前
三井住友建設株式会社
床版拡幅工法
1か月前
続きを見る
他の特許を見る