TOP
|
特許
|
意匠
|
商標
特許ウォッチ
Twitter
他の特許を見る
公開番号
2025160003
公報種別
公開特許公報(A)
公開日
2025-10-22
出願番号
2024062937
出願日
2024-04-09
発明の名称
接合構造
出願人
鹿島建設株式会社
代理人
個人
主分類
E04B
2/56 20060101AFI20251015BHJP(建築物)
要約
【課題】RC耐震壁を鉄骨造のフレームに強固に接合できる接合構造等を提供する。
【解決手段】接合構造10は、鉄骨造の柱21と梁22を有するフレーム2と、フレーム2の構面内に配置されたRC耐震壁1とを接合するものである。RC耐震壁1には開口部3が設けられ、柱21と梁22のRC耐震壁1側には孔あき鋼板23が設けられる。また開口部3の開口縁に沿ってRC耐震壁1に補強筋12が埋設される。接合構造10では、補強筋12の一端と孔あき鋼板23との間で、RC耐震壁1のコンクリートを介して補強筋12の軸方向に応力の伝達を行うことで、RC耐震壁1が柱21や梁22に固定される。
【選択図】図1
特許請求の範囲
【請求項1】
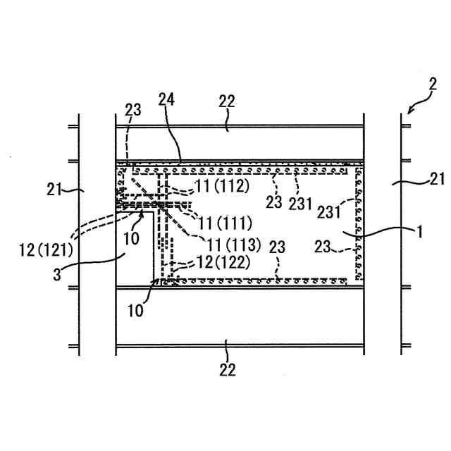
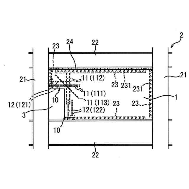
鉄骨造の柱または梁を少なくとも有するフレームと、前記フレームに囲まれるように当該フレームの構面内に配置された鉄筋コンクリート造の耐震壁との接合構造であって、
前記耐震壁に開口部が設けられ、
前記鉄骨造の柱または梁の前記耐震壁側に、孔あき鋼板が設けられ、
前記開口部の開口縁に沿って、または前記開口縁に沿って配置された前記開口縁のひび割れ防止用の鉄筋に沿って、前記耐震壁に補強筋が埋設され、
前記補強筋の一端と、前記孔あき鋼板との間で、前記耐震壁のコンクリートを介して前記補強筋の軸方向に応力の伝達を行うことで、前記耐震壁が前記鉄骨造の柱または梁に固定されることを特徴とする接合構造。
続きを表示(約 460 文字)
【請求項2】
前記孔あき鋼板は、その板面を前記構面の面内方向として配置され、
前記孔あき鋼板の孔に、貫通筋が通され、
前記補強筋の一端は、前記鉄骨造の柱または梁側から前記貫通筋に被せるように配置されるフックを有することを特徴とする請求項1記載の接合構造。
【請求項3】
前記補強筋の一端にフックが設けられ、
前記補強筋は、前記孔あき鋼板の孔に通して配置されることを特徴とする請求項1記載の接合構造。
【請求項4】
前記開口部の開口縁に沿って、前記耐震壁に、前記開口縁のひび割れ防止用の鉄筋が埋設され、
前記補強筋は、当該鉄筋とは別に設けられることを特徴とする請求項1記載の接合構造。
【請求項5】
前記補強筋は、前記フックが前記鉄骨造の柱または梁に接するように配置されることを特徴とする請求項2記載の接合構造。
【請求項6】
前記開口部は、前記鉄骨造の柱または梁の近傍に設けられることを特徴とする請求項1記載の接合構造。
発明の詳細な説明
【技術分野】
【0001】
本発明は、開口部を有する耐震壁とフレームとの接合構造に関する。
続きを表示(約 1,500 文字)
【背景技術】
【0002】
RC(鉄筋コンクリート)造やSRC(鉄骨鉄筋コンクリート)造の柱と梁によるフレームを有する架構において、フレームの構面内にRC造の耐震壁(以下、RC耐震壁ということがある)が設けられる場合がある。
【0003】
RC耐震壁に開口部を設ける場合、開口縁のひび割れを防止するための開口補強筋をRC耐震壁のコンクリート内に埋設する(例えば、特許文献1参照)。開口部がフレームの柱や梁に近い位置にある場合は、開口補強筋の端部をフレームの柱や梁に定着することで、RC耐震壁をフレームに強固に接合でき、RC耐震壁のフレームからの浮き上がりを防止できる。
【先行技術文献】
【特許文献】
【0004】
特開2016-142021号公報
【発明の概要】
【発明が解決しようとする課題】
【0005】
フレームが鉄骨造になると、開口補強筋をフレームの鉄骨梁や鉄骨柱に定着することが難しく、このようなケースでもRC耐震壁をフレームに強固に接合し、RC耐震壁のフレームからの浮き上がりを防止できる方法が求められていた。
【0006】
本発明は上記の問題に鑑みてなされたものであり、RC耐震壁を鉄骨造のフレームに強固に接合できる接合構造等を提供することを目的とする。
【課題を解決するための手段】
【0007】
鉄骨造の柱または梁を少なくとも有するフレームと、前記フレームに囲まれるように当該フレームの構面内に配置された鉄筋コンクリート造の耐震壁との接合構造であって、前記耐震壁に開口部が設けられ、前記鉄骨造の柱または梁の前記耐震壁側に、孔あき鋼板が設けられ、前記開口部の開口縁に沿って、または前記開口縁に沿って配置された前記開口縁のひび割れ防止用の鉄筋に沿って、前記耐震壁に補強筋が埋設され、前記補強筋の一端と、前記孔あき鋼板との間で、前記耐震壁のコンクリートを介して前記補強筋の軸方向に応力の伝達を行うことで、前記耐震壁が前記鉄骨造の柱または梁に固定されることを特徴とする接合構造である。
【0008】
本発明では、鉄骨造のフレームとその構面内のRC耐震壁との間で、上記のように、RC耐震壁の開口縁等に沿った補強筋と孔あき鋼板を用いた接合を行い、補強筋と孔あき鋼板の間でRC耐震壁のコンクリート等を介して補強筋の軸方向に応力を伝達する。これによりRC耐震壁をフレームに固定し、前記のように開口補強筋の定着ができない鉄骨造のフレームにおいても、RC耐震壁のフレームからの浮き上がりを防止できる。
【0009】
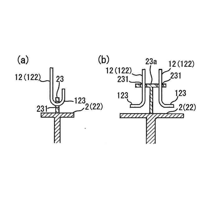
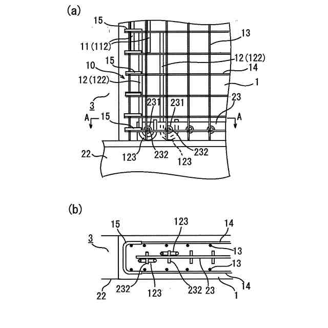
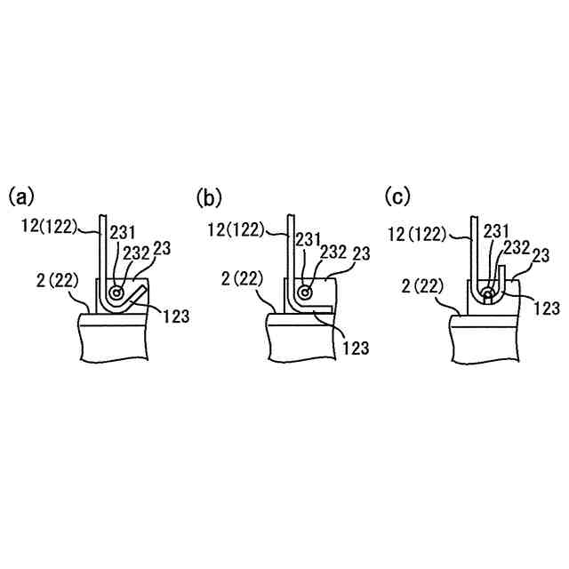
前記孔あき鋼板は、その板面を前記構面の面内方向として配置され、前記孔あき鋼板の孔に、貫通筋が通され、前記補強筋の一端は、前記鉄骨造の柱または梁側から前記貫通筋に被せるように配置されるフックを有することが望ましい。前記補強筋は、前記フックが前記鉄骨造の柱または梁に接するように配置されることも望ましい。
前記の補強筋は一端にフックを有するものとし、孔あき鋼板の孔に通した貫通筋にこのフックをフレーム側から被せるように配置することで、補強筋と孔あき鋼板との間で、RC耐震壁のコンクリートと貫通筋を介した応力の伝達が可能となる。またフックはフレームに接するように配置することで、補強筋の施工が容易になる。
【0010】
前記補強筋の一端にフックが設けられ、前記補強筋は、前記孔あき鋼板の孔に通して配置されることも望ましい。
この場合、フックと孔あき鋼板の間で、RC耐震壁のコンクリートを介した応力の伝達が可能となる。
(【0011】以降は省略されています)
この特許をJ-PlatPat(特許庁公式サイト)で参照する
関連特許
鹿島建設株式会社
接合構造
1か月前
鹿島建設株式会社
接続方法
14日前
鹿島建設株式会社
解体方法
1か月前
鹿島建設株式会社
構築方法
28日前
鹿島建設株式会社
制震架構
1か月前
鹿島建設株式会社
過重力施設
1か月前
鹿島建設株式会社
塔状構造物
13日前
鹿島建設株式会社
床版架設方法
1か月前
鹿島建設株式会社
空調システム
2か月前
鹿島建設株式会社
シールド掘進機
1か月前
鹿島建設株式会社
柱建て込み方法
2か月前
鹿島建設株式会社
壁高欄の施工方法
6日前
鹿島建設株式会社
微生物培養システム
今日
鹿島建設株式会社
ワイヤレス給電システム
2か月前
鹿島建設株式会社
接続方法および接続構造
1か月前
鹿島建設株式会社
運搬台車および運搬方法
2か月前
鹿島建設株式会社
橋、および橋の製造方法
1か月前
鹿島建設株式会社
接続方法および接続構造
2か月前
鹿島建設株式会社
基礎構造および構築方法
5日前
鹿島建設株式会社
作業サイクル分析システム
1か月前
鹿島建設株式会社
コンクリートの充填監視方法
5日前
鹿島建設株式会社
コンクリート構造物構築方法
27日前
鹿島建設株式会社
壁体の構築方法およびタンク
1か月前
鹿島建設株式会社
鋼管柱の接合方法、及び鋼管柱
1か月前
鹿島建設株式会社
品質評価装置および品質評価方法
1か月前
鹿島建設株式会社
水硬性硬化体の炭酸化養生システム
1か月前
鹿島建設株式会社
盛土評価システムおよび盛土評価方法
1か月前
鹿島建設株式会社
生態系環境改善部材及び生態系環境改善構造
26日前
鹿島建設株式会社
作業計画支援方法及び作業計画支援プログラム
5日前
鹿島道路株式会社
コンクリート舗装の養生方法
1か月前
鹿島建設株式会社
二酸化炭素の回収方法、二酸化炭素回収システム
27日前
鹿島道路株式会社
コンクリート舗装の養生方法
1か月前
鹿島道路株式会社
アスファルト混合物の製造方法
1か月前
鹿島建設株式会社
環境音モニタ装置、環境音モニタ方法及びプログラム
1か月前
ゼネラルヒートポンプ工業株式会社
ヒートポンプシステム
1か月前
ケイミューシポレックス株式会社
軽量気泡コンクリートの製造方法
1か月前
続きを見る
他の特許を見る