TOP
|
特許
|
意匠
|
商標
特許ウォッチ
Twitter
他の特許を見る
10個以上の画像は省略されています。
公開番号
2025155315
公報種別
公開特許公報(A)
公開日
2025-10-14
出願番号
2024059088
出願日
2024-04-01
発明の名称
過重力施設
出願人
鹿島建設株式会社
代理人
個人
,
個人
,
個人
主分類
A63B
26/00 20060101AFI20251006BHJP(スポーツ;ゲーム;娯楽)
要約
【課題】過重力下における利用者の運動の自由を確保し易い過重力施設を提供する。
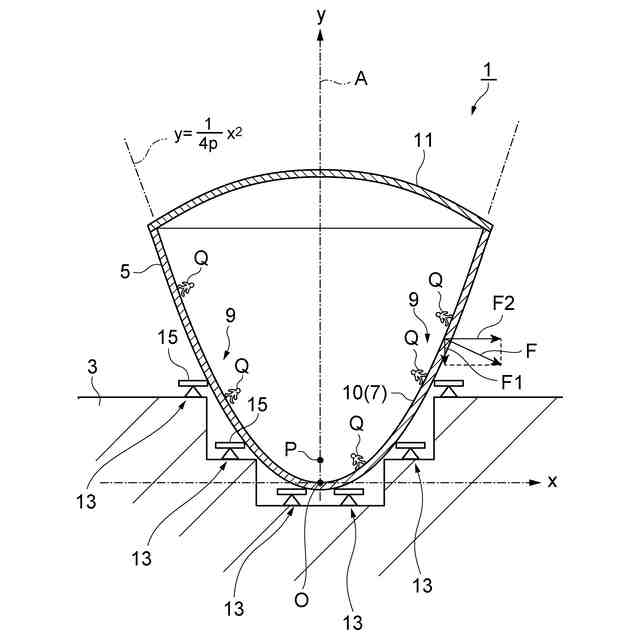
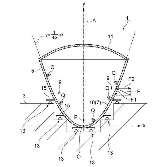
【解決手段】過重力施設1は、地球上で地球の重力よりも大きい人工重力Fを発生させる過重力設備であって、鉛直な回転軸線A周りに回転する回転体5を備え、地球の重力F1と回転体5の回転による遠心力F2との合力として回転体5の内側の床面10上に人工重力Fを発生させ、回転軸線Aに直交する断面図において、床面10は回転軸線Aを中心とする円に沿って延び、回転軸線Aを含む断面図において、床面10は外側に向けて膨らむ曲線をなしている。
【選択図】図2
特許請求の範囲
【請求項1】
地球上で前記地球の重力よりも大きい人工重力を発生させる過重力施設であって、
鉛直な回転軸線周りに回転する回転体を備え、前記地球の重力と前記回転体の回転による遠心力との合力として前記回転体の内側の基礎面上に前記人工重力を発生させ、
前記回転軸線に直交する断面図において、前記基礎面は前記回転軸線を中心とする円に沿って延び、
前記回転軸線を含む断面図において、前記基礎面は外側に向けて膨らむ曲線をなしている、過重力施設。
続きを表示(約 1,100 文字)
【請求項2】
前記基礎面は、放物線を前記回転軸線周りに回転させてなる回転放物面の少なくとも一部である、請求項1に記載の過重力施設。
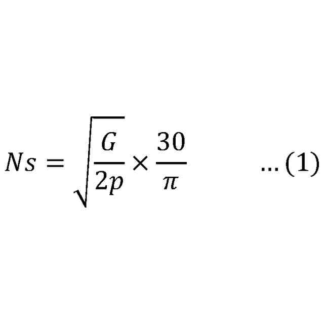
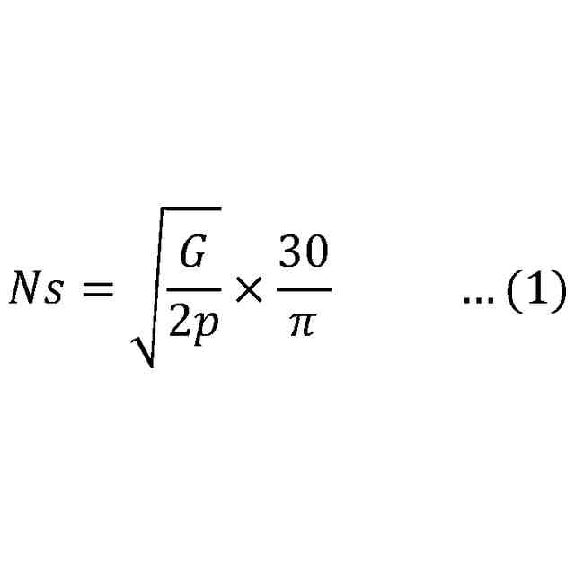
【請求項3】
前記回転放物面の底部から焦点までの高さをp[m]とし、地球の重力加速度をG[m/s
2
]としたとき、
前記回転体の回転数Ns[rpm]が下式(1)で表される、請求項2に記載の過重力施設。
TIFF
2025155315000004.tif
15
149
【請求項4】
前記回転体の外側を前記回転体の回転周方向に移動する移動体と、
前記回転体に設置され、前記移動体から乗り移った入場者又は搬入物を前記基礎面を貫通して前記回転体の内側に移動させることが可能であるとともに、前記回転体の内側から前記基礎面を貫通して外側に移動させた退場者及び搬出物を前記移動体に乗り移らせることが可能な入退場部と、を備える、請求項1に記載の過重力施設。
【請求項5】
前記移動体は、前記地球に対して不動で前記回転体の外側に位置する走行路上を前記回転体の回転周方向に走行する走行車両であり、
前記回転軸線を含む断面図における前記走行路は、上に行くほど前記回転軸線から回転径方向に離れる形状をなしており、
前記断面図における前記走行路の下端部の接線は略水平であり、
前記断面図における前記走行路の上端部の接線は、当該上端部において前記移動体の角速度が前記回転体の角速度に等しいときに当該移動体に作用する遠心力と前記地球の重力との合力の方向に略直交している、請求項4に記載の過重力施設。
【請求項6】
前記基礎面には前記人工重力の方向に立ち上がり前記基礎面を子午方向に仕切る複数の仕切り壁が設けられており、
前記人工重力の方向から見て、前記仕切り壁は、前記回転体の周方向に延びる部分と前記子午方向に延びる部分とが連なって構成されており、
前記仕切り壁で仕切られた1つの領域は、前記子午方向に幅広の部屋部分と、前記部屋部分同士を回転周方向に接続する接続通路と、が交互に連なって構成されている、請求項1に記載の過重力施設。
【請求項7】
前記仕切り壁のうち前記子午方向に延びる部分には、隣接する前記領域同士を移動可能とする出入口が設けられている、請求項6に記載の過重力施設。
【請求項8】
前記基礎面は、前記回転軸線上に中心をもつ球面の少なくとも一部である、請求項1に記載の過重力施設。
発明の詳細な説明
【技術分野】
【0001】
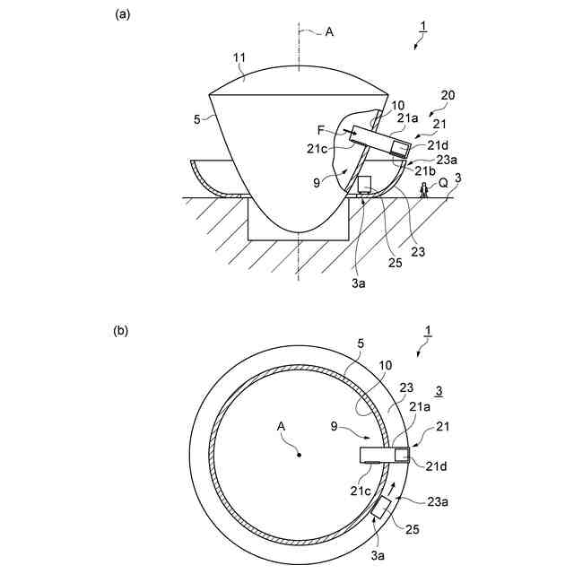
本発明は、過重力施設に関するものである。
続きを表示(約 1,800 文字)
【背景技術】
【0002】
従来、このような分野の技術として、下記特許文献1に記載の過重力環境付与トレーニング装置が知られている。この装置は、回転軸を中心に回転する回転盤と、回転盤に設けられた複数の過重力室とを備えている。過重力室内にはトレーニング室が設けられており、トレーニング室の床の傾斜が角度調整機器によって調整可能である。回転盤及び過重力室の回転による遠心力と重力との合力が人工重力としてトレーニング室内に発生し、この人工重力がトレーニング室の床に垂直に加わるように床の傾斜が調整される。
【先行技術文献】
【特許文献】
【0003】
特開2019-187782号公報
【発明の概要】
【発明が解決しようとする課題】
【0004】
しかしながら、この装置の構造では利用者の自由な運動の空間を確保し難い。例えば、利用者の骨密度向上を目的とするトレーニングの場合、利用者が過重力下に居るだけでなく、過重力下で歩いたり飛んだり階段を上ったりするといった大きな動作を伴う活動が望まれる。ところが、この装置の構造ではトレーニング室のスペースの拡大にも限界があり、上記のような十分な空間の確保は難しい。そこで、本発明は、過重力下における利用者の運動の自由を確保し易い過重力施設を提供することを目的とする。
【課題を解決するための手段】
【0005】
本発明の要旨は以下の〔1〕~〔8〕に存する。
【0006】
〔1〕 地球上で前記地球の重力よりも大きい人工重力を発生させる過重力設備であって、鉛直な回転軸線周りに回転する回転体を備え、前記地球の重力と前記回転体の回転による遠心力との合力として前記回転体の内側の基礎面上に前記人工重力を発生させ、前記回転軸線に直交する断面図において、前記基礎面は前記回転軸線を中心とする円に沿って延び、前記回転軸線を含む断面図において、前記基礎面は外側に向けて膨らむ曲線をなしている、過重力施設。
【0007】
基礎面の面内方向のうち回転周方向に直交する方向を以下では「子午方向(meridionaldirection)」と言う。この過重力施設によれば、回転周方向における基礎面の長さ及び子午方向における基礎面の幅を確保することで、過重力下において基礎面上での利用者の運動の自由を確保することができる。但し、利用者が基礎面上を子午方向に移動した場合には基礎面と人工重力との交差角度が変動する場合がある。これに対し、上記〔1〕の過重力施設では、回転軸線を含む断面図において基礎面が外側に向けて膨らむ曲線をなしているので、子午方向に移動した場合における基礎面と人工重力との交差角度の変動が軽減される。
【0008】
〔2〕 前記基礎面は、放物線を前記回転軸線周りに回転させてなる回転放物面の少なくとも一部である、〔2〕に記載の過重力施設。
【0009】
この場合、回転放物面の性質により、回転体の回転数について、基礎面上のすべての地点で同時に基礎面に垂直な人工重力が得られるといった特殊な回転数が存在する。すなわち、回転体の回転数を適切に選択することで、基礎面上のすべての地点で同時に基礎面に垂直な人工重力が得られるといった設定が可能である。このような設定によれば、基礎面上のすべての利用者は、身体の上下方向を基礎面に直交させる姿勢で真っ直ぐに立つことができる。従って、すべての利用者は、基礎面上において地上の水平面上と同様の自然な動作が可能である。このように、自然な動作を可能にする過重力環境を、多数の利用者に対して同時に提供することができる。
【0010】
また、利用者が基礎面上で比較的大きく移動する場合にも、人工重力が基礎面に垂直である状態は常に維持される。従って、利用者から見て基礎面が水平面に感じられ、利用者は地上の水平面上と同様の自然な動作が可能である。また、利用者が基礎面上で子午方向に移動すれば、その滞在場所の人工重力の大きさが変化する。よって、利用者は、基礎面上を子午方向に移動するといった簡易な方法によって自身に作用する人工重力の大きさを調整することができる。
(【0011】以降は省略されています)
この特許をJ-PlatPat(特許庁公式サイト)で参照する
関連特許
鹿島建設株式会社
構築方法
25日前
鹿島建設株式会社
解体方法
1か月前
鹿島建設株式会社
接続方法
11日前
鹿島建設株式会社
接合構造
1か月前
鹿島建設株式会社
制震架構
1か月前
鹿島建設株式会社
過重力施設
1か月前
鹿島建設株式会社
塔状構造物
10日前
鹿島建設株式会社
空調システム
1か月前
鹿島建設株式会社
床版架設方法
1か月前
鹿島建設株式会社
柱建て込み方法
2か月前
鹿島建設株式会社
シールド掘進機
1か月前
鹿島建設株式会社
壁高欄の施工方法
3日前
鹿島建設株式会社
基礎構造および構築方法
2日前
鹿島建設株式会社
接続方法および接続構造
1か月前
鹿島建設株式会社
橋、および橋の製造方法
1か月前
鹿島建設株式会社
運搬台車および運搬方法
2か月前
鹿島建設株式会社
ワイヤレス給電システム
2か月前
鹿島建設株式会社
接続方法および接続構造
2か月前
鹿島建設株式会社
作業サイクル分析システム
1か月前
鹿島建設株式会社
壁体の構築方法およびタンク
1か月前
鹿島建設株式会社
コンクリート構造物構築方法
24日前
鹿島建設株式会社
コンクリートの充填監視方法
2日前
鹿島建設株式会社
鋼管柱の接合方法、及び鋼管柱
1か月前
鹿島建設株式会社
品質評価装置および品質評価方法
1か月前
鹿島建設株式会社
水処理システムおよび水処理方法
2か月前
鹿島建設株式会社
水硬性硬化体の炭酸化養生システム
1か月前
鹿島建設株式会社
盛土評価システムおよび盛土評価方法
1か月前
鹿島建設株式会社
生態系環境改善部材及び生態系環境改善構造
23日前
鹿島建設株式会社
作業計画支援方法及び作業計画支援プログラム
2日前
鹿島建設株式会社
二酸化炭素の回収方法、二酸化炭素回収システム
24日前
鹿島道路株式会社
コンクリート舗装の養生方法
1か月前
鹿島道路株式会社
コンクリート舗装の養生方法
1か月前
鹿島道路株式会社
アスファルト混合物の製造方法
1か月前
鹿島建設株式会社
環境音モニタ装置、環境音モニタ方法及びプログラム
1か月前
ゼネラルヒートポンプ工業株式会社
ヒートポンプシステム
1か月前
ケイミューシポレックス株式会社
軽量気泡コンクリートの製造方法
1か月前
続きを見る
他の特許を見る