TOP
|
特許
|
意匠
|
商標
特許ウォッチ
Twitter
他の特許を見る
10個以上の画像は省略されています。
公開番号
2025158413
公報種別
公開特許公報(A)
公開日
2025-10-17
出願番号
2024060923
出願日
2024-04-04
発明の名称
解体方法
出願人
鹿島建設株式会社
代理人
個人
主分類
E04G
23/08 20060101AFI20251009BHJP(建築物)
要約
【課題】既存のCFT柱を容易に解体できる解体方法を提供する。
【解決手段】多角形状の断面を有する鋼管10内にコンクリート20を充填したCFT柱1を解体する際、設置箇所から撤去したCFT柱1を解体箇所2に寝かせて配置する工程と、寝かせて配置したCFT柱1の鋼管10の第1の面に形成した孔3から、鋼管10の内部のコンクリート20に、鋼管10の第1の面と隣接する第2の面に沿ったコア孔4を形成し、コア孔4内に導爆線5を配置する工程と、導爆線5を用い、第2の面をコンクリート20から分離させる工程と、を実施する。
【選択図】図4
特許請求の範囲
【請求項1】
鋼管内にコンクリートを充填したコンクリート充填鋼管柱の解体方法であって、
設置箇所から撤去した前記コンクリート充填鋼管柱を解体箇所に寝かせて配置する工程(a)と、
寝かせて配置した前記コンクリート充填鋼管柱の鋼管に形成した孔から、前記鋼管の内部のコンクリートにコア孔を形成し、前記コア孔内に火薬類または非火薬破砕剤を配置する工程(b)と、
前記火薬類または非火薬破砕剤を用い、前記鋼管と前記コンクリートを分離させる工程(c)と、
を有することを特徴とする解体方法。
続きを表示(約 1,000 文字)
【請求項2】
前記鋼管は多角形状の断面を有し、
前記工程(b)では、寝かせて配置した前記コンクリート充填鋼管柱の前記鋼管の第1の面に形成した前記孔から、前記鋼管の前記第1の面と隣接する第2の面に沿った前記コア孔を形成し、
前記工程(c)では、前記第2の面を前記コンクリートから分離させることを特徴とする請求項1記載の解体方法。
【請求項3】
前記工程(c)において、前記第2の面と前記第1の面との間に前記孔の位置から前記コンクリート充填鋼管柱の軸方向に延びる亀裂を発生させることを特徴とする請求項2記載の解体方法。
【請求項4】
複数の前記コア孔が、前記鋼管の異なる側面を前記第1の面として形成され、
全ての前記第1の面が、前記鋼管の側面のうち、前記解体箇所に載置される載置面以外の側面であることを特徴とする請求項2記載の解体方法。
【請求項5】
複数の前記コア孔が、前記鋼管の異なる側面を前記第1の面として形成され、
前記鋼管の側面のうちの一面である載置面を前記解体箇所に載置した状態で、前記載置面以外の前記鋼管の側面を前記第1の面として前記コア孔を形成した後、
前記鋼管を軸周りに回転させ、前記鋼管の側面のうち前記載置面と異なる別の載置面を前記解体箇所に載置した状態で、元の前記載置面を前記第1の面として前記コア孔を形成することを特徴とする請求項2記載の解体方法。
【請求項6】
前記鋼管は矩形状の断面を有し、
前記コア孔は、前記工程(c)において、前記第2の面であるL字状に連続した前記鋼管の2つの側面の組が、2組、前記コンクリートから分離するように形成されることを特徴とする請求項3記載の解体方法。
【請求項7】
前記鋼管は矩形状の断面を有し、
前記コア孔は、前記工程(c)において、前記第2の面である前記鋼管の4つの側面が別々に前記コンクリートから分離するように形成されることを特徴とする請求項3記載の解体方法。
【請求項8】
前記工程(c)において、前記鋼管を外側から拘束し、前記コンクリートを前記鋼管の軸方向の端部に向けて押し出すことを特徴とする請求項1記載の解体方法。
【請求項9】
前記工程(c)の後、前記鋼管から分離したコンクリートを破砕して取り除くことを特徴とする請求項1記載の解体方法。
発明の詳細な説明
【技術分野】
【0001】
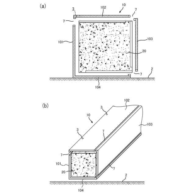
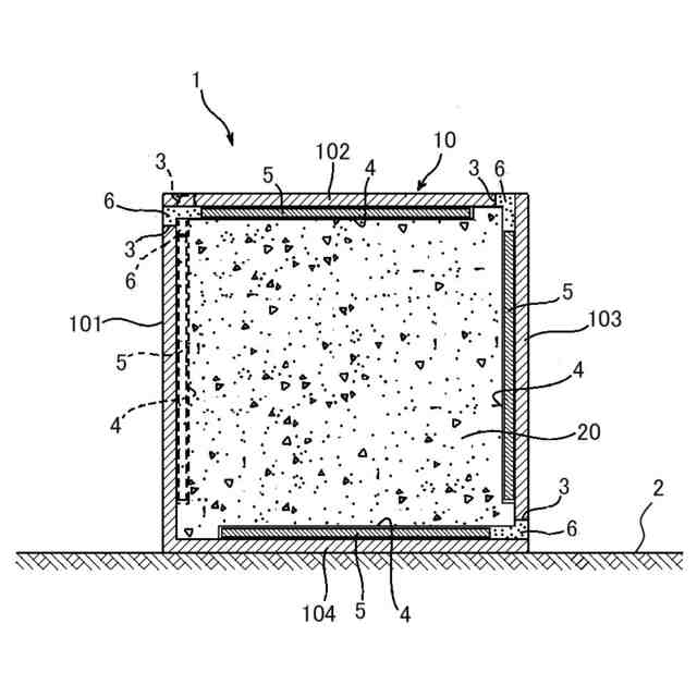
本発明は、コンクリート充填鋼管柱の解体方法に関する。
続きを表示(約 1,400 文字)
【背景技術】
【0002】
コンクリート充填鋼管柱(以下、CFT柱と称する)は、鋼管の内部にコンクリートを充填した柱である。CFT柱の解体時には、鋼管とコンクリートを分別する必要がある。そのため、鋼管の側面をガス溶断などにより切断して取り外し、内部のコンクリートを露出させたうえで解体重機によるコンクリートの圧砕を行っている。
【0003】
また特許文献1には、CFT柱の解体を鋼管のガス溶断とコンクリートの破壊によって行い、CFT柱の製造時に予め鋼管の内周部に可燃性もしくは空隙率の高い材料を設けておくことで、鋼管の溶断作業を効率化することが記載されている。
【先行技術文献】
【特許文献】
【0004】
特開平3-212511号公報
【発明の概要】
【発明が解決しようとする課題】
【0005】
CFT柱では鋼管とコンクリートとの付着強度が強いため、従来の解体方法では重機のみでコンクリートを除去しきれず、鋼管の隅角部などに残ったコンクリートを電動ピック等で人力により除去する必要がある。
【0006】
また、CFT柱では鋼管とコンクリートの間に隙間が無く、鋼管のガス溶断を行う際にガスがコンクリートに当たって跳ね返されてしまい、溶断効率が上がらない。特許文献1の方法では、溶断効率を上げるため、CFT柱の製造時に予め可燃物や空隙を有する材料を鋼管の内周部に設けておくが、CFT柱の製造に手間がかかる。
【0007】
本発明は上記の問題に鑑みてなされたものであり、既存のCFT柱を容易に解体できる解体方法を提供することを目的とする。
【課題を解決するための手段】
【0008】
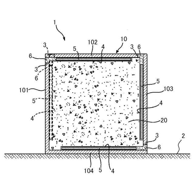
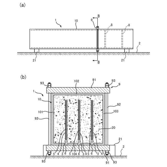
前述した課題を解決するための本発明は、鋼管内にコンクリートを充填したコンクリート充填鋼管柱の解体方法であって、設置箇所から撤去した前記コンクリート充填鋼管柱を解体箇所に寝かせて配置する工程(a)と、寝かせて配置した前記コンクリート充填鋼管柱の鋼管に形成した孔から、前記鋼管の内部のコンクリートにコア孔を形成し、前記コア孔内に火薬類または非火薬破砕剤を配置する工程(b)と、前記火薬類または非火薬破砕剤を用い、前記鋼管と前記コンクリートを分離させる工程(c)と、を有することを特徴とする解体方法である。
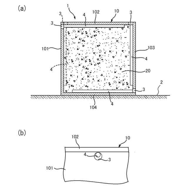
【0009】
本発明では、コンクリート充填鋼管柱の解体時に、コンクリート充填鋼管柱を設置箇所から撤去し解体箇所に寝かせて配置した後、コンクリート内に設けた火薬類や非火薬破砕剤の破砕力により鋼管とコンクリートの付着を破断し、鋼管とコンクリートを効率的に分離でき、両者を分別しての解体作業が容易になる。
【0010】
例えば、前記鋼管は多角形状の断面を有し、前記工程(b)では、寝かせて配置した前記コンクリート充填鋼管柱の前記鋼管の第1の面に形成した前記孔から、前記鋼管の前記第1の面と隣接する第2の面に沿った前記コア孔を形成し、前記工程(c)では、前記第2の面を前記コンクリートから分離させる。
このように、鋼管の側面に沿ったコア孔に設けた火薬類や非火薬破砕剤を用いることで、鋼管の当該側面とコンクリートを分離しやすくなる。
(【0011】以降は省略されています)
この特許をJ-PlatPat(特許庁公式サイト)で参照する
関連特許
鹿島建設株式会社
生態系環境改善部材及び生態系環境改善構造
9日前
個人
接合構造
1か月前
個人
屋台
1か月前
個人
タッチミー
1か月前
個人
野良猫ハウス
2か月前
個人
転落防止用手摺
2か月前
個人
安心補助てすり
24日前
個人
フェンス
3か月前
個人
ベンリナアングル
1か月前
個人
居住車両用駐車場
2か月前
個人
地下型マンション
4か月前
積水樹脂株式会社
柵体
2か月前
個人
筋交自動設定装置
1か月前
ニチハ株式会社
建築板
2か月前
個人
鋼管結合資材
4か月前
株式会社タナクロ
テント
4か月前
個人
熱抵抗多層断熱建材
2か月前
個人
柵
3か月前
個人
補強部材
2か月前
個人
防災建築物
1か月前
個人
身体用シェルター
1か月前
鹿島建設株式会社
壁体
2か月前
株式会社シンケン
住宅
25日前
個人
身体用シェルター
1か月前
成友建設株式会社
建物
2か月前
個人
循環流水式屋根融雪装置
4か月前
三協立山株式会社
構造体
4日前
三協立山株式会社
構造体
1か月前
三協立山株式会社
構造体
25日前
三協立山株式会社
構造体
9日前
個人
可搬型供養墓
1か月前
三協立山株式会社
構造体
1か月前
三協立山株式会社
構造体
1か月前
インターマン株式会社
天井構造
3か月前
イワブチ株式会社
組立柱
2か月前
三洋工業株式会社
床構造
25日前
続きを見る
他の特許を見る