TOP
|
特許
|
意匠
|
商標
特許ウォッチ
Twitter
他の特許を見る
公開番号
2025171364
公報種別
公開特許公報(A)
公開日
2025-11-20
出願番号
2024076611
出願日
2024-05-09
発明の名称
塔状構造物
出願人
鹿島建設株式会社
,
カナデビア株式会社
代理人
個人
,
個人
,
個人
,
個人
主分類
B63B
35/38 20060101AFI20251113BHJP(船舶またはその他の水上浮揚構造物;関連艤装品)
要約
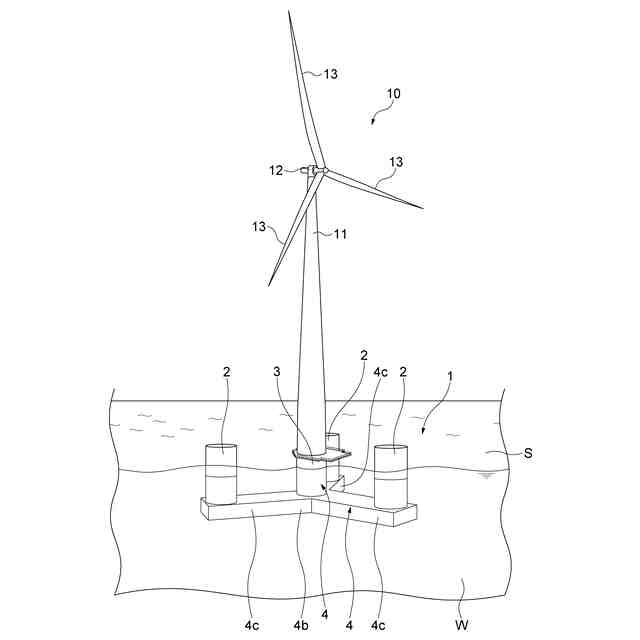
【課題】止水性および耐久性を高めるとともに、鋼板の板厚を薄くできる塔状構造物を提供することを目的とする。
【解決手段】一実施形態に係る塔状構造物は、水中Wに設けられるとともに水面Sから上方に突出するコラム3である。コラム3は、水面Sから上方に突出する外側鋼管5と、平面視における外側鋼管5の内側に設けられており、水面Sから上方に突出する内側鋼管6と、外側鋼管5と内側鋼管6との間に形成された空間Kに充填されるセメント系材料Cと、を備える。
【選択図】図3
特許請求の範囲
【請求項1】
水中に設けられるとともに水面から上方に突出する塔状構造物であって、
前記水面から上方に突出する外側鋼管と、
平面視における前記外側鋼管の内側に設けられており、前記水面から上方に突出する内側鋼管と、
前記外側鋼管と前記内側鋼管との間に形成された空間に充填されるセメント系材料と、
を備える、
塔状構造物。
続きを表示(約 450 文字)
【請求項2】
前記外側鋼管、前記内側鋼管および前記セメント系材料は、洋上風力発電機の基礎構造を構成する、
請求項1に記載の塔状構造物。
【請求項3】
前記外側鋼管、前記内側鋼管および前記セメント系材料は、前記水中に浮かぶ浮体式基礎を構成する、
請求項1または請求項2に記載の塔状構造物。
【請求項4】
前記外側鋼管と前記内側鋼管との間に位置しており、前記外側鋼管の内面、および前記内側鋼管の外面の少なくともいずれかに固定されたずれ止め部材を備える、
請求項1または請求項2に記載の塔状構造物。
【請求項5】
前記外側鋼管と前記内側鋼管との間に位置しており、前記外側鋼管の内面、および前記内側鋼管の外面に固定された補強鋼板を備える、
請求項1または請求項2に記載の塔状構造物。
【請求項6】
前記外側鋼管と前記内側鋼管との間に位置する鉄筋を備える、
請求項1または請求項2に記載の塔状構造物。
発明の詳細な説明
【技術分野】
【0001】
本開示は、水中に設けられる塔状構造物に関する。
続きを表示(約 1,600 文字)
【背景技術】
【0002】
特許文献1には、浮体式風車支持システムが記載されている。浮体式風車支持システムは、風車のタワーを支持する基礎を有する浮体式風車プラットフォームを備える。基礎は、センターコラムと、センターコラムの下端から放射状に延び出す3つの底梁と、各底梁の端部に立設する3本のアウターコラムとを有する。センターコラムおよびアウターコラムは、中空とされている。センターコラムおよびアウターコラムは、FRP、鋼、または、プレストレス補強コンクリートとFRPと鋼とが組み合われたものから形成されている。
【0003】
特許文献2には、洋上風力発電施設の基礎構造である半潜水浮体式基礎が記載されている。半潜水浮体式基礎は、風車の支柱を支持するセンターカラムと、センターカラムを中心に間隔をあけて配設された3本のサイドカラムと、センターカラムおよびサイドカラムを互いに接続する3本のビームとを備える。センターカラムは、スラブと、スラブに立設された円筒状の本体部とを備える。本体部は、プレストレスコンクリート製である。
【先行技術文献】
【特許文献】
【0004】
特許第6562928号公報
特開2023-180624号公報
【発明の概要】
【発明が解決しようとする課題】
【0005】
前述した半潜水浮体式基礎のように、センターコラムがコンクリート製である場合、センターコラムにひび割れが生じる可能性があり、止水性および耐久性の点において改善の余地がある。一方、センターコラムが鋼製である場合、センターコラムでは、風車の揺れおよび荷重に耐える必要があるので、鋼管の板厚を厚くしなければならない場合がある。鋼管に対しては曲げ加工および溶接を行う必要があり、鋼管の板厚が厚くなると鋼管の製作のコストが増大する可能性がある。したがって、鋼板の板厚を薄くすることが求められる。
【0006】
本開示は、止水性および耐久性を高めるとともに、鋼板の板厚を薄くできる塔状構造物を提供することを目的とする。
【課題を解決するための手段】
【0007】
(1)本開示に係る塔状構造物は、水中に設けられるとともに水面から上方に突出する塔状構造物である。塔状構造物は、水面から上方に突出する外側鋼管と、平面視における外側鋼管の内側に設けられており、水面から上方に突出する内側鋼管と、外側鋼管と内側鋼管との間に形成された空間に充填されるセメント系材料と、を備える。
【0008】
この塔状構造物は、水面から上方に突出する外側鋼管と、水面から上方に突出する内側鋼管とを有する。内側鋼管は、平面視における外側鋼管の内側に配置されている。外側鋼管と内側鋼管との間に形成された空間にはセメント系材料が充填されている。よって、水中に外側鋼管の外面が設けられることにより、セメント系材料に生じるひび割れが塔状構造物の止水性および耐久性に影響しない。さらに、外側鋼管と内側鋼管との間にセメント系材料が充填されることで、外力に対して三者が一体となって抵抗できるため、外側鋼管および内側鋼管のそれぞれを構成する鋼板を薄くできる。したがって、鋼板の板厚を薄くして、鋼管の製作のコストを抑えることができる。
【0009】
(2)上記(1)において、外側鋼管、内側鋼管およびセメント系材料は、洋上風力発電機の基礎構造を構成してもよい。この場合、塔状構造物の内側鋼管の内側が空洞であることにより、洋上風力発電機の基礎構造における重量の増加を抑制できる。
【0010】
(3)上記(1)または(2)において、外側鋼管、内側鋼管およびセメント系材料は、水中に浮かぶ浮体式基礎を構成してもよい。この場合、塔状構造物の内側鋼管の内側が空洞であることにより、水中に浮かぶ浮体式基礎における重量の増加を抑制できる。
(【0011】以降は省略されています)
この特許をJ-PlatPat(特許庁公式サイト)で参照する
関連特許
鹿島建設株式会社
接合構造
1か月前
鹿島建設株式会社
接続方法
2日前
鹿島建設株式会社
制震架構
1か月前
鹿島建設株式会社
構築方法
16日前
鹿島建設株式会社
解体方法
1か月前
鹿島建設株式会社
塔状構造物
1日前
鹿島建設株式会社
熱回収方法
2か月前
鹿島建設株式会社
過重力施設
1か月前
鹿島建設株式会社
空調システム
1か月前
鹿島建設株式会社
床版架設方法
28日前
鹿島建設株式会社
トンネル掘削機
2か月前
鹿島建設株式会社
シールド掘進機
1か月前
鹿島建設株式会社
柱建て込み方法
1か月前
鹿島建設株式会社
計測装置及び計測方法
2か月前
鹿島建設株式会社
グラウチングシステム
2か月前
鹿島建設株式会社
グラウチングシステム
2か月前
鹿島建設株式会社
接続方法および接続構造
2か月前
鹿島建設株式会社
運搬台車および運搬方法
1か月前
鹿島建設株式会社
ワイヤレス給電システム
1か月前
鹿島建設株式会社
橋、および橋の製造方法
1か月前
鹿島建設株式会社
接続方法および接続構造
1か月前
鹿島建設株式会社
作業サイクル分析システム
28日前
鹿島建設株式会社
コンクリート構造物構築方法
15日前
鹿島建設株式会社
壁体の構築方法およびタンク
29日前
鹿島建設株式会社
鋼管柱の接合方法、及び鋼管柱
1か月前
鹿島建設株式会社
品質評価装置および品質評価方法
24日前
鹿島建設株式会社
水処理システムおよび水処理方法
2か月前
鹿島建設株式会社
水硬性硬化体の炭酸化養生システム
1か月前
鹿島建設株式会社
盛土評価システムおよび盛土評価方法
29日前
鹿島建設株式会社
生態系環境改善部材及び生態系環境改善構造
14日前
鹿島建設株式会社
鉱物含有量測定方法及び鉱物含有量測定装置
2か月前
鹿島道路株式会社
コンクリート舗装の養生方法
1か月前
鹿島建設株式会社
二酸化炭素の回収方法、二酸化炭素回収システム
15日前
鹿島道路株式会社
コンクリート舗装の養生方法
1か月前
鹿島道路株式会社
アスファルト混合物の製造方法
23日前
鹿島建設株式会社
環境音モニタ装置、環境音モニタ方法及びプログラム
1か月前
続きを見る
他の特許を見る