TOP
|
特許
|
意匠
|
商標
特許ウォッチ
Twitter
他の特許を見る
10個以上の画像は省略されています。
公開番号
2025178855
公報種別
公開特許公報(A)
公開日
2025-12-09
出願番号
2024085703
出願日
2024-05-27
発明の名称
整流壁の設置構造、整流壁の製造方法、及び整流壁の設置方法
出願人
鹿島建設株式会社
代理人
個人
,
個人
,
個人
,
個人
主分類
E03B
1/00 20060101AFI20251202BHJP(上水;下水)
要約
【課題】コストの増大を抑制しつつ施工性の向上を図ることができる整流壁の設置構造、整流壁の製造方法、及び整流壁の設置方法を提供する。
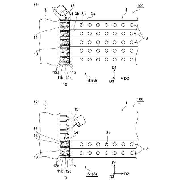
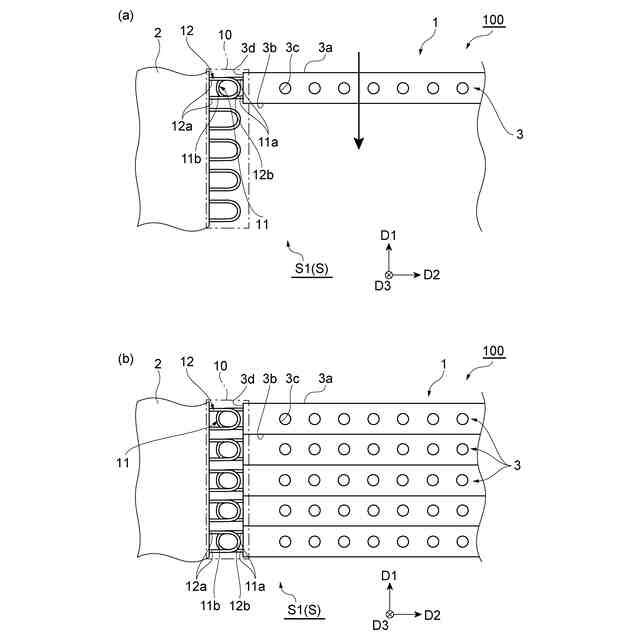
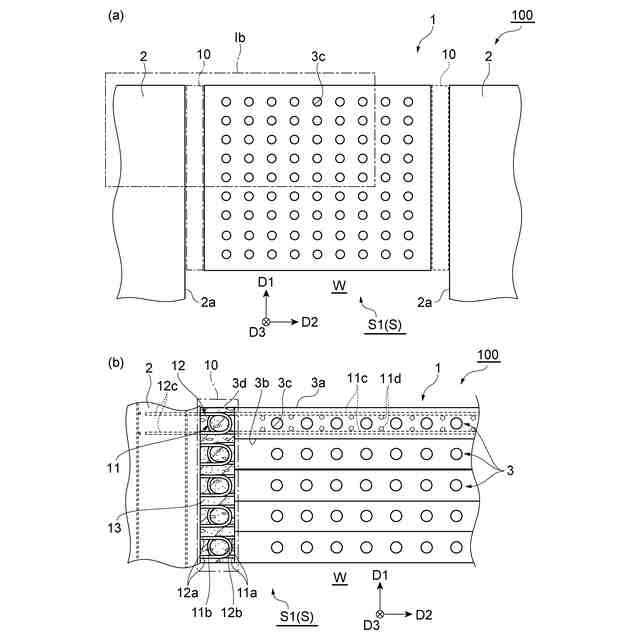
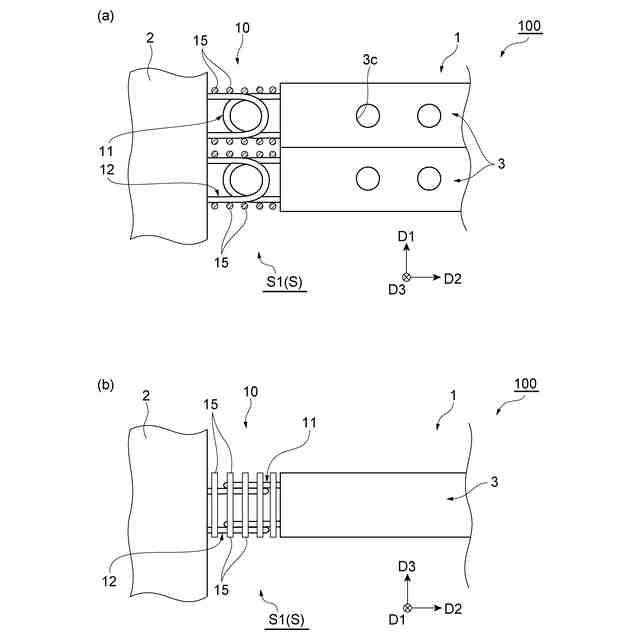
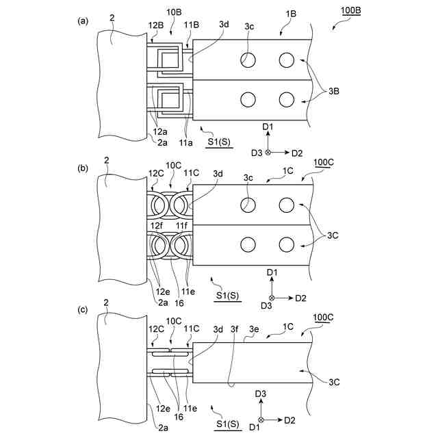
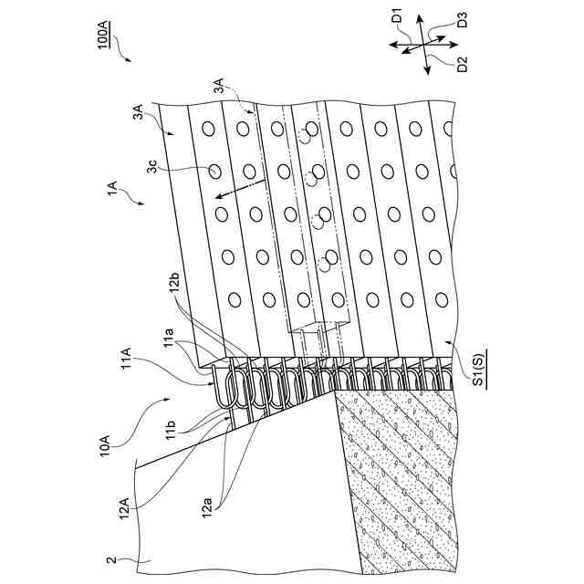
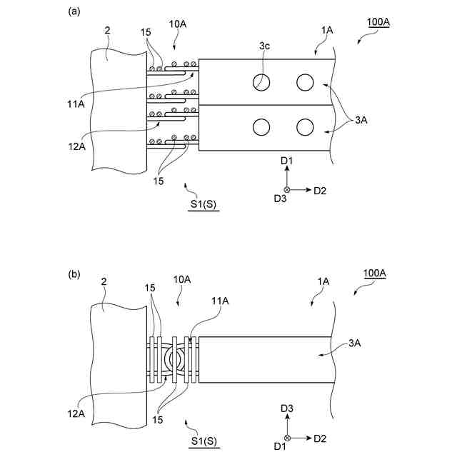
【解決手段】整流壁の設置構造100は、水流を整えるために水を通す貫通孔3cを有する整流壁1を浄水施設Sの水路S1に設置する構造である。整流壁の設置構造100は、水路S1の一対の側壁2を結ぶように延在する複数の整流壁本体3と、整流壁本体3と側壁2とを接合する接合部10と、を備える。接合部10は、整流壁本体3の端面3dから突出する第1ループ鉄筋11と、側壁2から突出する第2ループ鉄筋12と、第1ループ鉄筋11及び第2ループ鉄筋12を埋め込んで打設される間詰め材13と、を有する。
【選択図】図1
特許請求の範囲
【請求項1】
水流を整えるために水を通す貫通孔を有する整流壁を浄水施設の水路に設置する整流壁の設置構造であって、
前記水路の一対の側壁を結ぶように延在する複数の整流壁本体と、
前記整流壁本体と前記側壁とを接合する接合部と、を備え、
前記接合部は、前記整流壁本体の側端部から突出する第1ループ鉄筋と、前記側壁から突出する第2ループ鉄筋と、前記第1ループ鉄筋及び前記第2ループ鉄筋を埋め込んで打設される間詰め材と、を有する、整流壁の設置構造。
続きを表示(約 1,300 文字)
【請求項2】
前記第1ループ鉄筋及び前記第2ループ鉄筋は、鉛直面に沿って延びる仮想的なループ面を形成している、請求項1に記載の整流壁の設置構造。
【請求項3】
前記第1ループ鉄筋及び前記第2ループ鉄筋は、水平面に沿って延びる仮想的なループ面を形成している、請求項1に記載の整流壁の設置構造。
【請求項4】
前記第1ループ鉄筋及び前記第2ループ鉄筋は、仮想的なループ面を形成し、
前記ループ面の法線方向から見て、隣り合う前記第1ループ鉄筋及び前記第2ループ鉄筋は、前記接合部において互いに重複している、請求項1又は2に記載の整流壁の設置構造。
【請求項5】
前記第1ループ鉄筋及び前記第2ループ鉄筋は、仮想的なループ面を形成し、
前記ループ面の法線方向から見て、隣り合う前記第1ループ鉄筋及び前記第2ループ鉄筋は、前記接合部において互いに重複しておらず、
前記接合部は、前記ループ面の法線方向から見て、隣り合う前記第1ループ鉄筋及び前記第2ループ鉄筋の双方に重複する第3ループ鉄筋を有する、請求項1又は2に記載の整流壁の設置構造。
【請求項6】
前記第1ループ鉄筋及び前記第2ループ鉄筋は、仮想的なループ面を形成し、
前記接合部は、前記ループ面に交差するように前記第1ループ鉄筋及び前記第2ループ鉄筋の内側に配置された補強材を有する、請求項1又は2に記載の整流壁の設置構造。
【請求項7】
浄水施設の水路に設置され、水流を整えるために水を通す貫通孔を有する整流壁を製造する整流壁の製造方法であって、
前記水路の一対の側壁を結ぶように延在し、側端部が接合部によって一対の前記側壁とそれぞれ接合されることで前記整流壁を構成する複数の整流壁本体を製造する工程を備え、
前記整流壁本体を製造する工程は、
前記整流壁本体の外形を規定する型枠を配置する工程と、
前記外形のうち前記側端部となる部分に第1ループ鉄筋を配筋する工程と、
前記第1ループ鉄筋が前記側端部から突出するように前記型枠内にコンクリートを打設する工程と、を含み、
前記第1ループ鉄筋を配筋する工程では、前記第1ループ鉄筋として溶接閉鎖型鉄筋を用いる、整流壁の製造方法。
【請求項8】
水流を整えるために水を通す貫通孔を有する整流壁を浄水施設の水路に設置する整流壁の設置方法であって、
前記水路の一対の側壁を結ぶように複数の整流壁本体を延在させる配置工程と、
前記整流壁本体の側端部と一対の前記側壁とをそれぞれ接合する接合工程と、を備え、
前記配置工程では、前記整流壁本体の前記側端部から第1ループ鉄筋を突出させ、前記側壁から第2ループ鉄筋を突出させた状態で、前記整流壁本体を配置し、
前記接合工程では、
前記第1ループ鉄筋及び前記第2ループ鉄筋を埋め込む間詰め材を打設し、
前記間詰め材の打設では、複数の前記整流壁本体のうちの一部を対象にした前記打設を段階的に複数回行う、整流壁の設置方法。
発明の詳細な説明
【技術分野】
【0001】
本発明は、整流壁の設置構造、整流壁の製造方法、及び整流壁の設置方法に関する。
続きを表示(約 1,700 文字)
【背景技術】
【0002】
特許文献1には、プレキャスト化された複数の水平部材を積み上げて構成される整流壁を備える水処理用沈殿池が記載されている。
【先行技術文献】
【特許文献】
【0003】
特開2000-051610号公報
【発明の概要】
【発明が解決しようとする課題】
【0004】
上記従来技術では、沈殿池の流入口の近くに支柱及び角落としが設けられ、支柱の両側の凹溝及び角落としの凹溝に整流壁が挿入されて支持される。この構造の場合、凹溝を設ける対象によっては、例えば側壁の厚さに限りがある浄水施設の水路等、十分な差込み深さ(凹溝の深さ)を確保することが難しいことがある。更に、側壁が鉄筋コンクリートの場合、凹部を設けた側壁の鉄筋に継手等を設置する必要が生じ、その設置が難しいことがある。このように、整流壁の設置の施工性に改良の余地がある。
【0005】
また、側壁に凹溝を設けることに代えて、側壁に山形鋼等の形鋼を一対取付け、一対の形鋼の間に整流壁を落とし込む構造が考えられる。この場合、側壁に凹溝を設ける加工に伴う上記問題点は回避される一方で、浄水施設での使用に伴う鋼材の腐食対策を考慮するとステンレス鋼等の耐食性を有する形鋼が要され、コストの増大を招くおそれがある。
【0006】
本発明は、コストの増大を抑制しつつ施工性の向上を図ることができる整流壁の設置構造、整流壁の製造方法、及び整流壁の設置方法を提供することを目的とする。
【課題を解決するための手段】
【0007】
(1)本発明の一態様は、水流を整えるために水を通す貫通孔を有する整流壁を浄水施設の水路に設置する整流壁の設置構造であって、水路の一対の側壁を結ぶように延在する複数の整流壁本体と、整流壁本体と側壁とを接合する接合部と、を備え、接合部は、整流壁本体の側端部から突出する第1ループ鉄筋と、側壁から突出する第2ループ鉄筋と、第1ループ鉄筋及び第2ループ鉄筋を埋め込んで打設される間詰め材と、を有する。
【0008】
本発明の一態様に係る整流壁の設置構造では、複数の整流壁本体が水路の一対の側壁を結ぶように延在させられて、複数の整流壁本体と側壁とが接合部によって接合されることで、整流壁が設置される。接合部では、第1ループ鉄筋及び第2ループ鉄筋を埋め込むように間詰め材が打設される。予め整流壁本体の側端部と側壁とからそれぞれ突出させておいた第1ループ鉄筋及び第2ループ鉄筋を間詰め材で埋めて固めることで、接合部を組み立てることができる。この構造によれば、側壁への凹溝加工が不要となり、鉄筋同士を繋ぐ継手等の高価な定着体が不要となる。また、接合部において整流壁本体の設置の施工誤差を吸収できるため、例えば高い精度で整流壁本体を設置することが不要となり、施工性の低下を抑制できる。したがって、本発明の一態様に係る整流壁の設置構造によれば、コストの増大を抑制しつつ施工性の向上を図ることができる。
【0009】
(2)上記(1)において、第1ループ鉄筋及び第2ループ鉄筋は、鉛直面に沿って延びる仮想的なループ面を形成していてもよい。この場合、鉛直面に沿って整流壁本体を動かして順次積み重ねることにより、第1ループ鉄筋と第2ループ鉄筋との干渉を抑制しつつ複数の整流壁本体を設置することができる。また、水平方向の揺れに対しては、第1ループ鉄筋及び第2ループ鉄筋が互いに干渉するため、別途の仮設材を用いることなく、設置途中での整流壁本体の落下リスクを低減することができる。
【0010】
(3)上記(1)において、第1ループ鉄筋及び第2ループ鉄筋は、水平面に沿って延びる仮想的なループ面を形成していてもよい。この場合、水平面に沿って整流壁本体を動かして順次積み重ねることにより、第1ループ鉄筋と第2ループ鉄筋との干渉を抑制しつつ複数の整流壁本体を設置することができる。
(【0011】以降は省略されています)
この特許をJ-PlatPat(特許庁公式サイト)で参照する
関連特許
鹿島建設株式会社
構築方法
1か月前
鹿島建設株式会社
補強構造
5日前
鹿島建設株式会社
制震架構
1か月前
鹿島建設株式会社
解体方法
1か月前
鹿島建設株式会社
接続方法
21日前
鹿島建設株式会社
接合構造
1か月前
鹿島建設株式会社
過重力施設
1か月前
鹿島建設株式会社
塔状構造物
20日前
鹿島建設株式会社
空調システム
2か月前
鹿島建設株式会社
床版架設方法
1か月前
鹿島建設株式会社
シールド掘進機
2か月前
鹿島建設株式会社
壁高欄の施工方法
13日前
鹿島建設株式会社
微生物培養システム
7日前
鹿島建設株式会社
基礎構造および構築方法
12日前
鹿島建設株式会社
接続方法および接続構造
1か月前
鹿島建設株式会社
橋、および橋の製造方法
1か月前
鹿島建設株式会社
作業サイクル分析システム
1か月前
鹿島建設株式会社
壁体の構築方法およびタンク
1か月前
鹿島建設株式会社
コンクリート構造物構築方法
1か月前
鹿島建設株式会社
コンクリートの充填監視方法
12日前
鹿島建設株式会社
鋼管柱の接合方法、及び鋼管柱
1か月前
鹿島建設株式会社
品質評価装置および品質評価方法
1か月前
鹿島建設株式会社
水硬性硬化体の炭酸化養生システム
1か月前
鹿島建設株式会社
トンネル掘削方法及びトンネル掘削機
今日
鹿島建設株式会社
盛土評価システムおよび盛土評価方法
1か月前
鹿島建設株式会社
生態系環境改善部材及び生態系環境改善構造
1か月前
鹿島建設株式会社
作業計画支援方法及び作業計画支援プログラム
12日前
鹿島道路株式会社
コンクリート舗装の養生方法
2か月前
鹿島道路株式会社
コンクリート舗装の養生方法
2か月前
鹿島建設株式会社
二酸化炭素の回収方法、二酸化炭素回収システム
1か月前
鹿島道路株式会社
アスファルト混合物の製造方法
1か月前
鹿島建設株式会社
環境音モニタ装置、環境音モニタ方法及びプログラム
1か月前
ゼネラルヒートポンプ工業株式会社
ヒートポンプシステム
1か月前
鹿島建設株式会社
センサユニット及びセンサユニットを備えたモルタルミキサー
1日前
鹿島建設株式会社
整流壁の設置構造、整流壁の製造方法、及び整流壁の設置方法
1日前
ケイミューシポレックス株式会社
軽量気泡コンクリートの製造方法
2か月前
続きを見る
他の特許を見る