TOP
|
特許
|
意匠
|
商標
特許ウォッチ
Twitter
他の特許を見る
10個以上の画像は省略されています。
公開番号
2025178847
公報種別
公開特許公報(A)
公開日
2025-12-09
出願番号
2024085688
出願日
2024-05-27
発明の名称
センサユニット及びセンサユニットを備えたモルタルミキサー
出願人
鹿島建設株式会社
代理人
弁理士法人後藤特許事務所
主分類
B28C
5/12 20060101AFI20251202BHJP(セメント,粘土,または石材の加工)
要約
【課題】作業者の手が回転している攪拌羽根に触れること防止する。
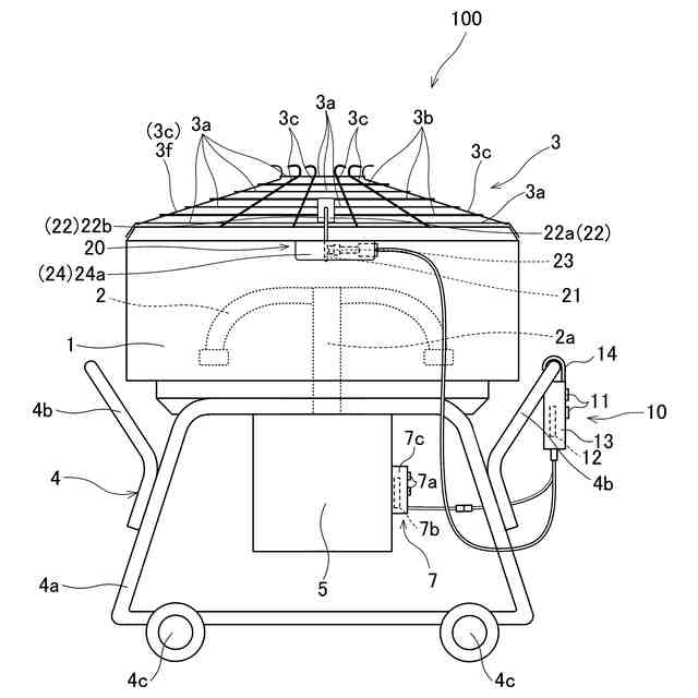
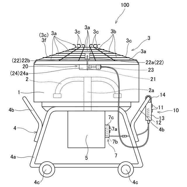
【解決手段】センサユニット20は、モルタル材料を収容する攪拌槽1と、攪拌槽1内に設けられ、モルタル材料を攪拌する攪拌羽根2と、攪拌槽1の開口を覆うカバー3と、攪拌羽根2の駆動を制御するコントローラ7と、を有する可搬式のモルタルミキサー100に設けられる。センサユニット20は、カバー3に着脱自在に取り付けられるセンサドグ21と、攪拌槽1に着脱自在に取り付けられ、センサドグ21を検出するセンサ本体23と、センサ本体23から入力される信号に基づいて、攪拌羽根2の駆動を制御するコントローラ10と、を備え、センサ本体23は、センサドグ21が検出されなくなると、コントローラ10に攪拌羽根2の駆動を停止させる信号を出力する。
【選択図】図1
特許請求の範囲
【請求項1】
モルタル材料を収容する攪拌槽と、前記攪拌槽内に設けられ、モルタル材料を攪拌する攪拌羽根と、前記攪拌槽の開口を覆うカバーと、前記攪拌羽根の駆動を制御する第1制御部と、を有する可搬式のモルタルミキサーに設けられるセンサユニットであって、
前記カバーに着脱自在に取り付けられる検出対象と、
前記攪拌槽に着脱自在に取り付けられ、前記検出対象を検出する検出部と、
前記検出部から入力される信号に基づいて、前記攪拌羽根の駆動を制御する第2制御部と、を備え、
前記検出部は、前記検出対象が検出されなくなると、前記第2制御部に前記攪拌羽根の駆動を停止させる信号を出力するセンサユニット。
続きを表示(約 510 文字)
【請求項2】
請求項1に記載されたセンサユニットであって、
前記検出部を前記攪拌槽に取り付けるためのブラケットをさらに備え、
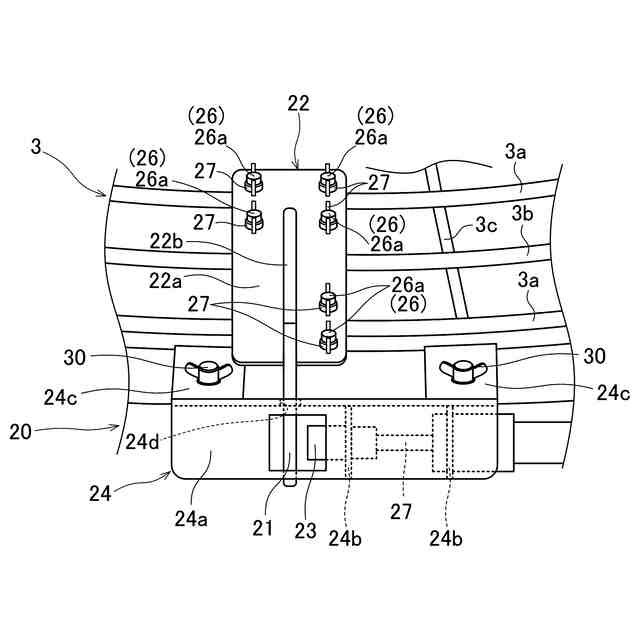
前記検出対象は、棒状のセンサドグであり、
前記センサドグと前記ブラケットとは、前記カバーが開閉される際に、前記攪拌槽に対する前記カバーの開閉支点を構成するセンサユニット。
【請求項3】
請求項1に記載されたセンサユニットであって、
前記検出部を前記攪拌槽に取り付けるためのブラケットをさらに備え、
前記検出対象は、棒状のセンサドグであり、
前記ブラケットには、前記攪拌槽の径方向に延び、前記センサドグが挿通される長孔が形成され、
前記長孔は、前記カバーが開閉される際に前記センサドグをガイドするセンサユニット。
【請求項4】
請求項2または3に記載されたセンサユニットであって、
前記センサドグは、前記カバーの中心を挟んで前記カバーを開閉するための持ち手と反対側の領域に取り付けられているセンサユニット。
【請求項5】
請求項1に記載されたセンサユニットを備えたモルタルミキサー。
発明の詳細な説明
【技術分野】
【0001】
本発明は、センサユニット及びセンサユニットを備えたモルタルミキサーに関する。
続きを表示(約 1,400 文字)
【背景技術】
【0002】
特許文献1には、機枠上に着脱可能に設置された有底円筒状の攪拌容器と、攪拌容器内のセメントモルタルを攪拌する攪拌体(攪拌羽根)と、を備えたモルタルミキサーが開示されている。
【先行技術文献】
【特許文献】
【0003】
特開平6-166020号公報
【発明の概要】
【発明が解決しようとする課題】
【0004】
特許文献1のようなモルタルミキサーでは、攪拌容器の上部が開口した状態になっている。このため、モルタルミキサーが稼働しているときに、作業者が攪拌容器内に誤って手を入れてしまうと、手が回転している攪拌体に触れて事故につながるおそれがある。
【0005】
そこで、攪拌容器の上部に攪拌容器の開口を覆うカバーを設けることが考えられる。しかしながら、このようなカバーを設けても、モルタルミキサーが稼働しているときに、作業者が、カバーを開けて攪拌容器内に手を入れてしまうと、手が回転している攪拌体に触れて事故につながるおそれがある。
【0006】
本発明は、作業者の手が回転しているモルタルミキサーの攪拌羽根に触れること防止することを目的とする。
【課題を解決するための手段】
【0007】
本発明は、モルタル材料を収容する攪拌槽と、攪拌槽内に設けられ、モルタル材料を攪拌する攪拌羽根と、攪拌槽の開口を覆うカバーと、攪拌羽根の駆動を制御する第1制御部と、を有する可搬式のモルタルミキサーに設けられるセンサユニットであって、カバーに着脱自在に取り付けられる検出対象と、攪拌槽に着脱自在に取り付けられ、検出対象を検出する検出部と、検出部から入力される信号に基づいて、攪拌羽根の駆動を制御する第2制御部と、を備え、検出部は、検出対象が検出されなくなると、第2制御部に攪拌羽根の駆動を停止させる信号を出力する。
【発明の効果】
【0008】
本発明によれば、作業者の手が回転しているモルタルミキサーの攪拌羽根に触れることを防止できる。
【図面の簡単な説明】
【0009】
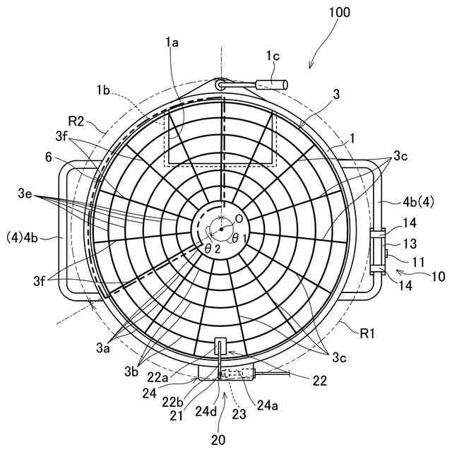
本発明の実施形態に係るモルタルミキサーの正面図である。
本発明の実施形態に係るモルタルミキサーの平面図であり、可動部材がカバーの領域R2と重なった状態を示す図である。
本発明の実施形態に係るモルタルミキサーの平面図であり、可動部材がカバーの領域R2と異なる位置にある状態を示す図である。
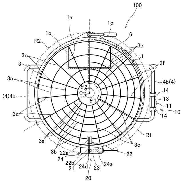
本発明の実施形態に係るモルタルミキサーのカバー近傍の分解図である。
本発明の実施形態に係るモルタルミキサーのセンサユニット近傍の正面図である。
本発明の実施形態に係るモルタルミキサーのセンサユニット近傍の平面図である。
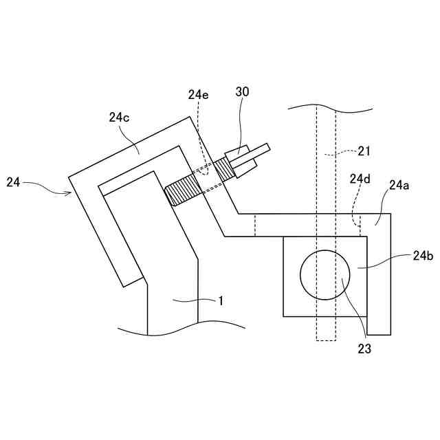
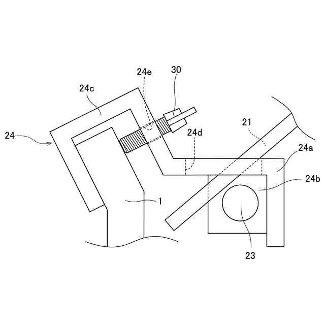
本発明の第1ブラケットの取付構造を説明するための図である。
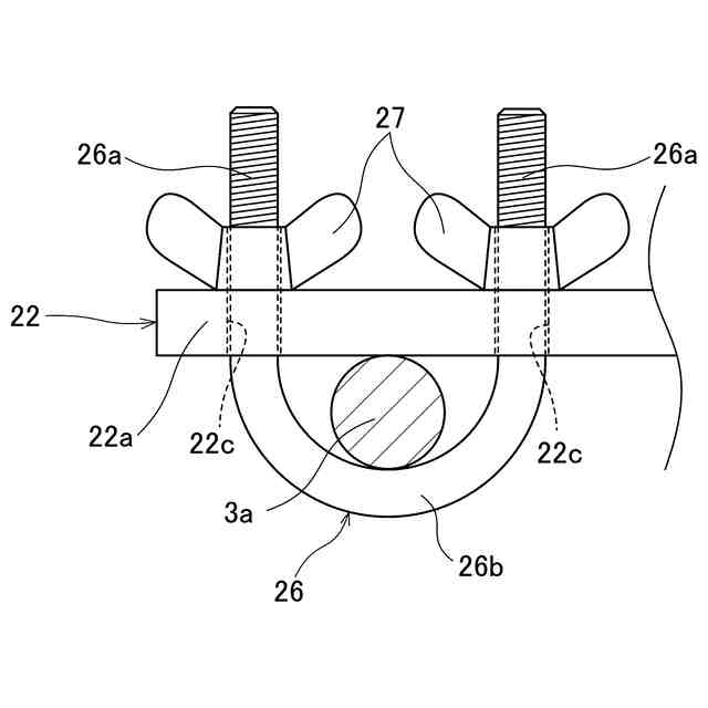
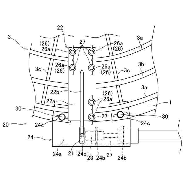
本発明の第2ブラケットの取付構造を説明するための図である。
本発明の実施形態に係るモルタルミキサーにおいてカバーを開閉する際のセンサドグと長孔との関係を説明するための図である。
【発明を実施するための形態】
【0010】
以下、図面を参照して、本発明の実施形態に係るモルタルミキサー100について説明する。
(【0011】以降は省略されています)
この特許をJ-PlatPat(特許庁公式サイト)で参照する
関連特許
鹿島建設株式会社
接合構造
1か月前
鹿島建設株式会社
補強構造
5日前
鹿島建設株式会社
構築方法
1か月前
鹿島建設株式会社
制震架構
1か月前
鹿島建設株式会社
解体方法
1か月前
鹿島建設株式会社
接続方法
21日前
鹿島建設株式会社
塔状構造物
20日前
鹿島建設株式会社
過重力施設
1か月前
鹿島建設株式会社
熱回収方法
3か月前
鹿島建設株式会社
空調システム
2か月前
鹿島建設株式会社
床版架設方法
1か月前
鹿島建設株式会社
シールド掘進機
2か月前
鹿島建設株式会社
柱建て込み方法
2か月前
鹿島建設株式会社
トンネル掘削機
3か月前
鹿島建設株式会社
高度測位システム
3か月前
鹿島建設株式会社
壁高欄の施工方法
13日前
鹿島建設株式会社
微生物培養システム
7日前
鹿島建設株式会社
グラウチングシステム
2か月前
鹿島建設株式会社
グラウチングシステム
2か月前
鹿島建設株式会社
計測装置及び計測方法
3か月前
鹿島建設株式会社
ワイヤレス給電システム
2か月前
鹿島建設株式会社
運搬台車および運搬方法
2か月前
鹿島建設株式会社
接続方法および接続構造
1か月前
鹿島建設株式会社
橋、および橋の製造方法
1か月前
鹿島建設株式会社
接続方法および接続構造
2か月前
鹿島建設株式会社
基礎構造および構築方法
12日前
鹿島建設株式会社
作業サイクル分析システム
1か月前
鹿島建設株式会社
壁体の構築方法およびタンク
1か月前
鹿島建設株式会社
コンクリートの充填監視方法
12日前
鹿島建設株式会社
コンクリート構造物構築方法
1か月前
鹿島建設株式会社
鋼管柱の接合方法、及び鋼管柱
1か月前
鹿島建設株式会社
品質評価装置および品質評価方法
1か月前
鹿島建設株式会社
水処理システムおよび水処理方法
2か月前
鹿島建設株式会社
型枠固定機構および壁体の構築方法
3か月前
鹿島建設株式会社
水硬性硬化体の炭酸化養生システム
1か月前
鹿島建設株式会社
トンネル掘削方法及びトンネル掘削機
今日
続きを見る
他の特許を見る