TOP
|
特許
|
意匠
|
商標
特許ウォッチ
Twitter
他の特許を見る
公開番号
2025180494
公報種別
公開特許公報(A)
公開日
2025-12-11
出願番号
2024087862
出願日
2024-05-30
発明の名称
空気搬送システム及び空気搬送方法
出願人
鹿島建設株式会社
,
関西設計株式会社
代理人
個人
,
個人
,
個人
主分類
B65G
51/04 20060101AFI20251204BHJP(運搬;包装;貯蔵;薄板状または線条材料の取扱い)
要約
【課題】搬送を合理化する空気搬送システム及び空気搬送方法を提供する。
【解決手段】
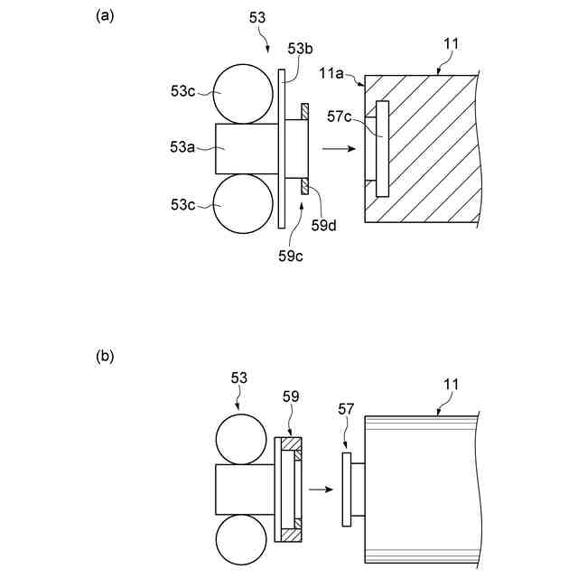
搬送対象物である廃棄体パッケージ11を空気搬送方式で搬送する搬送システム42は、連絡坑道9と、連絡坑道9内を当該連絡坑道9内に発生する空気流によって移動する移動体47と、を備え、移動体47は、廃棄体パッケージ11と、廃棄体パッケージ11の移動方向両端に直接取り付けられた一対の着脱可能なガイドアタッチメント53,53と、を備え、ガイドアタッチメント53,53は、連絡坑道9の内壁面上を転動するガイド車輪53cを有している。
【選択図】図7
特許請求の範囲
【請求項1】
搬送対象物を空気搬送方式で搬送する空気搬送システムであって、
空気搬送管路と、前記空気搬送管路内に発生する空気流によって当該空気搬送管路内を移動する移動体と、を備え、
前記移動体は、
前記搬送対象物と、
前記搬送対象物の移動方向両端に直接取り付けられた一対の着脱可能なガイドアタッチメントと、を備え、
前記ガイドアタッチメントは、
前記空気搬送管路の内壁面上を転動するガイド車輪を有している、空気搬送システム。
続きを表示(約 480 文字)
【請求項2】
前記ガイドアタッチメントは、
前記空気流を受けるシール板を更に有している、請求項1に記載の空気搬送システム。
【請求項3】
搬送対象物を空気搬送方式で搬送する空気搬送方法であって、
一対の着脱可能なガイドアタッチメントを前記搬送対象物の移動方向両端に直接取り付けてなる移動体が、空気搬送管路内に発生する空気流によって当該空気搬送管路内を出発地点から目的地点まで移動する搬送工程と、
前記目的地点で前記搬送対象物から取り外された一対の前記ガイドアタッチメント同士を所定の連結部材を介して前記移動方向に連結してなる返送移動体が、前記空気搬送管路内に発生する空気流によって当該空気搬送管路内を前記目的地点から前記出発地点まで移動する返送工程と、を備え、
前記ガイドアタッチメントは、前記空気搬送管路の内壁面上を転動するガイド車輪を有している、空気搬送方法。
【請求項4】
前記ガイドアタッチメントは、
前記空気流を受けるシール板を更に有している、請求項3に記載の空気搬送方法。
発明の詳細な説明
【技術分野】
【0001】
本発明は、空気搬送システム及び空気搬送方法に関するものである。
続きを表示(約 1,400 文字)
【背景技術】
【0002】
従来、このような分野の技術として、下記特許文献1に記載の空気搬送システムが知られている。この空気搬送システムは、空気搬送管路と、当該空気搬送管路内を移動するカプセルと、を備えている。カプセルは、搬送対象物を収納するカプセル本体と、シール板と、車輪と、を有している。カプセル本体は内部に搬送対象物を収納し、シール板は、カプセル本体の前後に取り付けられる。シール板が空気搬送管路の内壁面との間に適度な隙間を保つことで、空気搬送管路内に生じる空気流によって推進力が生じ、カプセルが空気搬送管路内を移動する。車輪はシール板に取り付けられ、空気搬送管路の内壁面を転動することで、空気搬送管路内におけるカプセルの移動を案内する。
【先行技術文献】
【特許文献】
【0003】
特許5331993号公報
【発明の概要】
【発明が解決しようとする課題】
【0004】
上記の空気搬送システムにおいては、搬送対象物よりも十分に大きなカプセルや空気搬送管路を準備する必要がある。この種の空気搬送システムでは、例えば、搬送対象物に対して搬送容器や空気搬送管路のサイズを抑えるといったような更に合理的な搬送の仕組みが望まれる。本発明は、搬送を合理化する空気搬送システム及び空気搬送方法を提供することを目的とする。
【課題を解決するための手段】
【0005】
本発明の要旨は以下の〔1〕~〔4〕に存する。
【0006】
〔1〕 搬送対象物を空気搬送方式で搬送する空気搬送システムであって、空気搬送管路と、前記空気搬送管路内に発生する空気流によって当該空気搬送管路内を移動する移動体と、を備え、前記移動体は、前記搬送対象物と、前記搬送対象物の移動方向両端に直接取り付けられた一対の着脱可能なガイドアタッチメントと、を備え、前記ガイドアタッチメントは、前記空気搬送管路の内壁面上を転動するガイド車輪を有している、空気搬送システム。
【0007】
〔2〕 前記ガイドアタッチメントは、前記空気流を受けるシール板を更に有している、〔1〕に記載の空気搬送システム。
【0008】
〔3〕 搬送対象物を空気搬送方式で搬送する空気搬送方法であって、一対の着脱可能なガイドアタッチメントを前記搬送対象物の移動方向両端に直接取り付けてなる移動体が、空気搬送管路内に発生する空気流によって当該空気搬送管路内を出発地点から目的地点まで移動する搬送工程と、前記目的地点で前記搬送対象物から取り外された一対の前記ガイドアタッチメント同士を所定の連結部材を介して前記移動方向に連結してなる返送移動体が、前記空気搬送管路内に発生する空気流によって当該空気搬送管路内を前記目的地点から前記出発地点まで移動する返送工程と、を備え、前記ガイドアタッチメントは、前記空気搬送管路の内壁面上を転動するガイド車輪を有している、空気搬送方法。
【0009】
〔4〕 前記ガイドアタッチメントは、前記空気流を受けるシール板を更に有している、〔3〕に記載の空気搬送方法。
【発明の効果】
【0010】
本発明によれば、搬送を合理化する空気搬送システム及び空気搬送方法を提供することができる。
【図面の簡単な説明】
(【0011】以降は省略されています)
この特許をJ-PlatPat(特許庁公式サイト)で参照する
関連特許
鹿島建設株式会社
補強構造
7日前
鹿島建設株式会社
接続方法
23日前
鹿島建設株式会社
塔状構造物
22日前
鹿島建設株式会社
地層処分施設
1日前
鹿島建設株式会社
壁高欄の施工方法
15日前
鹿島建設株式会社
微生物培養システム
9日前
鹿島建設株式会社
基礎構造および構築方法
14日前
鹿島建設株式会社
コンクリート構造物構築方法
1か月前
鹿島建設株式会社
コンクリートの充填監視方法
14日前
鹿島建設株式会社
地層処分施設及び地層処分方法
1日前
鹿島建設株式会社
空気搬送システム及び空気搬送方法
1日前
鹿島建設株式会社
地層処分施設及び廃棄体パッケージ
1日前
鹿島建設株式会社
トンネル掘削方法及びトンネル掘削機
2日前
鹿島建設株式会社
生態系環境改善部材及び生態系環境改善構造
1か月前
鹿島建設株式会社
作業計画支援方法及び作業計画支援プログラム
14日前
鹿島建設株式会社
地盤の評価方法及び格子状改良体の仕様を決定する方法
1日前
鹿島建設株式会社
センサユニット及びセンサユニットを備えたモルタルミキサー
3日前
鹿島建設株式会社
整流壁の設置構造、整流壁の製造方法、及び整流壁の設置方法
3日前
株式会社ベルニック
作業台の移動装置および作業台
14日前
鹿島建設株式会社
マット部材、マット部材の製造方法、及びマット部材のひずみ測定システム
15日前
株式会社ベルニック
情報処理装置、作業台、作業システム、情報処理方法およびプログラム
14日前
個人
束ね具
1か月前
個人
収容箱
4か月前
個人
コンベア
6か月前
個人
段ボール箱
8か月前
個人
段ボール箱
8か月前
個人
ゴミ収集器
8か月前
個人
楽ちんハンド
6か月前
個人
バンド
3か月前
個人
テープ引出機
1か月前
個人
宅配システム
8か月前
個人
土嚢運搬器具
10か月前
個人
角筒状構造体
7か月前
個人
包装容器
2か月前
個人
コード類収納具
9か月前
個人
棒状体収容容器
1か月前
続きを見る
他の特許を見る