TOP
|
特許
|
意匠
|
商標
特許ウォッチ
Twitter
他の特許を見る
公開番号
2025162743
公報種別
公開特許公報(A)
公開日
2025-10-28
出願番号
2024066141
出願日
2024-04-16
発明の名称
基盤材および基盤材を用いた二酸化炭素の吸着固定方法
出願人
東邦レオ株式会社
,
一般社団法人グリーンインフラ総研
代理人
個人
,
個人
,
個人
,
個人
主分類
E01C
7/04 20060101AFI20251021BHJP(道路,鉄道または橋りょうの建設)
要約
【課題】熱エネルギーをまったく用いることなく、自然の力だけで以て、半永久に二酸化炭素を土中の基盤材に吸着させて固定化できる、基盤材および基盤材を用いた二酸化炭素の吸着固定方法を提供すること。
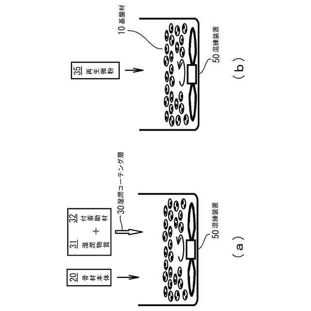
【解決手段】土中に埋設して目詰まり抑制用の充填材または埋戻材として使用する基盤材10であって、硬質の骨材本体20と、骨材本体20の表面を被覆し、二酸化炭素の吸着固定機能と、SS物質の捕捉機能と、pH緩衝作用を少なくとも有する酸性官能基を有する自然由来の湿潤物質31と、湿潤すると粘性を発揮し、骨材本体20の表面に湿潤物質31を付着させる付着助材32とにより構成する湿潤コーティング層30と、骨材本体20または湿潤コーティング層30の表面に付着させた二酸化炭素の担体であるコンクリート製の再生微粉33とを具備する。
【選択図】図4
特許請求の範囲
【請求項1】
土中に埋設して目詰まり抑制用の充填材または埋戻材として使用する基盤材であって、
硬質の骨材本体と、
前記骨材本体の表面を被覆し、SS物質の捕捉機能と、pH緩衝作用を少なくとも有する酸性官能基を有する自然由来の湿潤物質と、湿潤すると粘性を発揮し、骨材本体の表面に前記湿潤物質を付着させる付着助材とにより構成する湿潤コーティング層と、
骨材本体または湿潤コーティング層の表面に付着させた二酸化炭素の担体であるコンクリート製の再生微粉とを具備することを特徴とする、
基盤材。
続きを表示(約 650 文字)
【請求項2】
前記再生微粉が廃コンクリート製で未処理の微粉であることを特徴とする、請求項1に記載の基盤材。
【請求項3】
前記付着助材の湿潤性を利用して骨材本体または湿潤コーティング層の表面に前記再生微粉を付着させたことを特徴とする、請求項1または2に記載の基盤材。
【請求項4】
前記湿潤物質がアロフェンまたは腐植であることを特徴とする、請求項1に記載の基盤材。
【請求項5】
前記付着助材が水、高吸水性樹脂、高分子吸収体、酢酸ビニル樹脂、またはポリビニルアルコールの少なくとも一種以上であることを特徴とする、請求項1に記載の基盤材。
【請求項6】
前記骨材本体が廃コンクリート材より製造した単粒度の再生骨材であることを特徴とする、請求項1に記載の基盤材。
【請求項7】
透水性路盤構造体の透水基盤層として使用することを特徴とする、請求項1に記載の基盤材。
【請求項8】
基盤材を用いた二酸化炭素の吸着固定方法であって、
前記請求項1に記載の基盤材を土中に目詰まり抑制用の充填材または埋戻材として埋設し、
雨水が土中に浸透するときに前記基盤材のコンクリート成分と雨水に炭酸として含まれた二酸化炭素が反応して炭酸カルシウムを生成し、
前記基盤材の表面に二酸化炭素を炭酸カルシウムの形態で吸着して固定化することを特徴とする、
基盤材を用いた二酸化炭素の吸着固定方法。
発明の詳細な説明
【技術分野】
【0001】
本発明は、歩道、公園・広場、車道等に適用可能な基盤材を用いた二酸化炭素(CO
2
)の吸着技術に関し、特に良好な植生環境を維持しつつ、長期間に亘って二酸化炭素を吸着して固定化できる、基盤材および基盤材を用いた二酸化炭素の吸着固定方法に関する。
続きを表示(約 1,700 文字)
【背景技術】
【0002】
近時の地球温暖化対策のひとつとして、二酸化炭素排出量の削減を目的として、空気中の二酸化炭素を以降の各種の担体に吸着させることが知られている。
【0003】
(1)バイオ炭製の担体
非特許文献1には、樹木を低温で炭化処理して製作したバイオ炭を土壌改良材として土中に埋めることで二酸化炭素を半永久的に固定することが提案されている。
【0004】
(2)石灰石製の担体
非特許文献2では、窯の中で石灰石を加熱して、酸化カルシウムと二酸化炭素に分解し、できた酸化カルシウムをトレイに広げて大気中の二酸化炭素を吸着するシステムが提案されている。
【0005】
一方、廃コンクリート材を破砕して取り出した骨材を再生骨材として再利用することが知られている。
再生骨材の表面に大量のコンクリート成分が付着した状態でコンクリート構造物の骨材として使用すると、強度低下等の要因となるため、できるだけコンクリート付着物を取り除く必要がある。
特許文献1には、100℃以上に加熱した再生骨材の原料を乾式混練装置で撹拌して研磨することで、コンクリート付着物を取り除くことが開示されている。
【0006】
また砕石等の良質の天然骨材は、歩道や道路に隣接して植樹帯を構築する際に、歩道直下基盤や植生基盤の基盤材として用いられている(特許文献2,3)。
【先行技術文献】
【特許文献】
【0007】
https://jp-gx.com/credits/nT1pyXum
https://www.orix.co.jp/grp/move_on/entry/2022/07/13/100000
特開2023-182463号公報
登録実用新案第3065278号公報
特開2005-133458号公報
【発明の概要】
【発明が解決しようとする課題】
【0008】
従来の二酸化炭素を各種担体に吸着させて固定化する技術は、つぎのような課題を有している。
<1>非特許文献1に記載の二酸化炭素固定化技術は、担体である樹木を炭化処理する際に大量の二酸化炭素を排出しているために、マッチポンプ的である。
<2>非特許文献2に記載の二酸化炭素固定化技術も、セメント製造過程と同様に加熱の段階ですでに多くの二酸化炭素を排出していてマッチポンプ的である。
<3>従来は各種の担体を製造する際に、多量の熱エネルギーを消費するため、担体の製造コストが嵩む。
<4>担体に二酸化炭素を吸着させるためには、担体に対して二酸化炭素を強制的に供給し続けなければならず、二酸化炭素の吸収にコストがかかる。
【0009】
従来の再生骨材または天然骨材の利用技術はつぎのような課題を有している。
<1>再生骨材は、その表面に付着したコンクリート成分を綺麗に取り除くことが技術的に困難であり、再生骨材の表面に微量のコンクリート付着物が残留する。
コンクリート付着物が強アルカリ性であるため、再生骨材の使途はコンクリート用骨材に限定され、再生骨材の新たな使途の提案が望まれている。
<2>廃コンクリート材を破砕して再生骨材を回収する技術は確立しているものの、再生骨材の製造時に発生するコンクリート微粉(コンクリートフィラー)のリサイクルがまったく進んでおらず、コンクリート微粉の新たな使途の提案が望まれている。
【0010】
本発明は以上の点に鑑みてなされたものであり、その目的とするところは、熱エネルギーをまったく用いることなく、自然の力だけで以て、半永久に二酸化炭素を土中の基盤材に吸着させて固定化できる、基盤材および基盤材を用いた二酸化炭素の吸着固定方法を提供することにある。
【課題を解決するための手段】
(【0011】以降は省略されています)
この特許をJ-PlatPat(特許庁公式サイト)で参照する
関連特許
株式会社セイトク
防雪パネル
1か月前
コスモテック株式会社
表示装置
19日前
株式会社 林物産発明研究所
道路安全体
6日前
戸田建設株式会社
コンクリート構造
1か月前
戸田建設株式会社
鋼製ブラケットの取付装置
1か月前
戸田建設株式会社
鋼製ブラケットの取付装置
1か月前
株式会社丸治コンクリート工業所
防護柵
今日
株式会社川金コアテック
橋梁用鋼弾塑性ダンパー
14日前
西尾レントオール株式会社
コーンベット型電源装置
1か月前
鹿島建設株式会社
床版架設方法
1か月前
オリエンタル白石株式会社
補強鋼板及び排土方法
1か月前
宮地エンジニアリング株式会社
ワイヤブリッジの設置方法
1か月前
ダンレックス株式会社
表示装置
7日前
鹿島建設株式会社
橋、および橋の製造方法
1か月前
清水建設株式会社
床版架設装置および床版架設方法
6日前
愛知製鋼株式会社
磁気マーカの施工方法および施工用の補助工具
20日前
PUMP MAN株式会社
路面成型補助部材、及び、路面成型方法
19日前
オリエンタル白石株式会社
馬蹄形ジベルの合成床版撤去工法
1か月前
日本製鉄株式会社
仮設橋による施工方法
6日前
株式会社安藤・間
橋梁健全度評価システム
1か月前
株式会社ミライト・ワン
ボラード
1か月前
三井住友建設株式会社
床版揚重装置及び床版工事設備
29日前
大成建設株式会社
仮設鋼床版および床版取替工法
22日前
株式会社大林組
シート部材及び、施工方法
22日前
ジェコス株式会社
締結式覆工板の損傷防止装置及び当該装置を備えた覆工板
1か月前
朝日エンヂニヤリング株式会社
主桁連続化剛結合構造
1か月前
清水建設株式会社
桁と床版との接合構造、及び桁と床版との接合方法
27日前
ノリタケ株式会社
電動式コンクリートカッター
14日前
株式会社ドラミカンパニー
改良地盤及びその施工方法
1か月前
鹿島道路株式会社
アスファルト混合物の製造方法
28日前
株式会社IHIインフラシステム
吊材取替方法及び吊材取替装置
1か月前
ハム アーゲー
建設機械
1か月前
株式会社豊田中央研究所
平面形成治具、道路の構造及び道路施工方法
1か月前
株式会社エムアールサポート
出来形管理方法
8日前
株式会社大林組
定着装置、及び外ケーブルの架設方法
1か月前
株式会社NIPPO
タイヤローラ
6日前
続きを見る
他の特許を見る