TOP
|
特許
|
意匠
|
商標
特許ウォッチ
Twitter
他の特許を見る
公開番号
2025171080
公報種別
公開特許公報(A)
公開日
2025-11-20
出願番号
2024076066
出願日
2024-05-08
発明の名称
物体検知装置
出願人
酒井重工業株式会社
代理人
弁理士法人磯野国際特許商標事務所
主分類
G01S
17/931 20200101AFI20251113BHJP(測定;試験)
要約
【課題】複数のエコーから物体を好適に検知することが可能な物体検知装置を提供する。
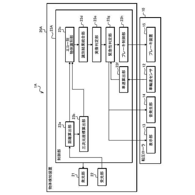
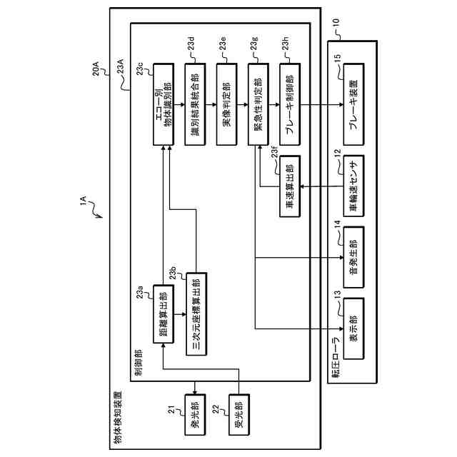
【解決手段】物体検知装置20Aは、受光部22の画素ごとに、発光部21から照射された投射光の反射位置までの距離を算出する距離算出部23aと、画素iごとに算出された距離に基づいて、反射位置の三次元座標を算出する三次元座標算出部23bと、エコーごとに、画素iごとに算出された距離に基づいて、物体3を識別するエコー別物体識別部23cと、三次元座標に基づいて、エコーごとに識別された物体3が同一であるか別体であるかを判定する識別結果統合部23dと、を備える。
【選択図】図3
特許請求の範囲
【請求項1】
受光部の画素ごとに、発光部から照射された投射光の反射位置までの距離を算出する距離算出部と、
前記画素ごとに算出された前記距離に基づいて、前記反射位置の三次元座標を算出する三次元座標算出部と、
エコーごとに、前記画素ごとに算出された前記距離に基づいて、物体を識別するエコー別物体識別部と、
前記三次元座標に基づいて、前記エコーごとに識別された前記物体が同一であるか別体であるかを判定する識別結果統合部と、
を備えることを特徴とする物体検知装置。
続きを表示(約 970 文字)
【請求項2】
受光部の画素ごとに、発光部から照射された投射光の反射位置までの距離を算出する距離算出部と、
前記投射光に対応する前記受光部の受光回数に基づいて、複数のエコーが存在するか否かを判定するマルチエコー判定部と、
前記画素ごとの前記距離及び/又は受光強度に基づいて、前記画素ごとに複数のエコーのいずれかを採用するエコー採用部と、
を備えることを特徴とする物体検知装置。
【請求項3】
前記エコー採用部は、前記画素ごとに算出された高さ方向の座標に基づいて、一の前記エコーを採用するか否かを判定する
ことを特徴とする請求項2に記載の物体検知装置。
【請求項4】
前記エコー採用部は、前記画素ごとに算出された前記距離に基づいて、一の前記エコーを採用するか否かを判定する
ことを特徴とする請求項2に記載の物体検知装置。
【請求項5】
前記エコー採用部は、隣接する2つの前記エコーにおける前記距離の差に基づいて、一の前記エコーを採用するか否かを判定する
ことを特徴とする請求項2に記載の物体検知装置。
【請求項6】
前記エコー採用部は、複数の前記エコーのうち、前記受光強度が大きい一の前記エコーを採用する
ことを特徴とする請求項2に記載の物体検知装置。
【請求項7】
採用された前記エコーに関して、前記画素ごとの前記受光強度及び前記距離の分布に基づいて、前記画素の前記受光強度が実像からのものである可能性を示すレベルを設定するとともに、採用された前記エコーに関して、前記画素ごとに算出された前記距離に基づいて、物体を識別する物体識別部と、
前記レベルに基づいて、識別された前記物体が実像であるか否かを判定する実像判定部と、
を備えることを特徴とする請求項2から請求項6のいずれか一項に記載の物体検知装置。
【請求項8】
建設車両に配置されている請求項1又は請求項2に記載の物体検知装置であって、
前記物体が実像であると判定された場合に、前記実像の前記距離に基づいてブレーキ作動の必要性を判定するブレーキ判定部を備える、
ことを特徴とする物体検知装置。
発明の詳細な説明
【技術分野】
【0001】
本発明は、例えば、転圧ローラ等の建設車両において周辺の物体を検知する技術に関する。
続きを表示(約 5,300 文字)
【背景技術】
【0002】
例えば、特許文献1には、建設車両としての転圧ローラの後方に存在する障害物を検知する障害物検知装置が記載されている。
【先行技術文献】
【特許文献】
【0003】
特開2019-12063号公報
【発明の概要】
【発明が解決しようとする課題】
【0004】
かかる障害物検知装置においては、同一の画素において複数のエコーを受光する場合がある。複数のエコーの例としては、湯気等からの反射光である虚像としてのエコー、障害物からの反射光である実像としてのエコーが挙げられる。
【0005】
従来の障害物検知装置は、同一の画素において複数のエコーを受光した場合、所定番目のエコーを選択して採用するように設定されている。例えば、従来の障害物検知装置は、湯気、土埃等といった外乱の影響を受ける画素が少ない場合には、1番目のエコーを採用するように設定され、外乱の影響を受ける画素が多い場合には、当該画素における最後のエコー(複数のエコーが存在しない(1番目のエコーのみが存在する)場合には、1番目のエコー、例えば2つのエコーが存在する場合には、2番目のエコー)を採用するように設定される。しかし、従来の障害物検知装置は、複数のエコーが存在する場合に何番目のエコーを採用するかを事前に設定する必要があるため、状況の変化に好適に対応するのが困難である。
【0006】
本発明は、前記した事情に鑑みて創案されたものであり、複数のエコーから物体を好適に検知することが可能な物体検知装置を提供することを課題とする。
【課題を解決するための手段】
【0007】
本発明の物体検知装置は、受光部の画素ごとに、発光部から照射された投射光の反射位置までの距離を算出する距離算出部と、前記画素ごとに算出された前記距離に基づいて、前記反射位置の三次元座標を算出する三次元座標算出部と、エコーごとに、前記画素ごとに算出された前記距離に基づいて、物体を識別するエコー別物体識別部と、前記三次元座標に基づいて、前記エコーごとに識別された前記物体が同一であるか別体であるかを判定する識別結果統合部と、を備える。
【発明の効果】
【0008】
本発明によれば、複数のエコーから物体を好適に検知することができる。
【図面の簡単な説明】
【0009】
本発明の第一の実施形態に係る物体検知システムが適用された転圧ローラの側面図である。
本発明の第一の実施形態に係る物体検知システムが適用された転圧ローラの平面図である。
本発明の第一の実施形態に係る物体検知システムを模式的に示すブロック図である。
(a)は物体検知装置による測定対象の路面及び物体を撮像した画像、(b)は画素ごとの距離を模式的に示す画像、(c)は画素ごとの受光強度を模式的に示す画像である。
(a)はXZ平面における画素の座標の分布を模式的に示すグラフ、(b)は、XY平面における画素の座標の分布を模式的に示すグラフ、(c)はYZ平面における画素の座標の分布を模式的に示すグラフ、(d)は画素の距離及び受光強度の関係(分布)を模式的に示すグラフ(部分拡大図)である。
(a)(b)(c)は、従来の物体検知装置による物体の検知例を模式的に示す図である。
従来の物体検知装置による物体の検知例を模式的に示す図である。
(a)は前進時の転圧ローラを模式的に示す側面図、(b1)は前進かつ減速時の転圧ローラを模式的に示す側面図、(b2)は前進かつ減速時の物体検知装置による1番目のエコーの測定例を模式的に示すグラフ、(b3)は前進かつ減速時の物体検知装置による1番目のエコーの測定例を模式的に示す画像、(c1)は前後進の切替時の転圧ローラを模式的に示す側面図、(c2)は前後進の切替時の物体検知装置による1番目のエコーの測定例を模式的に示すグラフ、(c3)は前後進の切替時の物体検知装置による1番目のエコーの測定例を模式的に示す画像、(d1)は後進かつ加速時の転圧ローラを模式的に示す側面図、(d2)は後進かつ加速時の物体検知装置による1番目のエコーの測定例を模式的に示すグラフ、(d3)は後進かつ加速時の物体検知装置による1番目のエコーの測定例を模式的に示す画像である。
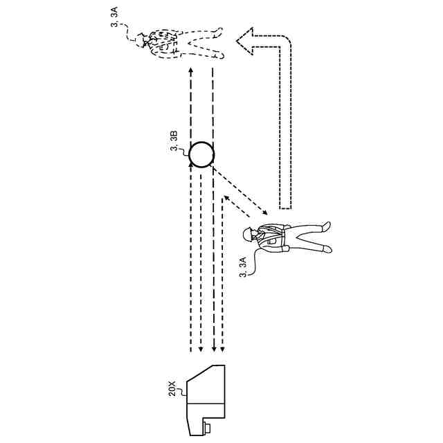
(a)は転圧ローラの後方に作業者及び湯気が存在する状態を撮像した画像、(b)はXZ平面における画素の座標の分布を模式的に示すグラフ、(c)は、XY平面における画素の座標の分布を模式的に示すグラフ、(d)はYZ平面における画素の座標の分布を模式的に示すグラフである。
(a)はXZ平面における路面に対応する画素の座標の分布を模式的に示すグラフ、(b)はXZ平面における路面に対応する画素の座標の分布を模式的に示すグラフであって左右の画素に対応する点群を除去したグラフである。
転圧ローラの後方の路面を模式的に示す平面図であり、路面を示すデータを補間する手法を説明するための図である。
(a)はXY平面における路面に対応する画素の座標の分布を模式的に示すグラフ、(b)はXZ平面における路面に対応する画素の座標の分布を模式的に示すグラフである。
画素ごとの距離の対数及び受光強度の対数の関係を模式的に示すグラフである。
(a)は転圧ローラの後方に作業者及び湯気が存在する状態を撮像した画像、(b)は物体検知装置によって測定された画素ごとの距離を模式的に示す画像である。
(a)はXY平面における路面に対応する画素の座標の分布を模式的に示すグラフ、(b)はYZ平面における路面に対応する画素の座標の分布を模式的に示すグラフ、(c)は画素ごとの距離の対数及び受光強度の対数の関係を模式的に示すグラフである。
(a)は転圧ローラの後方に作業者及び物体が存在する状態を撮像した画像、(b)は画素ごとの距離を模式的に示す画像、(c)は画素ごとの受光強度を模式的に示す画像、(d)はラスタスキャン法を模式的に示す画像、(e)はラスタスキャン法によって識別された作業者及び物体を模式的に示す画像である。
(a)はXZ平面における画素の座標の分布を模式的に示すグラフ、(b)はXY平面における画素の座標の分布を模式的に示すグラフ、(c)はYZ平面における画素の座標の分布を模式的に示すグラフ、(d)は画素ごとのレベルを模式的に示す画像、(e)は(d)の部分拡大図である。
(a)は識別された物体ごとの画素のレベルの分布を模式的に示すグラフ、(b)は識別された物体ごとの画素のレベルの分布及び物体の実像レベルを模式的に示す表である。
(a)は転圧ローラの後方に作業者及び湯気が存在する状態を撮像した画像、(b)は画素ごとの距離を模式的に示す画像、(c)は画素ごとの受光強度を模式的に示す画像、(d)はラスタスキャン法によって識別された作業者及び物体を模式的に示す画像である。
(a)はXY平面における画素の座標の分布を模式的に示すグラフ、(b)はYZ平面における画素の座標の分布を模式的に示すグラフ、(c)は画素ごとのレベルを模式的に示す画像である。
(a)は画素ごとのレベルを模式的に示す画像であって、レベルが0の画素を除去した状態を模式的に示す画像、(b)は識別された物体ごとの画素のレベルの分布を模式的に示すグラフ、(c)は識別された物体ごとの画素のレベルの分布及び物体の実像レベルを模式的に示す表である。
異なるエコーで識別された物体が同一であるか別体であるかを判定する手法を説明するためのXY平面図である。
異なるエコーで識別された物体が同一であるか別体であるかを判定する手法を説明するためのXZ平面図である。
緊急ブレーキを作動させるための車速及び物体までの距離の関係性を表すブレーキラインを示すグラフである。
本発明の第一の実施形態に係る物体検知装置の動作例を説明するためのフローチャートである。
本発明の第一の実施形態に係る物体検知装置の動作例を説明するためのフローチャートであり、受光強度のレベル設定の動作例を説明するためのフローチャートである。
本発明の第一の実施形態に係る物体検知装置の動作例を説明するためのフローチャートであり、物体識別の動作例を説明するためのフローチャートである。
本発明の第一の実施形態に係る物体検知装置の動作例を説明するためのフローチャートであり、識別結果統合の動作例を説明するためのフローチャートである。
本発明の第一の実施形態に係る物体検知装置の動作例を説明するためのフローチャートであり、実像判定の動作例を説明するためのフローチャートである。
本発明の第二の実施形態に係る物体検知システムを模式的に示すブロック図である。
本発明の第二の実施形態に係る物体検知装置の動作例を説明するためのフローチャートである。
本発明の第二の実施形態に係る物体検知装置の動作例を説明するためのフローチャートであり、マルチエコー判定及びエコー採用の動作例を説明するためのフローチャートである。
第一の実施例における検知距離を模式的に示すグラフである。
図33の時間帯A1における物体検知を説明するための図であり、(a)は転圧ローラの後方に作業者及び湯気が存在する状態を撮像した画像、(b)は1番目のエコーにおける画素ごとの距離を模式的に示す画像、(c)は2番目のエコーにおける画素ごとの距離を模式的に示す画像、(d)は画素ごとにエコーが選択された結果を模式的に示す画像、(e)は物体の識別結果を模式的に示す画像である。
図33の時間帯A2における物体検知を説明するための図であり、(a)は転圧ローラの後方に作業者及び湯気が存在する状態を撮像した画像、(b)は1番目のエコーにおける画素ごとの距離を模式的に示す画像、(c)は2番目のエコーにおける画素ごとの距離を模式的に示す画像、(d)は画素ごとにエコーが選択された結果を模式的に示す画像、(e)は物体の識別結果を模式的に示す画像である。
図33の時間帯A3における物体検知を説明するための図であり、(a)は転圧ローラの後方に作業者が存在する状態を撮像した画像、(b)は1番目のエコーにおける画素ごとの距離を模式的に示す画像、(c)は2番目のエコーにおける画素ごとの距離を模式的に示す画像、(d)は画素ごとにエコーが選択された結果を模式的に示す画像、(e)は物体の識別結果を模式的に示す画像である。
第二の実施例における検知距離を模式的に示すグラフである。
図37の時刻A4における物体検知を説明するための図であり、(a)は転圧ローラの後方に作業者及び湯気が存在する状態を撮像した画像、(b)は1番目のエコーにおける画素ごとの距離を模式的に示す画像、(c)は2番目のエコーにおける画素ごとの距離を模式的に示す画像、(d)は画素ごとにエコーが選択された結果を模式的に示す画像、(e)は物体の識別結果を模式的に示す画像である。
図37の時刻A5における物体検知を説明するための図であり、(a)は転圧ローラの後方に作業者及び湯気が存在する状態を撮像した画像、(b)は1番目のエコーにおける画素ごとの距離を模式的に示す画像、(c)は2番目のエコーにおける画素ごとの距離を模式的に示す画像、(d)は画素ごとにエコーが選択された結果を模式的に示す画像、(e)は物体の識別結果を模式的に示す画像である。
図37の時刻A6における物体検知を説明するための図であり、(a)は転圧ローラの後方に作業者及び湯気が存在する状態を撮像した画像、(b)は1番目のエコーにおける画素ごとの距離を模式的に示す画像、(c)は2番目のエコーにおける画素ごとの距離を模式的に示す画像、(d)は画素ごとにエコーが選択された結果を模式的に示す画像、(e)は物体の識別結果を模式的に示す画像である。
【発明を実施するための形態】
【0010】
本発明の実施形態に係る物体検知装置について、当該物体検知装置を建設車両としての転圧ローラに適用した場合を例にとり、図面を参照して詳細に説明する。同一の構成には同一の符号を付し、重複する説明を省略する。各図において、上下、左右、前後といった方向を表す表現は、転圧ローラを基準とする。
(【0011】以降は省略されています)
この特許をJ-PlatPat(特許庁公式サイト)で参照する
関連特許
酒井重工業株式会社
建設車両
2日前
酒井重工業株式会社
物体検知装置
17日前
酒井重工業株式会社
物体検知装置
17日前
JIG-SAW株式会社
施工システム、施工方法、および建設機械
2か月前
個人
視触覚センサ
2日前
個人
採尿及び採便具
1か月前
日本精機株式会社
検出装置
1か月前
個人
高精度同時多点測定装置
1か月前
個人
計量機能付き容器
27日前
株式会社カクマル
境界杭
17日前
株式会社ミツトヨ
測定器
1か月前
甲神電機株式会社
電流検出装置
1か月前
日本精機株式会社
発光表示装置
10日前
ユニパルス株式会社
トルク変換器
2日前
株式会社トプコン
測量装置
9日前
ユニパルス株式会社
トルク変換器
2日前
ユニパルス株式会社
トルク変換器
2日前
アズビル株式会社
電磁流量計
1か月前
大成建設株式会社
風洞実験装置
27日前
ローム株式会社
半導体装置
1か月前
ローム株式会社
半導体装置
1か月前
日本信号株式会社
距離画像センサ
1か月前
日本特殊陶業株式会社
ガスセンサ
25日前
個人
計量具及び計量機能付き容器
27日前
大和製衡株式会社
組合せ計量装置
1か月前
大和製衡株式会社
組合せ計量装置
1か月前
愛知時計電機株式会社
ガスメータ
1か月前
日本特殊陶業株式会社
ガスセンサ
2日前
個人
非接触による電磁パルスの測定方法
1か月前
愛知電機株式会社
軸部材の外観検査装置
1か月前
日本特殊陶業株式会社
ガスセンサ
3日前
日本特殊陶業株式会社
ガスセンサ
9日前
双庸電子株式会社
誤配線検査装置
1か月前
個人
システム、装置及び実験方法
1か月前
日本特殊陶業株式会社
センサ
1か月前
日置電機株式会社
絶縁抵抗測定装置
2日前
続きを見る
他の特許を見る