TOP
|
特許
|
意匠
|
商標
特許ウォッチ
Twitter
他の特許を見る
10個以上の画像は省略されています。
公開番号
2025179516
公報種別
公開特許公報(A)
公開日
2025-12-10
出願番号
2024086329
出願日
2024-05-28
発明の名称
切断工法
出願人
サガ・コア&カッター工業株式会社
代理人
個人
主分類
E01C
23/09 20060101AFI20251203BHJP(道路,鉄道または橋りょうの建設)
要約
【課題】 より作業効率が高い切断工法を提供する。
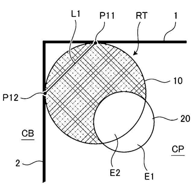
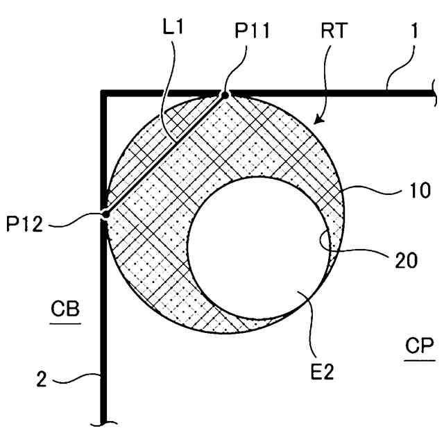
【解決手段】 対をなす第1切断溝1,1を形成した後、切断片部CPの4つの隅部にそれぞれ、相対的に大きい直径の環状の第1環状切断溝10を、第1切断溝1及び第2切断溝2にそれぞれ内接するように形成し、また相対的に小さい直径の第2環状切断溝20を、第1切断溝1及び第2切断溝2にそれぞれ内接するとともに、当該第2環状切断溝20で囲まれる領域の一部が、第1環状切断溝10で囲まれる領域と重畳するように形成し、第2環状切断溝20で囲まれる領域であって、第1環状切断溝10で囲まれる領域と重畳していない、突出した部分についてハツリを実施することによって、連通用凹部RTを形成する。
【選択図】 図2
特許請求の範囲
【請求項1】
適宜厚さで延設された被切断体の所要領域を所要深さで切断して帯板状の切断片部を得るべく、当該切断片部の両長側縁に対応する所要深さの一対の第1切断溝を、被切断体の所定箇所に互いに距離を隔てて平行に形成し、また、前記切断片部の両短側縁に対応する略同じ深さの一対の第2切断溝を、両第1切断溝の両端部間に架設し、両第1切断溝及び一方の第2切断溝に嵌入させたワイヤソーを当該被切断体の表面と平行に移動させる切断工法であって、
前記両第1切断溝を形成した後、切断片部の四隅を構成することとなる4つの隅部にそれぞれ、平面視が環状の第1環状切断溝及び第2環状切断溝を、少なくとも一方の環状切断溝である第1環状切断溝又は第2環状切断溝が、前記切断片部の対応する隅部を構成する一対の第1切断溝及び第2切断溝にそれぞれ内接し、かつ、他方の環状切断溝である第2環状切断溝で囲まれる領域の一部若しくは全部又は第1環状切断溝で囲まれる領域の一部若しくは全部が、一方の環状切断溝である第1環状切断溝で囲まれる領域又は第2環状切断溝で囲まれる領域と重畳するように形成し、
第1環状切断溝で囲まれる領域又は第2環状切断溝で囲まれる領域であって、第2環状切断溝で囲まれる領域又は第1環状切断溝で囲まれる領域と重畳していない適宜部分についてハツリを実施することによって、当該隅部において第1切断溝と第2切断溝とを連通させる連通用凹部を形成するに当たって、
前記切断片部の他方の短側縁側の2つの隅部にあっては、
相対的に大きい直径の第1環状切断溝を、当該隅部を構成する一対の第1切断溝及び第2切断溝にそれぞれ内接するように形成し、
相対的に小さい直径の第2環状切断溝を、当該隅部を構成する第1切断溝に内接するとともに、当該隅部を構成する第2切断溝と交わるように形成し、
第2環状切断溝で囲まれる領域であって、第1環状切断溝で囲まれる領域から突出する部分についてハツリを実施する
ことを特徴とする切断工法。
続きを表示(約 840 文字)
【請求項2】
前記第2環状切断溝の第2切断溝との交点と、前記第1環状切断溝の第2切断溝との接点とを略一致させる請求項1記載の切断工法。
【請求項3】
前記切断片部の一方の短側縁側の2つの隅部にあっては、
相対的に大きい直径の第1環状切断溝を、当該隅部を構成する一対の第1切断溝及び第2切断溝にそれぞれ内接するように形成し、
相対的に小さい直径の第2環状切断溝を、当該隅部を構成する一対の第1切断溝及び第2切断溝にそれぞれ内接するように形成し、
第2環状切断溝で囲まれる領域であって、第1環状切断溝で囲まれる領域から突出する部分についてハツリを実施する
請求項1記載の切断工法。
【請求項4】
前記切断片部の一方の短側縁側の2つの隅部にあっては、
相対的に大きい直径の第1環状切断溝を、当該隅部を構成する一対の第1切断溝及び第2切断溝にそれぞれ内接するように形成し、
相対的に小さい直径の第2環状切断溝を、当該隅部を構成する一対の第1切断溝及び第2切断溝にそれぞれ内接するように形成し、
第2環状切断溝で囲まれる領域であって、第1環状切断溝で囲まれる領域から突出する部分についてハツリを実施する
請求項2記載の切断工法。
【請求項5】
前記第1切断溝及び第2切断溝を円板状の回転ブレードを用いて形成するに当たって、
前記隅部を構成する一対の第1切断溝及び第2切断溝にそれぞれ内接させた第1環状切断溝又は第2環状切断溝と第1切断溝及び第2切断溝との各接点から、当該隅部を構成する第1切断溝と第2切断溝との交点までの寸法を、前記回転ブレードの周縁であって回転ブレードの中心を通る鉛直線上の第1位置と、回転ブレードの周縁であって回転ブレードが被切断体に到達し得る第2位置との間の距離である一部切断領域寸法以上になす
請求項1から4のいずれかに記載の切断工法。
発明の詳細な説明
【技術分野】
【0001】
本発明は、主に伸縮継手を交換する際に実施される切断工法に関する。
続きを表示(約 2,300 文字)
【背景技術】
【0002】
高架橋及び橋梁等にあっては、橋桁を構成する相隣る床板と床板との間、及び、床板の端部を支持する支持躯体と当該床板との間等に遊間が設けられており、この遊間内に伸縮継手を介装させることによって、通行上の安全を図ると共に、床板の温度による伸縮を吸収し得るようになしてあるが、伸縮継手は経年劣化するため、適宜のタイミングで交換する必要がある。伸縮継手を交換するには、当該伸縮継手を含む帯板状の領域の底部を路面と略平行な方向、所謂水平方向へ切断する次のような切断工法が提案されている。
【0003】
図10は、後述する特許文献1に開示された水平切断工法を平面視的に説明する説明図であり、図中Tは、高架橋の遊間部Gに介装された伸縮継手である。また、図11は、図10に示した伸縮継手Tを含みその周囲領域の高架橋の構造を示す一部破断部分斜視図である。なお、両図中、互いに対応する部分には同じ番号が付してある。
【0004】
図10及び図11に示したように、相隣る床板Fと床板Fとの間に遊間部Gが設けてあり、また、コンクリート製の床板F,Fの上面にはそれぞれ1又は複数層(図11にあっては2層)の舗装層H,Hが積層してある。この遊間部G内には伸縮継手Tが介装してあり、該伸縮継手Tは図示しないアンカー筋によって、その上面が舗装層Hの表面と略面一になるように床板F,Fに支持固定されている。このような様態の伸縮継手Tを交換すべく、次のようにして、当該伸縮継手Tを含む適宜領域を所要の深さで帯板状に切断する。
【0005】
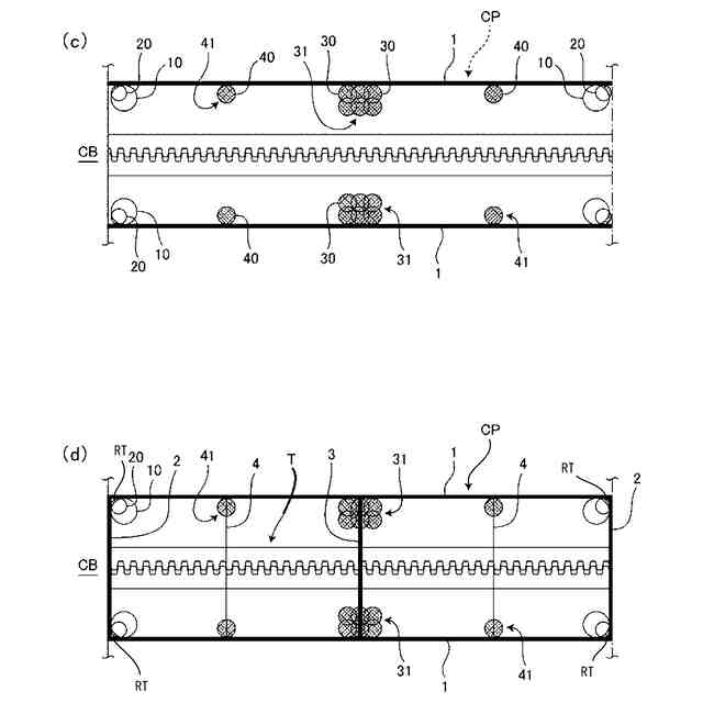
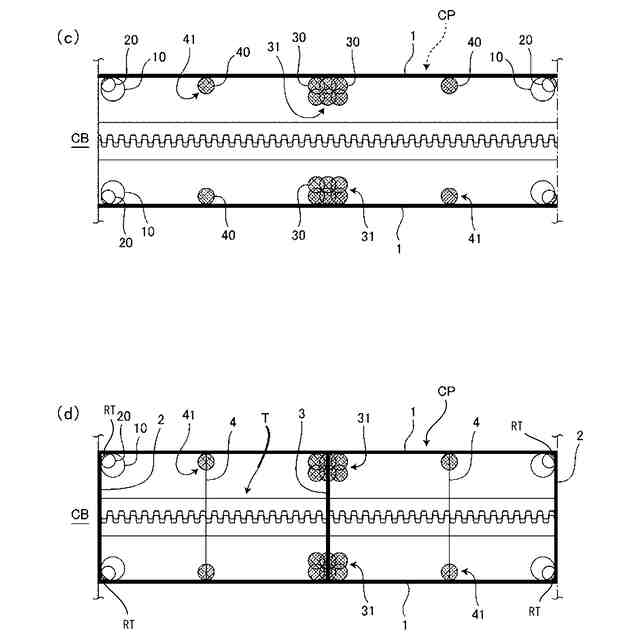
すなわち、相隣る床板F,Fの互いに対峙する端部であって伸縮継手Tから適宜距離隔てた位置にそれぞれ、伸縮継手Tの長手方向と平行な第1切断溝101,101を、伸縮継手Tの厚さ寸法より大きい深さ寸法となるように形成する。この第1切断溝101,101は例えば所要厚さの円板状の回転ブレードにて、舗装層H,Hの厚さ方向の全部及び床板F,Fの厚さ方向の一部を切削することによって形成する。なお、第1切断溝101,101の幅寸法は、環状のワイヤソーの幅寸法より僅かに大きい寸法になしてある。一方、両第1切断溝101,101の内側の位置にそれぞれ補助溝107,107を第1切断溝101,101と平行に設けて、第1切断溝101,101内に挿入させたワイヤソーによる切断時の噛み込みといった支障を解消し得るようになしてある。
【0006】
次に、第1切断溝101,101の間であって両端から所定距離内側の位置にそれぞれ、前記第1切断溝101,101と同じ深さ寸法の第2切断溝102,102を形成することによって、平面視が帯状の切断片部CPを形成する。このとき第1切断溝101,101の両端部はそれぞれ、第2切断溝102,102より外側の位置まで延設された様態になっており、この部分が所謂余切り105,105、105,105として、回転ブレードによる床板F,Fの深さ方向の切断寸法を担保している。
【0007】
次に、切断片部CPの少なくとも四隅に、コアドリルを用いて平面視が環状の環状切断溝110,110,110,110を、前記第1切断溝101,101と同じ深さ寸法であり、かつ、対応する隅を形成する第1切断溝101及び第2切断溝102にそれぞれ連通するように形成する。このとき、コアドリルに用いるコアビットの厚さ寸法は、ワイヤソーの幅寸法より僅かに大きい寸法になしてある。
【0008】
そして、例えば、切断片部CPの長手方向の略中央の位置に、環状のワイヤソーを旋回させて対象物を切断するワイヤソー切断機本体を配置し、ワイヤソー切断機本体から引き出したワイヤソーを、一方の第2切断溝102、その両端に位置する環状切断溝110,110、両環状切断溝110,110にそれぞれ連通する第1切断溝101,101内の底部まで挿入させた後、当該ワイヤソーの深さ位置を保持しながら、ワイヤソーを旋回させつつ、ワイヤソー切断機本体側へ床板F,Fの表面と平行に引き戻すことによって、切断片部CPの一端部側を所要深さで帯板状に切断する。また、切断片部CPの他端部側についても同様の操作を実施することによって、切断片部CPの全長に亘って、所要深さで切断する。なお、ワイヤソーを適宜深さの位置にガイドするガイドプーリを収納させるビット130、切断片部CPの長手方向の略中央の位置で当該切断片部CPを切断するための第3切断溝103等を予め形成しておく。
【0009】
このような切断工法にあっては、隅部に環状切断溝110,110が設けてあるため、切断片部CPの隅部をワイヤソーがスムーズに走行することができるのに加え、ブレーカといった激しい騒音を発するハツリ機を用いることなく、回転ブレード、コアドリル、及びワイヤソーというような比較的静音な様態で作業を行える機器で伸縮継手の切断を実施し得るため、住宅地又はビル等の近くで伸縮継手の交換作業を行った場合であっても、苦情が生じ難いという利点があるものの、厚さ寸法が大きい特殊なコアビットを用いる必要があり、コアビットに要する部品コストが嵩むという問題があった。そのため、次のような水平切断工法が提案されている。
【0010】
図12は、後述する特許文献2に開示された水平切断工法を平面視的に説明する説明図である。なお、図中、図10及び図11に対応する部分には同じ番号が付してある。
(【0011】以降は省略されています)
この特許をJ-PlatPat(特許庁公式サイト)で参照する
関連特許
株式会社熊谷組
床版
7日前
個人
掃除装置
5日前
積水樹脂株式会社
カバー体
5日前
株式会社セイトク
防雪パネル
1か月前
株式会社パロマ
融雪装置
12日前
コスモテック株式会社
表示装置
1か月前
株式会社 林物産発明研究所
道路安全体
20日前
戸田建設株式会社
コンクリート構造
1か月前
西松建設株式会社
耐震補強方法
12日前
戸田建設株式会社
鋼製ブラケットの取付装置
1か月前
サガ・コア&カッター工業株式会社
切断工法
今日
戸田建設株式会社
鋼製ブラケットの取付装置
1か月前
株式会社丸治コンクリート工業所
防護柵
14日前
株式会社川金コアテック
橋梁用鋼弾塑性ダンパー
28日前
個人
充填剤及びそれが充填された人工芝
12日前
鹿島建設株式会社
床版架設方法
1か月前
オリエンタル白石株式会社
補強鋼板及び排土方法
1か月前
鹿島建設株式会社
壁高欄の施工方法
13日前
宮地エンジニアリング株式会社
ワイヤブリッジの設置方法
1か月前
ダンレックス株式会社
表示装置
21日前
株式会社朝日設計事務所
床版橋の梁組合せ床版及び施工方法
12日前
酒井重工業株式会社
建設車両
5日前
信号器材株式会社
塗料供給システム
今日
ワールド開発工業株式会社
センサ用支持体およびロードローラー
6日前
愛知製鋼株式会社
磁気マーカの施工方法および施工用の補助工具
1か月前
清水建設株式会社
床版架設装置および床版架設方法
20日前
日鉄神鋼建材株式会社
可動式柵及び可動式柵の支柱用キャスター
1日前
オリエンタル白石株式会社
馬蹄形ジベルの合成床版撤去工法
1か月前
公益財団法人鉄道総合技術研究所
レール締結用工具
5日前
PUMP MAN株式会社
路面成型補助部材、及び、路面成型方法
1か月前
ミネベアミツミ株式会社
冠水検出ユニット
7日前
日本製鉄株式会社
仮設橋による施工方法
20日前
花王株式会社
アスファルト添加剤組成物
6日前
個人
蓄光性の白色モルタル、その硬化体、及びその硬化体の耐候性強化方法。
5日前
花王株式会社
アスファルト添加剤組成物
6日前
信号器材株式会社
塗料噴出装置および塗布装置
今日
続きを見る
他の特許を見る