TOP
|
特許
|
意匠
|
商標
特許ウォッチ
Twitter
他の特許を見る
公開番号
2025179439
公報種別
公開特許公報(A)
公開日
2025-12-10
出願番号
2024086185
出願日
2024-05-28
発明の名称
塗料供給システム
出願人
信号器材株式会社
,
中日本高速道路株式会社
代理人
個人
主分類
E01C
23/20 20060101AFI20251203BHJP(道路,鉄道または橋りょうの建設)
要約
【課題】区画線施工における仕上がりを均一化する塗料供給システムを提供する。
【解決手段】
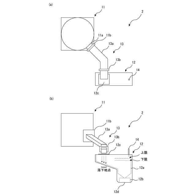
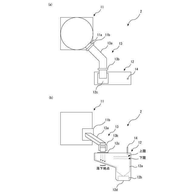
本発明にかかる塗料供給システム2は、塗料を溜めておくための溶解釜11と、溶解釜11から供給される塗料を収容するための塗料ホッパー12aを有する塗布装置12と、溶解釜11から塗料ホッパー12aへ塗料を供給するための流路13aおよび流路13aの途中に塗料の供給量を調整するための第2のシャッター13bを有する塗料供給装置13と、塗布装置12の上部に設置され塗料ホッパー12a内の塗料の液面との距離を計測する測距センサー14と、測距センサー14による測定距離に基づいて第2のシャッター13bを制御することにより塗料の供給量を調整する制御装置15と、を備える。そして、制御装置15は、塗料の供給量の調整を塗料の供給を停止することなく継続的に行う。
【選択図】図2
特許請求の範囲
【請求項1】
区画線施工用の車両に搭載された塗料供給システムであって、
塗料を溶解しこの溶解された塗料を溜めておくためのタンクである溶解釜と、
前記溶解釜から供給される塗料を収容するための塗料ホッパーおよび路面へ塗料を噴射する吹き付け機構を有する塗布装置と、
前記溶解釜から前記塗布装置内の塗料ホッパーへ塗料を供給するための流路、および当該流路の途中に前記塗料ホッパーへ供給する塗料の量(供給量)を調整するための供給量調整用シャッター、を有する塗料供給装置と、
前記塗布装置の上部に設置され前記塗料ホッパー内の塗料の液面との距離を計測する測距センサーと、
前記測距センサーによる測定距離に基づいて前記供給量調整用シャッターを制御することにより前記溶解釜から前記塗布装置への塗料の供給量を調整する制御装置と、
を備え、
前記制御装置は、塗料の供給量の調整を塗料の供給を停止することなく継続的に行う、
ことを特徴とする塗料供給システム。
続きを表示(約 1,000 文字)
【請求項2】
前記制御装置は、
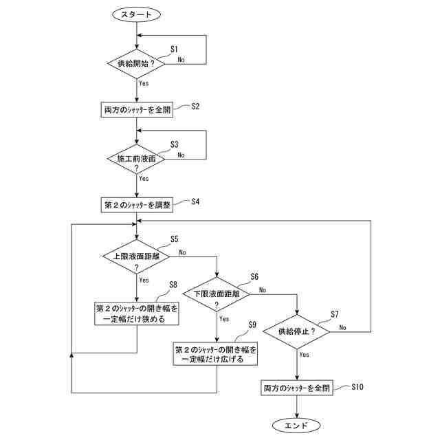
前記塗料ホッパー内の塗料の量が上限に達したときの液面と前記測距センサーとの距離である上限液面距離、および車両速度と塗料の噴出量との対応関係に関する情報、を記憶し、
前記塗料ホッパーへの塗料の供給を開始後、前記測距センサーによる測定距離が前記上限液面距離と一致した時点で、予定走行速度に対応する塗料の噴出量を読み出し、この噴出量と同量の塗料が前記塗料ホッパー内に供給されるように、前記供給量調整用シャッターの開き幅を調整する制御を行う、
ことを特徴とする請求項1に記載の塗料供給システム。
【請求項3】
前記制御装置は、
さらに、前記塗料ホッパー内の塗料の量が下限に達したときの液面と前記測距センサーとの距離である下限液面距離を記憶し、
前記上限液面距離および前記下限液面距離と前記測距センサーによる測定距離が一致するかどうかを監視し、この監視結果に基づいて前記塗料ホッパー内の塗料の液面を前記上限から前記下限までの範囲内に収める、
ことを特徴とする請求項2に記載の塗料供給システム。
【請求項4】
前記溶解釜は、
側面に塗料流出口を設け、さらに、当該塗料流出口に塗料の供給開始時に全開し塗料の供給終了時に全閉する塗料流出用シャッターを取り付けた構造を有し、
前記制御装置は、
塗料の供給開始の指示に従い前記塗料流出用シャッターと前記供給量調整用シャッターとを全開にする制御、および塗料の供給停止の指示に従い前記塗料流出用シャッターと前記供給量調整用シャッターとを全閉にする制御、を行う、
ことを特徴とする請求項3に記載の塗料供給システム。
【請求項5】
前記塗布装置は上部に塗料供給用の開口部を設け、
前記塗料ホッパーは、前記開口部直下の塗料の落下地点が、前記吹き付け機構に向かって斜め下方向に傾斜する形状の有する、
ことを特徴とする請求項1~4のいずれか1つに記載の塗料供給システム。
【請求項6】
前記塗料供給装置は、前記流路の先端が前記開口部の直上に配置され、特定の傾斜に沿って前記流路を流れる一定量の塗料が、前記流路の先端から前記開口部に向かって自然落下する構造を有する、
ことを特徴とする請求項5に記載の塗料供給システム。
発明の詳細な説明
【技術分野】
【0001】
本発明は、区画線(レーンマーク)施工用の塗料を塗布装置に供給する塗料供給システムに関する。
続きを表示(約 1,600 文字)
【背景技術】
【0002】
従来から、路面への区画線施工は、区画線施工用の塗料を塗布するための装置である塗布装置を搭載する車両(トラック等)を使用して行われている。具体的には、路面への吹き付け機構を有する塗布装置から約200℃に加熱された溶解塗料を噴射しながら、車両が移動することによって、区画線施工が行われる。そして、塗布装置から噴射された塗料は、路面で冷やされることによって急速に硬化する。
【0003】
たとえば、区画線施工用の塗料を収容する塗布装置を搭載する車両を使用して路面へ塗料を塗布する技術は、路面区画線設置機械として下記特許文献1により開示されている。
【0004】
この特許文献1には、上記路面区画線設置機械が、路面を移動するトラックと、このトラックに取り付けられ路面に区画線を塗布するペイント塗布機と、トラックの荷台に搭載されペイント塗布機で使用する塗料を備蓄するペイント溶融装置と、このペイント溶融装置からペイント塗布機へ塗料を供給するペイント供給シャッターおよびペイント供給樋と、を備えることが記載されている。
【0005】
また、上記路面区画線設置機械においては、ペイント溶融装置を用いて粉末状のペイント材料を加熱することにより溶融し、この溶融塗料を、ペイント供給樋を介してペイント塗布機に供給している。この際、ペイント塗布機に取付けられたペイント量検出器によってペイント塗布機内の塗料の量が検出され、その検出結果に基づいてペイント供給シャッターを自動開閉することによって、ペイント溶融装置からペイント塗布機へ塗料が供給される。
【先行技術文献】
【特許文献】
【0006】
特開平9-137403号公報
【発明の概要】
【発明が解決しようとする課題】
【0007】
すなわち、上記特許文献1に記載の路面区画線設置機械は、区画線施工において、ペイント塗布機(以後、塗布装置と呼ぶ)内の塗料の量が一定量だけ減少したことを検出した場合にペイント供給シャッターを開けて、塗料を補充し、塗料の量が元の量まで増加した場合にペイント供給シャッターを閉じて、塗料の供給を停止し、この動作を繰り返すことによって、塗布装置内の塗料の量が予め規定した範囲内となるように制御している。
【0008】
しかしながら、上記のように塗料の補充と塗料の供給停止が繰り返し行われると、塗料の供給停止の後、塗料の補充が再開されるタイミングにおいて、ペイント供給樋から塗布装置内への塗料の落下によって液面に波や跳ねが発生し、塗料の液面が一定とならず、塗料の量の検出精度が低下する。そして、塗料の量を正確に把握できないことによって、ペイント供給シャッターの開閉タイミングがずれ、塗布装置内の塗料の量が予め規定した範囲を超えてしまう可能性があった。
【0009】
また、塗料の補充と塗料の供給停止の繰り返しによって、塗布装置内の塗料の量が頻繁に変動(増減)するため、塗布装置の噴出口にかかる圧力も頻繁に変化することになる。そのため、塗布装置の噴出口から一定量の塗料を噴射することができず、すなわち、噴出口にかかる圧力が大きい場合には噴射する塗料の量が増加し、噴出口にかかる圧力が小さい場合には噴射する塗料の量が減少し、その結果、区画線施工における仕上がりが均一化されない。
【0010】
本発明は、上記のような課題に鑑みてなされたものであって、塗布装置内に収容された塗料の液面の状態を安定させつつ、塗料の量の変動(増減)を抑制することができ、これにより、区画線施工における仕上がりを均一化することが可能な塗料供給システム、を提供することを目的とする。
【課題を解決するための手段】
(【0011】以降は省略されています)
この特許をJ-PlatPat(特許庁公式サイト)で参照する
関連特許
信号器材株式会社
塗料供給システム
今日
信号器材株式会社
塗料噴出装置および塗布装置
今日
信号器材株式会社
区画線施工車、施工方法および施工管理プログラム
今日
個人
掃除装置
5日前
株式会社熊谷組
床版
7日前
積水樹脂株式会社
カバー体
5日前
株式会社パロマ
融雪装置
12日前
コスモテック株式会社
表示装置
1か月前
株式会社 林物産発明研究所
道路安全体
20日前
戸田建設株式会社
コンクリート構造
1か月前
サガ・コア&カッター工業株式会社
切断工法
今日
戸田建設株式会社
鋼製ブラケットの取付装置
1か月前
戸田建設株式会社
鋼製ブラケットの取付装置
1か月前
西松建設株式会社
耐震補強方法
12日前
株式会社丸治コンクリート工業所
防護柵
14日前
株式会社川金コアテック
橋梁用鋼弾塑性ダンパー
28日前
個人
充填剤及びそれが充填された人工芝
12日前
鹿島建設株式会社
床版架設方法
1か月前
鹿島建設株式会社
壁高欄の施工方法
13日前
ダンレックス株式会社
表示装置
21日前
株式会社朝日設計事務所
床版橋の梁組合せ床版及び施工方法
12日前
酒井重工業株式会社
建設車両
5日前
信号器材株式会社
塗料供給システム
今日
日鉄神鋼建材株式会社
可動式柵及び可動式柵の支柱用キャスター
1日前
愛知製鋼株式会社
磁気マーカの施工方法および施工用の補助工具
1か月前
ワールド開発工業株式会社
センサ用支持体およびロードローラー
6日前
清水建設株式会社
床版架設装置および床版架設方法
20日前
公益財団法人鉄道総合技術研究所
レール締結用工具
5日前
PUMP MAN株式会社
路面成型補助部材、及び、路面成型方法
1か月前
オリエンタル白石株式会社
馬蹄形ジベルの合成床版撤去工法
1か月前
ミネベアミツミ株式会社
冠水検出ユニット
7日前
花王株式会社
アスファルト添加剤組成物
6日前
花王株式会社
アスファルト添加剤組成物
6日前
個人
蓄光性の白色モルタル、その硬化体、及びその硬化体の耐候性強化方法。
5日前
日本製鉄株式会社
仮設橋による施工方法
20日前
信号器材株式会社
塗料噴出装置および塗布装置
今日
続きを見る
他の特許を見る