TOP
|
特許
|
意匠
|
商標
特許ウォッチ
Twitter
他の特許を見る
10個以上の画像は省略されています。
公開番号
2025150180
公報種別
公開特許公報(A)
公開日
2025-10-09
出願番号
2024050927
出願日
2024-03-27
発明の名称
サクション基礎
出願人
カナデビア株式会社
代理人
個人
,
個人
主分類
E02D
23/00 20060101AFI20251002BHJP(水工;基礎;土砂の移送)
要約
【課題】基礎本体が分割されている場合でも基礎本体の強度を確保する。
【解決手段】サクション基礎100は、天井壁11と天井壁11から所定の軸心Cの方向へ下方に延びる筒状であって水中の地盤Gに貫入される側周壁12とを含む基礎本体10と、天井壁11に連結され、上下方向に延びる柱状のベース2と、軸心Cを中心とする周方向へ間隔を空けて放射状に配置され、ベース2に連結され、ベース2から下方へ拡がる複数の縦壁3とを備えている。天井壁11及び側周壁12のうち少なくとも一方は、周方向へ分割された複数の分割体を含む。複数の縦壁3のうち軸心Cを中心とする径方向の内端部は、ベース2の外周面に連結されている。天井壁11は、ベース2と複数の縦壁3とに連結されている。側周壁12は、天井壁11と複数の縦壁3とに連結されている。
【選択図】図1
特許請求の範囲
【請求項1】
天井壁と前記天井壁から所定の軸心の方向へ下方に延びる筒状であって水中の地盤に貫入される側周壁とを含む基礎本体と、
前記天井壁に連結され、上下方向に延びる柱状のベースと、
前記軸心を中心とする周方向へ間隔を空けて放射状に配置され、前記ベースに連結され、前記ベースから下方へ拡がる複数の縦壁とを備え、
前記天井壁及び前記側周壁のうち少なくとも一方は、前記周方向へ分割された複数の分割体を含み、
前記複数の縦壁のうち前記軸心を中心とする径方向の内端部は、前記ベースの外周面に連結され、
前記天井壁は、前記ベースと前記複数の縦壁とに連結され、
前記側周壁は、前記天井壁と前記複数の縦壁とに連結されているサクション基礎。
続きを表示(約 1,300 文字)
【請求項2】
請求項1に記載のサクション基礎において、
前記天井壁は、前記周方向へ分割された複数の第1分割体を含み、
前記複数の縦壁のうち少なくとも1つの縦壁は、前記複数の第1分割体のうち前記周方向に隣り合う2つの第1分割体の間を通って前記天井壁を貫通し、
前記2つの第1分割体は、前記2つの第1分割体の間を通る前記縦壁に連結されているサクション基礎。
【請求項3】
請求項1に記載のサクション基礎において、
前記側周壁は、前記周方向へ分割された複数の第2分割体を含み、
前記複数の縦壁のうち少なくとも1つの縦壁は、前記複数の第2分割体のうち前記周方向に隣り合う2つの第2分割体の間を通って前記側周壁を貫通し、
前記2つの第2分割体は、前記2つの第2分割体の間を通る前記縦壁に連結されているサクション基礎。
【請求項4】
請求項1に記載のサクション基礎において、
前記天井壁は、前記周方向へ分割された複数の第1分割体を含み、
前記側周壁は、前記周方向へ分割された複数の第2分割体を含み、
前記複数の縦壁のうち少なくとも1つの縦壁は、前記複数の第1分割体のうち前記周方向に隣り合う2つの第1分割体の間を通って前記天井壁を貫通し、且つ、前記複数の第2分割体のうち前記周方向に隣り合う2つの第2分割体の間を通って前記側周壁を貫通し、
前記2つの第1分割体は、前記2つの第1分割体の間を通る前記縦壁に連結され、
前記2つの第2分割体は、前記2つの第2分割体の間を通る前記縦壁に連結されているサクション基礎。
【請求項5】
請求項1に記載のサクション基礎において、
前記天井壁は、前記周方向へ分割された複数の第1分割体を含み、
前記側周壁は、前記周方向へ分割された複数の第2分割体を含み、
前記複数の縦壁のうち前記周方向に隣り合う各2つの縦壁の間には、前記複数の第1分割体のうち一の第1分割体と、前記複数の第2分割体のうち一の第2分割体とが配置され、
前記複数の縦壁の各縦壁は、前記周方向に隣り合う対応する2つの前記第1分割体の間を通って前記天井壁を貫通するとともに前記対応する2つの前記第1分割体に連結され、且つ、前記周方向に隣り合う対応する2つの前記第2分割体の間を通って前記側周壁を貫通するとともに前記対応する2つの前記第2分割体に連結されているサクション基礎。
【請求項6】
請求項1乃至5の何れか1つに記載のサクション基礎において、
前記複数の縦壁のうち少なくとも1つの縦壁において、前記径方向の内側且つ下方の角部が切り欠かれているサクション基礎。
【請求項7】
請求項1乃至5の何れか1つに記載のサクション基礎において、
前記複数の縦壁は、前記周方向に等間隔に配置されているサクション基礎。
【請求項8】
請求項2、4及び5の何れか1つに記載のサクション基礎において、
前記複数の縦壁のうち前記天井壁よりも上方に突出している部分における前記径方向の外側且つ上方の角部が切り欠かれているサクション基礎。
発明の詳細な説明
【技術分野】
【0001】
ここに開示された技術は、サクション基礎に関する。
続きを表示(約 1,700 文字)
【背景技術】
【0002】
特許文献1には、水中の地盤に設置されるサクション基礎が開示されている。サクション基礎は、天井壁と天井壁の外周縁から下方に延びる側周壁とを備えている。天井壁と側周壁とは、基礎本体を構成する。基礎本体の側周壁は、地盤に貫入される。基礎本体の天井壁には、洋上風車等の上部構造物が取り付けられる。
【先行技術文献】
【特許文献】
【0003】
特開2020-23838号公報
【発明の概要】
【発明が解決しようとする課題】
【0004】
ところで、基礎本体は、分割されている場合がある。すなわち、基礎本体は、分割体によって構成されている場合がある。これにより、サクション基礎を組み立てる際において、サイズの小さい分割体を搬送等すればよいため、サクション基礎を容易に組み立てることができる。しかし、基礎本体が分割されている場合、基礎本体の強度が不足する虞がある。
【0005】
ここに開示された技術は、かかる点に鑑みてなされたものであり、その目的とするところは、基礎本体が分割されている場合でも基礎本体の強度を確保することにある。
【課題を解決するための手段】
【0006】
ここに開示されたサクション基礎は、天井壁と前記天井壁から所定の軸心の方向へ下方に延びる筒状であって水中の地盤に貫入される側周壁とを含む基礎本体と、前記天井壁に連結され、上下方向に延びる柱状のベースと、前記軸心を中心とする周方向へ間隔を空けて放射状に配置され、前記ベースに連結され、前記ベースから下方へ拡がる複数の縦壁とを備え、記天井壁及び前記側周壁のうち少なくとも一方は、前記周方向へ分割された複数の分割体を含み、前記複数の縦壁のうち前記軸心を中心とする径方向の内端部は、前記ベースの外周面に連結され、前記天井壁は、前記ベースと前記複数の縦壁とに連結され、前記側周壁は、前記天井壁と前記複数の縦壁とに連結されている。
【発明の効果】
【0007】
基礎本体が分割されている場合でも基礎本体の強度を確保できる。
【図面の簡単な説明】
【0008】
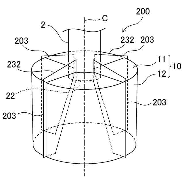
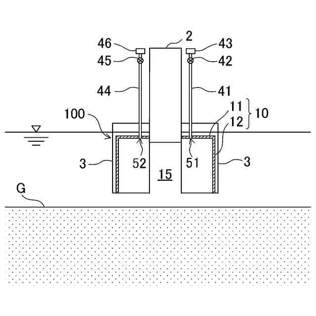
図1は、サクション基礎が設置された状態を模式的に示した説明図である。
図2は、サクション基礎を模式的に示した斜視図である。
図3は、図2のIII-III線における断面図である。
図4は、図2のIV-IV線における断面図である。
図5は、貫入工程前のサクション基礎を示した説明図である。
図6は、貫入工程において、基礎本体が地盤に到達した状態を示した説明図である。
図7は、基礎本体がサクション荷重によって地盤に貫入された状態を示した説明図である。
図8は、変形例に係るサクション基礎を模式的に示した斜視図である。
図9は、側周壁の分割位置の別の例を説明するための断面図である。
図10は、側周壁の分割位置の別の例を説明するための断面図である。
図11は、複数のサクション基礎が設置された状態を模式的に示した説明図である。
【発明を実施するための形態】
【0009】
以下、例示的な実施形態を図面に基づいて詳細に説明する。
【0010】
図1は、サクション基礎100が設置された状態を模式的に示した説明図である。サクション基礎100は、水上又は水中に上部構造物を設置するための基礎であり、水中の地盤Gに沈設される。図1の例では、サクション基礎100は、上部構造物を水上に設置するための基礎である。上部構造物は、例えば風車9である。サクション基礎100は、基礎本体10と、上下方向に延びる柱状のベース2と、ベース2に連結された複数の縦壁3とを備えている。本開示では、2つの部材が連結されているとは、2つの部材が直接連結されている場合のみならず、2つの部材が別の部材を介して間接的に連結されている場合も含む。
(【0011】以降は省略されています)
この特許をJ-PlatPat(特許庁公式サイト)で参照する
関連特許
カナデビア株式会社
サクション基礎
1か月前
カナデビア株式会社
排ガス処理システム
1か月前
カナデビア株式会社
封止装置および電池製造方法
1か月前
カナデビア株式会社
全固体電池およびその製造方法
1か月前
鹿島建設株式会社
塔状構造物
10日前
カナデビア株式会社
電池製造装置および電池製造方法
1か月前
カナデビア株式会社
電池製造装置および電池製造方法
1か月前
カナデビア株式会社
情報処理装置および情報管理システム
1か月前
カナデビア株式会社
積層型電池および積層型電池の製造方法
1か月前
カナデビア株式会社
線形摩擦接合方法および線形摩擦接合装置
1か月前
カナデビア株式会社
全固体電池の製造方法および電池製造装置
1か月前
カナデビア株式会社
吸収転換触媒及び炭化水素化合物の製造方法
2か月前
カナデビア株式会社
情報処理装置、学習方法、および学習プログラム
1か月前
カナデビア株式会社
情報処理装置、学習方法、および学習プログラム
1か月前
カナデビア株式会社
サクション基礎及びサクション基礎の地盤設置方法
1か月前
カナデビア株式会社
ピーニング方法、ピーニング装置および溶接構造物
23日前
カナデビア株式会社
異常判定システム、異常判定方法及び制御プログラム
18日前
カナデビア株式会社
異常検知システム、異常検知方法、及び制御プログラム
2か月前
カナデビア株式会社
樹脂シートの押出成形装置及び樹脂シートの押出成形方法
3か月前
カナデビア株式会社
制御装置、水電解システム、制御方法および制御プログラム
1か月前
カナデビア株式会社
被分離流体が流れる通路形成用の外管及びこれを用いた分離装置
2日前
カナデビア株式会社
情報処理装置、情報処理プログラム、情報処理システムおよび情報端末装置
1か月前
カナデビア株式会社
スケジュール管理装置、スケジュール管理方法、及びスケジュール管理プログラム
2か月前
国立大学法人 奈良先端科学技術大学院大学
データ作成システムおよびデータ作成方法
2か月前
個人
バケット
1か月前
個人
建物の不同沈下の修正方法
1か月前
鹿島建設株式会社
接続方法
11日前
株式会社大林組
操縦装置
1か月前
千代田工営株式会社
回転貫入杭
1か月前
株式会社富田製作所
継手部構造
1か月前
株式会社熊谷組
山留壁用親杭
1か月前
株式会社郷土開発
傾斜地の切土工法
10日前
ウエダ産業株式会社
アタッチメント
2日前
日立建機株式会社
作業機械
1か月前
ヤンマーホールディングス株式会社
作業機械
1か月前
日立建機株式会社
作業車両
1か月前
続きを見る
他の特許を見る