TOP
|
特許
|
意匠
|
商標
特許ウォッチ
Twitter
他の特許を見る
10個以上の画像は省略されています。
公開番号
2025134126
公報種別
公開特許公報(A)
公開日
2025-09-17
出願番号
2024031824
出願日
2024-03-04
発明の名称
立坑壁面の安定化構造及びその施工方法
出願人
日特建設株式会社
代理人
弁理士法人高橋特許事務所
主分類
E21D
9/06 20060101AFI20250909BHJP(地中もしくは岩石の削孔;採鉱)
要約
【課題】ガラス繊維製のテンドンや炭素繊維製のテンドンを用いても、ケーシング抜管の際に共上がりを生じない様な立坑壁面の安定化構造及びその施工方法の提供。
【解決手段】本発明の立坑壁面(10)の安定化構造(100)は、立坑壁面(10)は複数のアンカー(1)で補強されており、アンカー(1)の張力支持部材(2、テンドン)は鉄よりも比重の小さい材料で構成されており、テンドン(2)の地中側先端に錘(4)が設けられており、錘(4)は、掘削孔(H)内に注入材(グラウト材)が充填されていても、テンドン(2)が地上側に移動することなく、錘(4)が地中側最下方に位置した状態を保つことが出来る重量を有し、錘(4)は、掘削機械(20)のカッター(21)と接触した場合にカッター(21)を破損することなく、掘削機械(20)内に取り込める程度の大きさの片(小片)に分割可能に構成されている。
【選択図】図1
特許請求の範囲
【請求項1】
立坑壁面は複数のアンカーで補強されており、
前記アンカーの、張力支持部材は鉄よりも比重の小さい材料で構成されており、
前記張力支持部材には錘が設けられており、
当該錘は、掘削孔内に注入材を充填されていても、張力支持部材が地上側に移動することなく、前記錘を地中側に位置した状態を保つことが出来る重量を有し、
前記錘は、掘削機械の切削部と接触した場合に当該切削部を破損することなく、掘削機械内に取り込める程度の大きさの片に分割可能に構成されていることを特徴とする立坑壁面の安定化構造。
続きを表示(約 910 文字)
【請求項2】
立坑壁面は複数のロックボルトで補強されており、
前記ロックボルトは鉄よりも比重の小さい材料で構成されており、
前記ロックボルトの地中側先端に錘が設けられており、
当該錘は、注入材が充填されている掘削孔内に前記ロックボルトを挿入するに際して、前記ロックボルトが地上側に移動せず、前記錘が地中側最下方に位置することが出来る重量を有し、
前記錘は、掘削機械の切削部と接触した場合に当該切削部を破損することなく、掘削機械内に取り込める程度の大きさの片に分割可能に構成されていることを特徴としている立坑壁面の安定化構造。
【請求項3】
立坑壁面を複数のアンカーで補強する方法において、
前記アンカーの、張力支持部材は鉄よりも比重の小さい材料で構成されており、
錘が設けられている前記張力支持部材を掘削孔内に配置されたケーシング内に挿入する工程を有し、
前記錘は、掘削孔内に注入材を充填されていても、張力支持部材が地上側に移動することなく、前記錘が地中側最下方に位置した状態を保つことが出来る重量を有し、
前記錘は、掘削機械の切削部と接触した場合に当該切削部を破損することなく、掘削機械内に取り込める程度の大きさの片に分割可能に構成されていることを特徴とする立坑壁面の安定化構造の施工方法。
【請求項4】
立坑壁面を複数のロックボルトで補強する方法において、
前記ロックボルトは鉄よりも比重の小さい材料で構成されており、
地中側先端に錘が設けられている前記ロックボルトを注入材が充填された掘削孔内に挿入する工程を有し、
前記錘は、注入材が充填されている掘削孔内に前記ロックボルトを挿入するに際して、前記ロックボルトが地上側に移動せず、前記錘が地中側最下方に位置することが出来る重量を有し、
前記錘は、掘削機械の切削部と接触した場合に当該切削部を破損することなく、掘削機械内に取り込める程度の大きさの片に分割可能に構成されていることを特徴とする立坑壁面の安定化構造の施工方法。
発明の詳細な説明
【技術分野】
【0001】
本発明は、例えばシールド掘削機の発進立坑や到達立坑の様な立坑壁面を安定化する技術に関する。
続きを表示(約 3,000 文字)
【背景技術】
【0002】
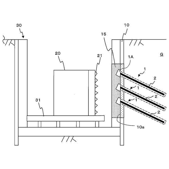
例えば図7で示す様に、シールド掘削機20の発進部であるシールド発進立坑30は切削壁10(立坑壁面)を有しており、切削壁10(立坑壁面)は複数のアンカー1、1・・・により崩落防止がされている。アンカー1はアンカー材2(テンドン:張力支持部材)によって所定の引張力が付与された状態で地盤Gに定着されている。切削壁10の壁面10aにはアンカー1の頭背部1Aが配置され、頭背部1Aは補強壁15により被覆される。切削壁10と補強アンカー1と補強壁15は、シールド掘削機20で切削可能である。
シールド掘削機20は、立坑30の底盤上に設けられた発進架台31上に載置され、カッター21を切羽となる切削壁10の壁面10aに対向させ、シールド掘削機20の中心軸をトンネル中心軸に一致させた状態で配置されている。
【0003】
図8で示す様に、アンカー1は、掘削孔HにケーシングCを挿入し、そのケーシングC内にアンカー材2(テンドン)を挿入し、テンドン2の地中側に拘束長部分2Aを構成し、地上側に自由長部分2Bを構成する。自由長部分2Bの先端にはアンカー1の頭背部1Aが設けられる。符号10は立坑壁面である。
ケーシングCは、単位長さ(例えば1m)の管を接続して構成される。
テンドン2(張力支持部材)は、例えば鋼より線により構成される。近年、テンドン2の素材として、鋼線に比較して遥かに比重の小さいガラス繊維や炭素繊維(より線)が用いられる場合がある。
【0004】
テンドン2に張力を支持する以前の段階で、ケーシングC内にグラウト材を充填して、ケーシングCを地上側に引き抜く(抜管作業)。抜管作業に際しては、ケーシングCは、単位長さの配管1本分の長さだけ地上側に引き上げられる。抜管作業は、最も地上側に位置している単位長さの配管から、1本ずつ順次切り離すことにより行われる。
ここで、従来の鋼より線で構成されたテンドン2は比重が大きいため、グラウト材が注入されても浮力の影響は小さい。そのため、ケーシングCが地上側に引き上げられても、鋼より線のテンドン2は地中側に残存する。
【0005】
しかし、比重の小さいガラス繊維製のテンドン2や炭素繊維製のテンドン2の場合には、ケーシング内にグラウト材を充填すると、グラウト材による浮力がテンドン2を地上側に移動する方向に作用する。その様な場合において、図8で示す様に、抜管作業に際して、ケーシングCを地上側(矢印A方向)に抜き上げると、抜き挙げられたケーシングCと共にテンドン2が地上側に移動して、いわゆる「共上がり」をした状態、或いは「浮き上がる」状態になってしまう。
「共上がり(浮き上がり)」を生じた状態を図9に示す図8と比較すれば明らかな様に、「共上がり」を生じた状態を示す図9では、アンカー頭背部1Aと立坑の切削壁10の壁面10aとの間隔が、図8に比較して遥かに長い。
地上側端部に位置する1本目のケーシングC1を切り離した状態を示す図9において、テンドン2が地上側に移動しており、地中側先端の単位ケーシングCにはテンドン2A(拘束長部分)が存在しない。地中側先端には存在しないテンドン2A*は仮想線で示されている。
テンドン2が「共上がり」をしてしまうと、ケーシングCを引き抜いた区間では掘削孔の孔壁が崩落するので、テンドン2を地中側に押し込むことが出来ない。その様な場合には、再度、掘削孔を削孔して、ケーシングC及びテンドン2を挿入する作業を繰り返さなければならず、立坑30(図7)の壁構造の施工に、多大な遅延と施工コストの増加をもたらしてしまう。
【0006】
従来技術として、シールド掘削機の発進立坑、到達立坑における坑壁の保護に関する技術は種々提案されているが(特許文献1~9参照)、比重の小さい材料製のテンドンに関する上述した「共上がり」の問題を解決する技術は、未だに提案されていない。
【先行技術文献】
【特許文献】
【0007】
特許第7225007号公報
特許第7211779号公報
特許第7136597号公報
特許第7032143号公報
特許第6933520号公報
特許第6220602号公報
特許第6163380号公報
特許第5986479号公報
特開2013-15006号公報
【発明の概要】
【発明が解決しようとする課題】
【0008】
本発明は上述した従来技術の問題点に鑑みて提案されたものであり、ガラス繊維製のテンドンや炭素繊維製のテンドンを用いても、ケーシング抜管の際に共上がりを生じない様な立坑壁面の安定化構造及びその施工方法の提供を目的としている。
【課題を解決するための手段】
【0009】
本発明の立坑壁面(10)の安定化構造(100)は、
(シールド掘削機20の発進立坑30や到達立坑の様な)立坑壁面(10)は複数のアンカー(1)で補強されており、
前記アンカー(1)の、張力支持部材(2:テンドン)は鉄よりも比重の小さい材料(例えばガラス繊維、炭素繊維)で構成されており、
前記張力支持部材(2)には錘(4)が設けられており(例えば、テンドン2の地中側先端に錘4が設けられており)、
当該錘(4)は、掘削孔(H)内に注入材(グラウト材)が充填されていても、張力支持部材(2:テンドン)が地上側に移動することなく、前記錘(4)を地中側に位置した状態を保つことが出来る重量を有し、
前記錘(4)は、掘削機械(20:シールド掘削機、機械式掘削機(TBM)等)の切削部(21:カッター)と接触した場合に当該切削部(21)を破損することなく、掘削機械(20)内に取り込める程度の大きさの片(小片)に分割可能に構成されていることを特徴としている。
【0010】
また本発明の立坑壁面(10)の安定化構造(100-1)は、
(シールド掘削機20の発進立坑30や到達立坑の様な)立坑壁面(10)は複数のロックボルト(3)で補強されており、
前記ロックボルト(3)は鉄よりも比重の小さい材料(例えばガラス繊維、炭素繊維)で構成されており、
前記ロックボルト(3)の地中側先端に錘(4ー1)が設けられており、
当該錘(4ー1)は、注入材(グラウト材)が充填されている掘削孔内に前記ロックボルト(3)を挿入するに際して、前記ロックボルト(3)が地上側に移動せず、前記錘(4ー1)が地中側最下方に位置することが出来る重量を有し、
前記錘(4ー1)は、掘削機械(20:シールド掘削機、機械式掘削機(TBM)等)の切削部(21:カッター)と接触した場合に当該切削部(21)を破損することなく、掘削機械(20)内に取り込める程度の大きさの片(小片)に分割可能に構成されていることを特徴としている。
(【0011】以降は省略されています)
この特許をJ-PlatPat(特許庁公式サイト)で参照する
関連特許
日特建設株式会社
切断装置
13日前
日特建設株式会社
ボーリング装置
6か月前
日特建設株式会社
立坑壁面の安定化構造及びその施工方法
1か月前
日特建設株式会社
高圧噴射撹拌工法で用いられるモニタリング方法
1か月前
株式会社安藤・間
曲がり計測装置、曲がり計測方法
1か月前
株式会社安藤・間
データ通信システム、及びデータ通信方法
1か月前
鹿島建設株式会社
グラウチングシステム
1か月前
鹿島建設株式会社
グラウチングシステム
1か月前
株式会社安藤・間
ボーリング孔監視システム、及びボーリング孔監視方法
1か月前
個人
掘削機
4か月前
日特建設株式会社
切断装置
13日前
株式会社奥村組
地山探査方法
2か月前
株式会社奥村組
地山探査装置
2か月前
株式会社奥村組
地山探査装置
2か月前
株式会社奥村組
地山探査装置
2か月前
株式会社奥村組
シールド掘進機
7か月前
株式会社奥村組
シールド掘進機
5か月前
株式会社笠原建設
横孔形成方法
6か月前
株式会社奥村組
シールド掘進機
1か月前
日特建設株式会社
ボーリング装置
6か月前
花王株式会社
岩盤の掘削方法
4か月前
岐阜工業株式会社
トンネルセントル
1か月前
株式会社奥村組
テールシール試験装置
7か月前
株式会社奥村組
泥土圧シールド掘進機
5か月前
株式会社熊谷組
天井板撤去装置
6か月前
個人
オープンシールド機
2か月前
個人
オープンシールド機
2か月前
株式会社奥村組
セグメントの組立方法
1か月前
個人
掘削機、及び、資源回収システム
6か月前
個人
箱形ルーフおよびその施工法
1か月前
株式会社ケー・エフ・シー
剥落防止構造
7か月前
大阪瓦斯株式会社
牽引装置
5か月前
日特建設株式会社
削孔方法及び削孔装置
7か月前
株式会社金澤製作所
発進坑口のエントランス装置
5か月前
株式会社大林組
インバート更新工法
7か月前
デンカ株式会社
静的破砕方法
2か月前
続きを見る
他の特許を見る