TOP
|
特許
|
意匠
|
商標
特許ウォッチ
Twitter
他の特許を見る
10個以上の画像は省略されています。
公開番号
2025140998
公報種別
公開特許公報(A)
公開日
2025-09-29
出願番号
2024040685
出願日
2024-03-15
発明の名称
浮遊型消波装置
出願人
ヤマト発動機株式会社
代理人
個人
主分類
E02B
3/06 20060101AFI20250919BHJP(水工;基礎;土砂の移送)
要約
【課題】波をより多く減衰させることができるようにした構造にして、極力揺動しないようにし、特に競艇場に設置された場合には衝突しても極力競走艇が傷つかないようにした浮遊型消波装置の提供。
【解決手段】ホームストレッチ側からきた波は外筒5に接触し、その網目を通過する際に減衰されて通過して該外筒5内に侵入した波は、束である内筒6群に接触し、複数の内筒6の網目を通過する際に大幅に減衰される。このとき、一方の透過波減衰部材18Aの網目を通過する際に更に減衰され、一方の透過波減衰部材18Aの網目を通過して特に内筒6C内に正面側から侵入した波は内筒6C外に出て背面側の網目を通過して他方の透過波減衰部材18Bの網目を通過する際にも減衰されて透過し、フロート部材9が配設されていない内筒6及び外筒5のバックストレッチ側の周面により減衰されて透過し浮遊型消波装置1外へと移動する。
【選択図】図4
特許請求の範囲
【請求項1】
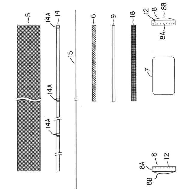
網状体で構成されその網目を透過させて波を減衰させる外筒と、
網状体で構成され前記外筒内に束となって収納され前記外筒の前記網目を透過した波を自己の網目を透過させて減衰させる複数の内筒と、
複数の前記内筒内に挿入される棒状のフロート部材と、
前記外筒内に束となった前記内筒群と交互に配設される複数のフロートと、
複数の前記内筒及び前記フロートが内部に収納された状態の前記外筒の端部がそれぞれ嵌合される開口を備えて他面を閉じた有底中空円筒形状を呈する一対のエンドカバーと、
網状体で構成され前記外筒及び前記内筒の前記網目を透過した波を自己の網目を透過させて減衰させるものであって、前記外筒内に前記水面と平行の並びを列とした場合の同列で並設された一の前記内筒とその上方に位置する前記内筒とに及び同じく前記外筒5内に前記一の前記内筒に並設された他の前記内筒と前記その上方に位置する前記内筒とにそれぞれ外方から跨った状態で複数の固定部材により固定され、それぞれ押し寄せる波側の水面と成す角度が鈍角であり側方から見てハの字形状を呈する一対の透過波減衰部材とを備えたことを特徴とする浮遊型消波装置。
続きを表示(約 1,000 文字)
【請求項2】
網状体で構成されその網目を透過させて波を減衰させる外筒と、
網状体で構成され前記外筒内に束となって収納され前記外筒の前記網目を透過した波を自己の網目を透過させて減衰させる複数の内筒と、
複数の前記内筒内に挿入される棒状のフロート部材と、
前記外筒内に束となった前記内筒群と交互に配設される複数のフロートと、
複数の前記内筒及び前記フロートが内部に収納された状態の前記外筒の端部がそれぞれ嵌合される開口を備えて他面を閉じた有底中空円筒形状を呈する一対のエンドカバーと、
網状体で構成され前記外筒及び前記内筒の前記網目を透過した波を自己の網目を透過させて減衰させるものであって、前記外筒内に前記水面と平行の並びを列とした場合の同列で隣り合って前記外筒内に並設される2本の前記内筒の上に1本の前記内筒を載置した状態で、一方を前記2本の前記内筒のうちの一方の前記内筒の表面部と載置した前記内筒の表面部とに、他方を前記2本の前記内筒のうちの他方の前記内筒の表面部と載置した前記内筒の表面部とにそれぞれ外方から跨った状態で複数の固定部材により固定され、それぞれ押し寄せる波側の水面と成す角度が鈍角であり側方から見てハの字形状を呈する一対の透過波減衰部材とを備えたことを特徴とする浮遊型消波装置。
【請求項3】
網状体で構成されその網目を透過させて波を減衰させる外筒と、
網状体で構成され前記外筒内に束となって収納され前記外筒の前記網目を透過した波を自己の網目を透過させて減衰させる複数の内筒と、
複数の前記内筒内に挿入される棒状のフロート部材と、
前記外筒内に束となった前記内筒群と交互に配設される複数のフロートと、
複数の前記内筒及び前記フロートが内部に収納された状態の前記外筒の端部がそれぞれ嵌合される開口を備えて他面を閉じた有底中空円筒形状を呈する一対のエンドカバーと、
網状体で構成され前記外筒及び前記内筒の前記網目を透過した波を自己の網目を透過させて減衰させるものであって、側方から見て押し寄せる波側の水面と成す角度が鈍角である2つの面を備えて略三角形状を呈し、前記水面と平行の並びを列とした場合の複数列の前記内筒を包む透過波減衰部材とを備えたことを特徴とする浮遊型消波装置。
発明の詳細な説明
【技術分野】
【0001】
本発明は、例えば競艇場、プール、その他河岸、湖、貯水池、海などに設置される浮遊型消波装置に関する。
続きを表示(約 2,700 文字)
【背景技術】
【0002】
従来、競艇場(ボートレース場)等に設置される浮遊型消波装置は、例えば特許文献1などに開示されているが、網状体で構成された外筒内に、同じく網状体で構成された複数の内筒を収納させた浮遊型消波装置であり、競走艇により発生した波を前記外筒内を透過させることにより減衰させ、更に複数の前記内筒内を透過させることにより減衰させる構造が提案されている(特許文献1及び2参照)。
【先行技術文献】
【特許文献】
【0003】
特開2001-164536号公報
特開2004-51051号公報
【発明の概要】
【発明が解決しようとする課題】
【0004】
しかし、水面を遮蔽していないことから、減衰しきれなかった波が透過波として反対側へ通じてしまうと考えられ、またこの浮遊型消波装置は浮力体であって、構造上、この浮遊型消波装置は揺動することで透過波が生じているとも考えられる。前述したように、波を減衰させても、減衰がまだ十分といえるものではなかった。
【0005】
そこで、本発明は波をより多く減衰させることができるようにした構造にして、極力揺動しないようにし、特に競艇場に設置された場合には衝突しても極力競走艇(レース艇)が傷つかないようにした浮遊型消波装置を提供することを目的とする。
【課題を解決するための手段】
【0006】
このため第1の浮遊型消波装置に係る発明は、網状体で構成されその網目を透過させて波を減衰させる外筒と、
網状体で構成され前記外筒内に束となって収納され前記外筒の前記網目を透過した波を自己の網目を透過させて減衰させる複数の内筒と、
複数の前記内筒内に挿入される棒状のフロート部材と、
前記外筒内に束となった前記内筒群と交互に配設される複数のフロートと、
複数の前記内筒及び前記フロートが内部に収納された状態の前記外筒の端部がそれぞれ嵌合される開口を備えて他面を閉じた有底中空円筒形状を呈する一対のエンドカバーと、
網状体で構成され前記外筒及び前記内筒の前記網目を透過した波を自己の網目を透過させて減衰させるものであって、前記外筒内に前記水面と平行の並びを列とした場合の同列で並設された一の前記内筒とその上方に位置する前記内筒とに及び同じく前記外筒5内に前記一の前記内筒に並設された他の前記内筒と前記その上方に位置する前記内筒とにそれぞれ外方から跨った状態で複数の固定部材により固定され、それぞれ押し寄せる波側の水面と成す角度が鈍角であり側方から見てハの字形状を呈する一対の透過波減衰部材とを備えたことを特徴とする。
【0007】
第2の浮遊型消波装置に係る発明は、網状体で構成されその網目を透過させて波を減衰させる外筒と、
網状体で構成され前記外筒内に束となって収納され前記外筒の前記網目を透過した波を自己の網目を透過させて減衰させる複数の内筒と、
複数の前記内筒内に挿入される棒状のフロート部材と、
前記外筒内に束となった前記内筒群と交互に配設される複数のフロートと、
複数の前記内筒及び前記フロートが内部に収納された状態の前記外筒の端部がそれぞれ嵌合される開口を備えて他面を閉じた有底中空円筒形状を呈する一対のエンドカバーと、
網状体で構成され前記外筒及び前記内筒の前記網目を透過した波を自己の網目を透過させて減衰させるものであって、前記外筒内に前記水面と平行の並びを列とした場合の同列で隣り合って前記外筒内に並設される2本の前記内筒の上に1本の前記内筒を載置した状態で、一方を前記2本の前記内筒のうちの一方の前記内筒の表面部と載置した前記内筒の表面部とに、他方を前記2本の前記内筒のうちの他方の前記内筒の表面部と載置した前記内筒の表面部とにそれぞれ外方から跨った状態で複数の固定部材により固定され、それぞれ押し寄せる波側の水面と成す角度が鈍角であり側方から見てハの字形状を呈する一対の透過波減衰部材とを備えたことを特徴とする。
【0008】
第3の浮遊型消波装置に係る発明は、網状体で構成されその網目を透過させて波を減衰させる外筒と、
網状体で構成され前記外筒内に束となって収納され前記外筒の前記網目を透過した波を自己の網目を透過させて減衰させる複数の内筒と、
複数の前記内筒内に挿入される棒状のフロート部材と、
前記外筒内に束となった前記内筒群と交互に配設される複数のフロートと、
複数の前記内筒及び前記フロートが内部に収納された状態の前記外筒の端部がそれぞれ嵌合される開口を備えて他面を閉じた有底中空円筒形状を呈する一対のエンドカバーと、
網状体で構成され前記外筒及び前記内筒の前記網目を透過した波を自己の網目を透過させて減衰させるものであって、側方から見て押し寄せる波側の水面と成す角度が鈍角である2つの面を備えて略三角形状を呈し、前記水面と平行の並びを列とした場合の複数列の前記内筒を包む透過波減衰部材とを備えたことを特徴とする。
【発明の効果】
【0009】
本発明によれば、波をより多く減衰させることができるようにした構造にして、極力揺動しないようにし、特に競艇場に設置された場合には衝突しても極力競走艇(レース艇)が傷つかないようにした浮遊型消波装置を提供することができる。
【図面の簡単な説明】
【0010】
浮遊型消波装置を競艇場に設置した状態を示すための前記競艇場の概略平面図である。
範囲AAは何も破断せず、範囲BBは外筒を破断し、範囲CCは前記外筒及び一部の内筒を破断し、範囲DDは前記外筒を破断した浮遊型消波装置の正面図である。
浮遊型消波装置の分解図である。
浮遊型消波装置を内筒が収納された位置で縦断面した縦断側面図である。
一部破断せる浮遊型消波装置の一端部の正面図である。
ターンマークを連結した浮遊型消波装置の一端部の正面図である。
小回り防止ブイを連結した浮遊型消波装置の一端部の正面図である。
係留バンドの側面図である。
浮遊型消波装置の側面図である。
他の透過波減衰部材の実施形態を示すものであって、浮遊型消波装置を内筒が収納された位置で縦断面した縦断側面図である。
【発明を実施するための形態】
(【0011】以降は省略されています)
この特許をJ-PlatPat(特許庁公式サイト)で参照する
関連特許
ヤマト発動機株式会社
浮遊型消波装置
9日前
個人
鋼管
20日前
FKS株式会社
擁壁
9日前
鈴健興業株式会社
敷板部材
5日前
株式会社奥村組
ケーソン工法
12日前
株式会社クボタ
作業車
7日前
株式会社クボタ
作業車
7日前
個人
擁壁用ブロックおよび擁壁
6日前
株式会社ネクステリア
平板基礎
5日前
株式会社奥村組
ケーソン刃口金物
12日前
株式会社大林組
建物の構造
6日前
株式会社武井工業所
積みブロック
29日前
株式会社大林組
袋体付き排水パイプ
19日前
株式会社大林組
袋体付き排水パイプ
19日前
株式会社熊谷組
地盤改良方法
1日前
株式会社熊谷組
密度計測方法
7日前
日立建機株式会社
作業機械
27日前
ヤマト発動機株式会社
浮遊型消波装置
9日前
大和ハウス工業株式会社
杭抜き先端具
13日前
日立建機株式会社
建設機械
5日前
日立建機株式会社
作業機械
9日前
ゼニヤ海洋サービス株式会社
通船ゲート
19日前
鹿島建設株式会社
接続方法および接続構造
19日前
株式会社フジタ
掘削機
28日前
JFEスチール株式会社
鋼管矢板の継手構造
21日前
JFEスチール株式会社
鋼管矢板の継手構造
21日前
日立建機株式会社
電動式作業機械
5日前
株式会社フジタ
建築物とその施工方法
19日前
有限会社 櫂設計事務所
掘削・撹拌具
1か月前
JFEスチール株式会社
鋼管矢板の継手構造
9日前
株式会社日立建機ティエラ
建設機械
今日
株式会社大林組
建物の構築方法及び建物
19日前
株式会社武井工業所
積みブロック用基礎ブロック
29日前
浙江工業大学
多機能土柱モデル装置及び使用方法
5日前
株式会社小松製作所
作業機械
29日前
株式会社熊谷組
杭頭処理構造、杭頭処理方法
9日前
続きを見る
他の特許を見る