TOP
|
特許
|
意匠
|
商標
特許ウォッチ
Twitter
他の特許を見る
公開番号
2025175189
公報種別
公開特許公報(A)
公開日
2025-11-28
出願番号
2025159846,2022133987
出願日
2025-09-26,2022-08-25
発明の名称
制振建物
出願人
大成建設株式会社
代理人
園田・小林弁理士法人
主分類
E04H
9/02 20060101AFI20251120BHJP(建築物)
要約
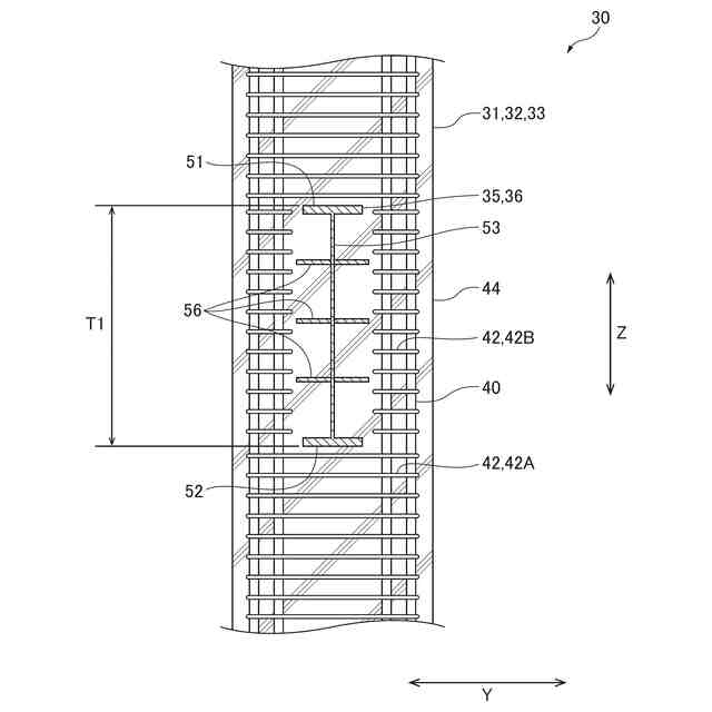
【課題】境界梁が負担するせん断力を、連層耐震壁にスムーズに伝達させることができる構造を、簡易な構成で実現することを可能とする。
【解決手段】制振建物は、複数階に亘って連層耐震壁30が設けられ、同一面内に配置される第1壁柱31、及び第2壁柱32と、第1壁柱31と第2壁柱32を連結する鋼製の第1境界梁35と、を備え、第1境界梁35は、梁端部50の縦断面視がH形状であり、材軸方向Xの梁中央部には振動エネルギー吸収部37が設けられ、梁端部50の各々は、第1壁柱31と第2壁柱32に埋設され、梁端部50のいずれか一方または双方の埋設された部分に、梁側面に水平方向に延在するように水平リブ補強材56が設けられている。
【選択図】図2
特許請求の範囲
【請求項1】
複数階に亘って連層耐震壁が設けられる制振建物であって、
同一面内に配置される複数の壁柱と、
複数の前記壁柱を連結する鋼製の境界梁と、を備え、
前記境界梁の梁中央部には振動エネルギーを吸収する部材が設けられ、
前記境界梁の、前記壁柱に埋設された少なくとも一方の梁端部には、前記境界梁の材軸方向と直交する鉛直面内に延在するように、鉛直支圧板が設けられていることを特徴とする制振建物。
続きを表示(約 95 文字)
【請求項2】
前記壁柱内への前記境界梁の前記梁端部の埋設長さは、当該埋設長さの最小閾値以上であり、及び前記境界梁の梁せい以内であることを特徴とする請求項1に記載の制振建物。
発明の詳細な説明
【技術分野】
【0001】
本発明は、複数階に亘って連続して連層耐震壁が設けられる制振建物に関する。
続きを表示(約 3,200 文字)
【背景技術】
【0002】
建物の耐振性能を高めるための手法の一つとして、連層耐震壁を用いたものがある。
例えば特許文献1には、間隔をあけて配設された連層耐震壁間に設けられた複数の境界梁と、境界梁に設けられた曲げ変形吸収ダンパーと、連層耐震壁に設けられた剪断変形吸収ダンパーと、を備える構成が開示されている。
また、特許文献2には、上部構造物の外周面における同一面内に離間して立設された複数の連層耐震壁と、複数の連層耐震壁同士を接合する複数の境界梁と、を備え、連層耐震壁の下端部は、下部構造物にピン支承されている構成が開示されている。
また、特許文献3には、同一面内に離間して立設された2つの連層耐震壁と、2つの連層耐震壁同士を接合する複数の境界梁と、を備え、各連層耐震壁は、その外側の下端部の一点において下部構造物に回動自在にピン支承され、各連層耐震壁の内側の下端部の他点と下部構造物との間には、エネルギー吸収部材が介設され、複数の境界梁のうちの少なくとも一つは、エネルギー吸収部材を備える構成が開示されている。
【0003】
例えば、上記のような連層耐震壁を鉄筋コンクリートで、及び境界梁をH形鋼で、それぞれ実現する場合において、境界梁に作用するせん断力は、H形鋼のウェブから、フランジを介して、連層耐震壁のコンクリートへと伝達される。ここで、例えば200~300mの高さを有する超々高層建物においては、境界梁の端部の梁せいは、例えば1200mm程度と、非常に大きなものとなる。このような場合においては、ウェブからフランジへと適切にせん断力が伝達されず、フランジの支圧応力が局所的に大きくなる可能性がある。
連層耐震壁のコンクリートに埋設される、境界梁の端部の長さを長くすることで、フランジの支圧応力を分散させてコンクリートに伝達させることも考えられるが、この場合には、境界梁の端部と、連層耐震壁の鉄筋との取り合いが複雑なものとなる。
境界梁が負担するせん断力を、連層耐震壁にスムーズに伝達させることができる構造を、簡易な構成で実現することが望まれている。
【先行技術文献】
【特許文献】
【0004】
特開2000-328810号公報
特許第4124777号公報
特許第4167624号公報
【発明の概要】
【発明が解決しようとする課題】
【0005】
本発明の目的は、境界梁が負担するせん断力を、連層耐震壁にスムーズに伝達させることができる構造を、簡易な構成で実現することが可能な、制振建物を提供することである。
【課題を解決するための手段】
【0006】
本発明は、上記課題を解決するため、以下の手段を採用する。
すなわち、本発明の制振建物は、複数階に亘って連層耐震壁が設けられる制振建物であって、同一面内に配置される複数の壁柱と、複数の前記壁柱を連結する鋼製の境界梁と、を備え、前記境界梁の梁中央部には振動エネルギーを吸収する部材が設けられ、前記境界梁の、前記壁柱に埋設された少なくとも一方の梁端部には、前記境界梁の材軸方向と直交する鉛直面内に延在するように、鉛直支圧板が設けられていることを特徴とする。
このような構成によれば、地震や風などによって作用する水平荷重によって、複数の壁柱の中の、一方の側の壁柱が、他方側の壁柱側へと、傾くように変位しようとすると、他方側の壁柱からの反力が、境界梁を介して一方の側の壁柱の側端部に伝達される。このようにして、一方の壁柱に生じる変形が、他方の壁柱によって低減される。ここで、壁柱の間の相対変位によって、境界梁には、一方の梁端部が上方向へ、他方の梁端部が下方向へと、互いに異なる方向への力が作用する。この境界梁が振動エネルギーを吸収する部材を有していることで、変形のエネルギーが吸収され、壁柱の間に生じる相対変位で減衰効果が高められる。
上記のような作用の際に、境界梁には、せん断力が作用する。ここで、境界梁の梁端部は、境界梁の材軸方向と直交する鉛直面内に延在するように、梁端部に設けられた鉛直支圧板によって、せん断力を、壁柱にスムーズに伝達させることができる。
また、上記のような構造を実現するに際し、境界梁の梁端部の、壁柱に埋設される部分に、鉛直支圧板を設けるだけで済む。これにより、簡易な構成を実現できる。
このようにして、境界梁が負担するせん断力を、連層耐震壁にスムーズに伝達させることができる構造を、簡易な構成で実現することが可能な、制振建物を提供することができる。
【0007】
本発明の一態様においては、前記壁柱内への前記境界梁の前記梁端部の埋設長さは、当該埋設長さの最小閾値以上であり、及び前記境界梁の梁せい以内であることを特徴とする。
このような構成によれば、壁柱内への境界梁の梁端部の埋設長さが、埋設長さの最小閾値以上となっているため、境界梁と壁柱との接合面積が一定以上の値となる。このため、境界梁の梁端部と、壁柱との定着抵抗力が高くなり、壁柱と、境界梁との、一体性を高めることができる。
また、埋設長さは、境界梁の梁せい以内となり、特段に長くならないため、梁端部の埋設された部分と、壁柱の内部の構造との干渉が抑えられ、壁柱の構造が複雑になるのが抑制される。これにより、簡易な構成を実現できる。
【発明の効果】
【0008】
本発明によれば、境界梁が負担するせん断力を、連層耐震壁にスムーズに伝達させることができる構造を、簡易な構成で実現することが可能な、制振建物を提供することができる。
【図面の簡単な説明】
【0009】
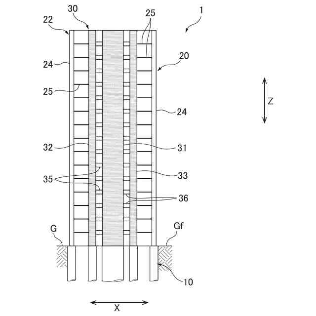
本発明の実施形態に係る制振建物に設けられた連層耐震壁の側面図である。
図1の連層耐震壁の、第1境界梁及び第2境界梁が設けられた部分の拡大図である。
図2の連層耐震壁の、第1境界梁及び第2境界梁が設けられた部分における横断面図である。
図2の連層耐震壁の縦断面図である。
図3の摩擦ダンパーの拡大図である。
本発明の制振建物を構成する3枚の壁柱と、各壁柱間の境界梁による水平荷重に対するせん断抵抗機能を示す図である。
連層耐震壁が変形した状態を示す図である。
上記実施形態の第1変形例に係る制振建物に設けられた連層耐震壁の要部拡大図である。
上記第1変形例の構成に時刻歴応答解析を行った結果の、層間変形角を示す図である。
上記第1変形例の構成に時刻歴応答解析を行った結果の、最大応答変位を示す図である。
【発明を実施するための形態】
【0010】
本発明は、連層耐震壁が設けられる制振建物として、同一面内に配置される第1壁柱、及び第2壁柱と、前記第1壁柱と前記第2壁柱を連結する鋼製の第1境界梁とを備え、前記第1境界梁には、梁中央部に振動エネルギー吸収部が設けられ、梁端部の梁側面に水平リブ補強材が設けられている。
以下、添付図面を参照して、本発明による制振建物を実施するための形態について、図面に基づいて説明する。
本発明の実施形態に係る制振建物に設けられた連層耐震壁の側面図を図1に示す。
図1に示されるように、制振建物1は、基礎構造たる下部構造10と、上部構造20と、を備えている。
この制振建物1は、例えば、地表面Gfからの高さが、例えば200m程度の超々高層建物とされている。
(【0011】以降は省略されています)
この特許をJ-PlatPat(特許庁公式サイト)で参照する
関連特許
大成建設株式会社
推定方法
1か月前
大成建設株式会社
送電装置
1日前
大成建設株式会社
防振床構造
1日前
大成建設株式会社
木質複合構造
2か月前
大成建設株式会社
風洞実験装置
19日前
大成建設株式会社
地盤計測システム
22日前
大成建設株式会社
ペレット製造装置
1か月前
大成建設株式会社
気体貯蔵放出材料
1日前
大成建設株式会社
摩擦制振ダンパー
2か月前
大成建設株式会社
既存建物の解体方法
1か月前
大成建設株式会社
杭の施工方法および杭
2か月前
大成建設株式会社
床版接合部の設計方法
2か月前
大成建設株式会社
木材性状推定システム
1か月前
大成建設株式会社
炭酸カルシウムの製造装置
1日前
大成建設株式会社
浚渫用施設および浚渫方法
2か月前
大成建設株式会社
足場装置および足場構築方法
1か月前
大成建設株式会社
木材縦弾性係数推定システム
1か月前
大成建設株式会社
土壌改良剤、及び土壌改良方法
1か月前
大成建設株式会社
仮設鋼床版および床版取替工法
25日前
大成建設株式会社
電力供給装置及び電力供給方法
22日前
大成建設株式会社
免震基礎構造およびその構築方法
1か月前
大成建設株式会社
地下水排水構造と地下水排水方法
1か月前
大成建設株式会社
中和処理システムと中和処理方法
1日前
大成建設株式会社
到達立坑における掘進機の回収方法
2か月前
大成建設株式会社
建物の健全性モニタリングシステム
2日前
大成建設株式会社
単杭の極限先端支持力度の評価方法
1か月前
大成建設株式会社
異種コンクリートの切替り特定方法
1か月前
大成建設株式会社
風力発電方法および風力発電システム
9日前
大成建設株式会社
凍結地盤の掘削土の排土装置と排土方法
1か月前
大成建設株式会社
水槽構造物および水槽構造物の施工方法
2か月前
大成建設株式会社
シールド到達構造およびシールド到達方法
2か月前
大成建設株式会社
内空変位計測システム及び内空変位計測方法
1か月前
大成建設株式会社
既設トンネルの坑口補強構造と坑口補強方法
1か月前
大成建設株式会社
消音設計支援システム、防振設計支援システム
1か月前
大成建設株式会社
吊荷向き制御システムおよびブレード設置方法
2か月前
大成建設株式会社
水中不分離性モルタル組成物、及び、その部材
2か月前
続きを見る
他の特許を見る